00195166-0402_SM_D4_EN - 第58页
Service Work Electrical System Measuring the Power Supply U nit 58 Serv ice Manual SIPLACE D4 Terminal panel of the power supply unit 4-6: Terminal panel of the power supply unit The pin assignments of the individual plu…

Service Work
Measuring the Power Supply Unit Electrical System
Service Manual SIPLACE D4
57
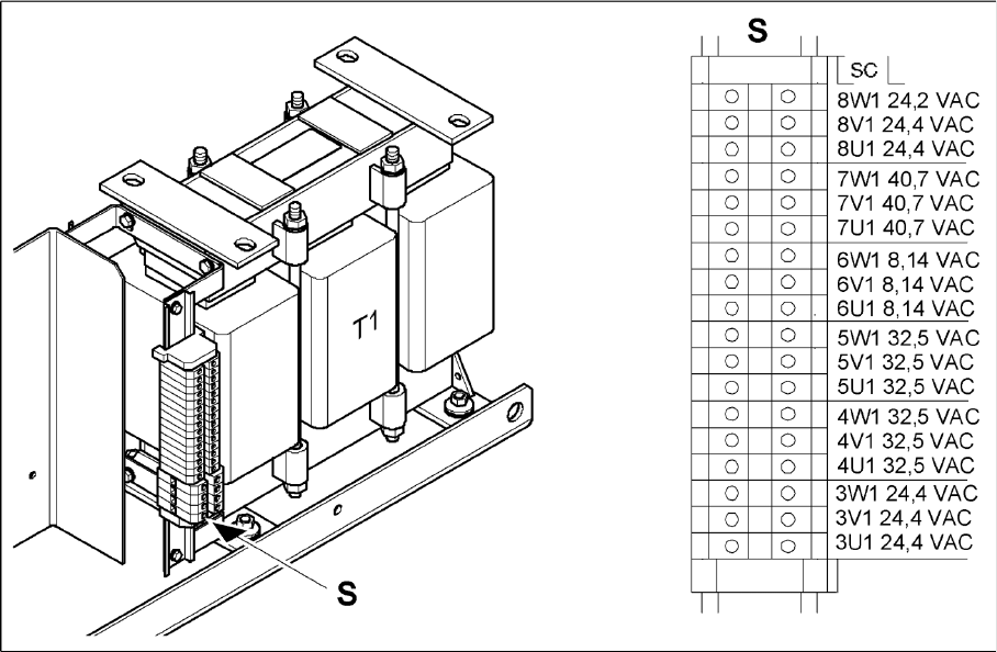
Secondary side of transformer T1
4-5: Secondary terminals of transformer T1
Transformer T1 supplies the following voltages on the secondary side:
3 x 24.4 VAC
3 x 40.7 VAC
3 x 8.14 VAC
3 x 32.5 VAC
3 x 32.5 VAC
3 x 24.4 VAC

Service Work
Electrical System Measuring the Power Supply Unit
58 Service Manual SIPLACE D4
Terminal panel of the power supply unit
4-6: Terminal panel of the power supply unit
The pin assignments of the individual plugs are shown in the detailed circuit diagrams in section 3
"Circuit diagrams".
T1 11.1 kVA three-phase transformer
X14 P200 V - screwed connection M6 (+) for supplying the X/Y axis servo amplifier
X15,16,17, EEP N200 V - screwed connection M8/M6 (-) for supplying the X/Y axis servo amplifier
X2 To the monitor 1, 2
X3 Box PC
X4 Micro Box PC
X5 Main distributor/subdistributor (regulated voltage)
X6 PCB conveyor
X7 Subdistributor (unregulated voltage)
X8 Axis unit 1
X9 Axis unit 2
X10 Main distributor (unregulated voltage)
X12 From/to the main distribution unit, (control signals, power supply)
X13 From/to the main distribution unit, (SSK peripherals)

Service Work
Distributors in Sectors 1-4 Electrical System
Service Manual SIPLACE D4
59
4.1.3 Distributors in Sectors 1-4
4.1.3.1 Replacing parts
The assemblies are located behind the covers in the relevant sectors. The assemblies are fixed to profile
rails and are connected via terminal strips.
X Undo and remove the fastening screws from the relevant cover. Remove the cover.
X Mark the assembly connections for later reference.
X Loosen the assembly connections.
X Lift the assembly off the profile bar. Loosen any fastening screws.
4.1.4 Axis Unit
4.1.4.1 Replacing parts
X End all placement operations with the machine.
X Switch the placement system off at the main switch.
X You can now access the axis unit at the required location (1/4 or 2/3).
Complete Axis Unit
4-7: DIP switch on the backplane
Legend
If the axis unit has been replaced, you will need to configure the axis unit for the relevant installation
position. This involves adjusting the DIP switch on the backplane accordingly.
1 Position of DIP switch on the backplane 3 Setting for axis unit at location 2/3
2 Setting for axis unit at location 1/4