NXTII 安装手册 - 第43页
QD139-03 3. 机器的安装 NXT II 安装手册 31 2. 松开下图中水平调整螺栓的固定螺母。转动水平调整螺栓, 使模组搬运轨道的高度和电 路板的搬运高度相一致。 请一边进行各个测定 处水平仪上的水平度确认, 一边进行作业。 3. 然后,松开基座前侧水平调整螺栓的固定螺母 。旋转前侧水平调整螺栓的下端到碰到地 面位置进行调整。 注意 ) 不要使在前侧水平调整螺栓上受到的机器重量太大,以免影响到基座的水平度。 该前侧螺栓为 将…

3. 机器的安装 QD139-03
30 NXT II 安装手册
3.3 调整水平和基座的固定
请使用水平仪进行调整,在保持基座的水平度的同时,使模组搬运轨道的高度和电路板的搬
运高度相一致。
3.3.1 调整水平方法
1. 拉出模组,在机器后部的测定位置 (研磨面)的 XY 方向上设置水平仪。
警告
可同时拉出一半的模组数量是有限的。(4M-2 基座上最多可拉出 2 台 M3-2 模组,2M-2
基座上最多可拉出 1 台 M3-2 模组)
若拉出的模组数量超过限制台数,整个机器会前倾,有可能会撞伤操作人员。(尤其是
在正面水平调整螺栓还未调整时)
㧨0
ޚ
㧪
∈ᑇҾ∈ᑇҾ
6(76
㧨0
ޚ
㧪
∈ᑇҾ
㒘 㒘 㒘

QD139-03 3. 机器的安装
NXT II 安装手册 31
2. 松开下图中水平调整螺栓的固定螺母。转动水平调整螺栓,使模组搬运轨道的高度和电
路板的搬运高度相一致。请一边进行各个测定处水平仪上的水平度确认,一边进行作业。
3. 然后,松开基座前侧水平调整螺栓的固定螺母。旋转前侧水平调整螺栓的下端到碰到地
面位置进行调整。
注意 ) 不要使在前侧水平调整螺栓上受到的机器重量太大,以免影响到基座的水平度。该前侧螺栓为
将模组拉出时支撑基座的辅助性部件。
4. 确保电路板搬运高度、机器水平度都正确后,请拧紧各锁定螺母。拧紧锁定螺母可能会
导致水平度发生改变。因此拧紧后请再次确认机器的水平度。
注意 ) 锁定螺母必须拧紧。否则机器可能会产生震动,影响贴装精确度。
6(76
㧨0ᑻࠡջ㧪㧨0ᑻࠡջ㧪
∈ᑇ䇗ᭈ㶎ᷧ
䫕ᅮ㶎↡
∈ᑇ䇗ᭈ㶎ᷧ
∈ᑇ䇗ᭈ㶎ᷧ
6(76
䇗ᭈ∈ᑇ㶎ᷧ
㧔
ᑻ೨㧕
䇗ᭈ∈ᑇ㶎ᷧ
㧔ᑻ೨㧕
䫕ᅮ㶎↡
䇗ᭈ∈ᑇ㶎ᷧ
㧔
ᑻ೨㧕
㧨0ᑻ㧪㧨0ᑻ㧪

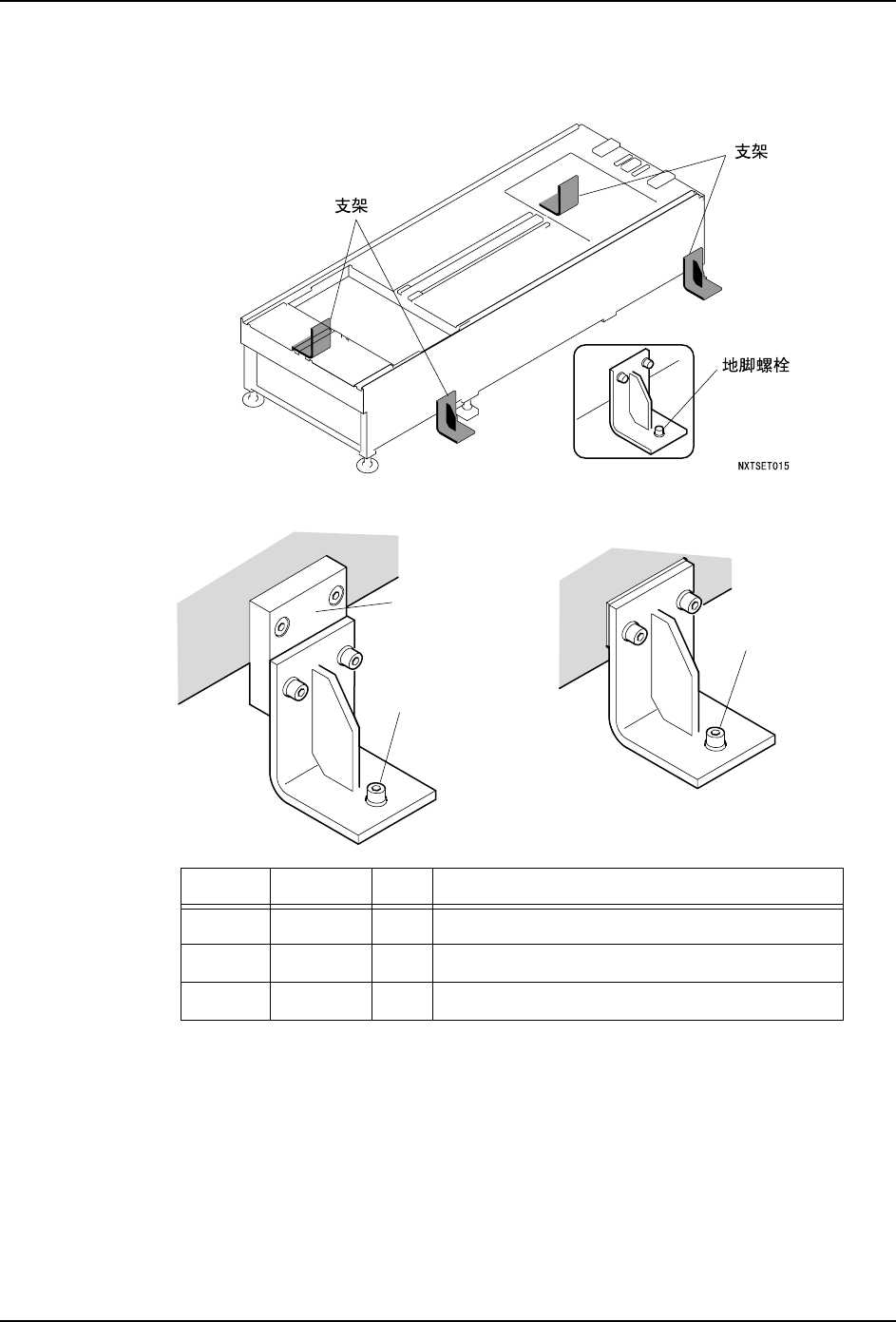
3. 机器的安装 QD139-03
32 NXT II 安装手册
3.3.2 基座的固定< 2M-2 单独使用时>
进行调整水平后,请按照下记的要领,将 2M-2 基座固定到设置位置的地面上。
图号 名称 个数 备注
PB18723 支架 4
PB21792 垫块 4 电路板搬运高度为 912 ~ 965mm 时使用垫块。
H5123B 地脚螺栓 4 9-6-5-M10(Cut Anchor)
ൿഫ
H = 912㨪 mm
H = 900 mm
NXTSET016Sa
ഄ㛮㶎ᷧ
ഄ㛮㶎ᷧ
*+ Ңഄ䴶ࠄ⬉䏃ᵓᨀ䖤ⱘ催ᑺ