NXTII 安装手册 - 第60页
3. 机器的安装 QD139-03 48 NXT II 安装手册 三搬运轨道搭载模组用 RH2136* RH0814*(3 m) RH0816*(3 m) RH0816*(3 m) RH0814*(3 m) LANE1-F CN-M1 CN-M2 LANE1-R 01SET-0310S RH2138* (1.5 m) RH2137* (3 m) RH2139* (5 m) RH2138* (1.5 m) RH2137* (3 m) RH…

QD139-03 3. 机器的安装
NXT II 安装手册 47
3.7.1 信号电缆连接图 (其他机型 -NXT-2- 其他机型)
标准尺寸 (单 / 双搬运轨道搭载模组用)
RH2136*
RH0814*(3 m)
RH0816*(3 m)
RH0816*(3 m)
RH0814*(3 m)
LANE1-F
LANE2-F
CN-M1 CN-M2
LANE2-R
LANE1-R
01SET-0168Sb
(
RH3485*: 2M-2
RH3442*: 4M-2
RH3487*: 2M-2
RH3444*: 4M-2
RH2138* (1.5 m)
RH2137* (3 m)
RH2139* (5 m)
RH2138* (1.5 m)
RH2137* (3 m)
RH2139* (5 m)
RH2135*
(

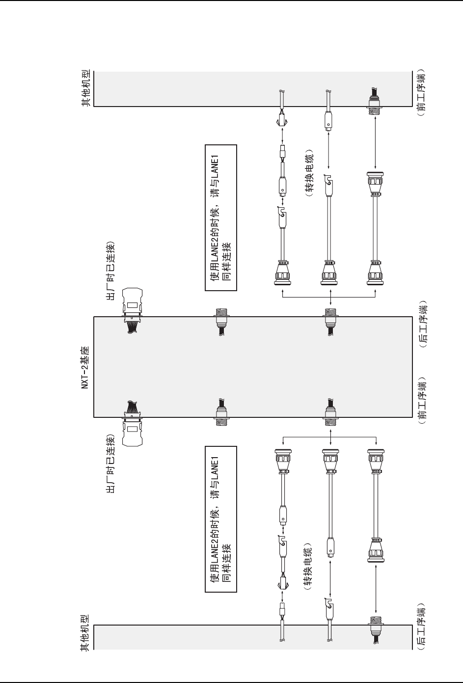
3. 机器的安装 QD139-03
48 NXT II 安装手册
三搬运轨道搭载模组用
RH2136*
RH0814*(3 m)
RH0816*(3 m)
RH0816*(3 m)
RH0814*(3 m)
LANE1-F
CN-M1 CN-M2
LANE1-R
01SET-0310S
RH2138* (1.5 m)
RH2137* (3 m)
RH2139* (5 m)
RH2138* (1.5 m)
RH2137* (3 m)
RH2139* (5 m)
RH2135*
LANE2-F LANE2-R
LANE3-F LANE3-R
(ߎॖᯊᏆ䖲
RH3485*: 2M-2
RH3442*: 4M-2
RH3487*: 2M-2
RH3444*: 4M-2
˄䕀ᤶ⬉㓚˅
1;7ᑻ
݊Ҫᴎൟ
݊Ҫᴎൟ
˄䕀ᤶ⬉㓚˅
(ߎॖᯊᏆ䖲
Փ⫼/$1(ⱘᯊˈ䇋Ϣ/$1(
ৠḋ䖲
Փ⫼/$1(ⱘᯊˈ䇋Ϣ/$1(
ৠḋ䖲
Փ⫼/$1(ⱘᯊˈ䇋Ϣ/$1(
ৠḋ䖲
Փ⫼/$1(ⱘᯊˈ䇋Ϣ/$1(
ৠḋ䖲
˄ࠡᎹᑣッ˅
˄ࠡᎹᑣッ˅
˄ৢᎹᑣッ˅
˄ৢᎹᑣッ˅

QD139-03 3. 机器的安装
NXT II 安装手册 49
3.7.2 连接方法
1. 打开基座后面的盖罩。
2. 将连接电缆 (A 型或 B 型)安装到以下的接插件上。
·使用单搬运轨道搭载模组的时候,前工序和后工序电路板搬运 I/F 筋板的 LANE1
接插件
·使用双搬运轨道搭载模组的时候,前工序和后工序电路板搬运 I/F 筋板的 LANE1、
LANE2 接插件
·使用三搬运轨道搭载模组的时候,前工序和后工序电路板搬运 I/F 筋板的 LANE1、
LANE2、LANE3 接插件
备注 ) 对照前后工序的机器,请灵活使用连接电缆 (A 型或 B 型)和转换导线。
注意
连接及取下接插件时,必须切断电源。
插入接插件时,请确认接插件名称注意不要搞错。接插件要完全插入及准确连接。
接插件要完全插入及准确连接。
ৢ䘧Ꮉᑣ⬉䏃ᵓᨀ䖤,)ㄟᵓৢ䴶Ⲫᵓ
ࠡ䘧Ꮉᑣ⬉䏃ᵓᨀ䖤,)ㄟᵓ
ৢ䴶Ⲫᵓ
6(76D
ᄨ