NPM-D3 parts list - 第382页
54-D 12ノズルヘ ッド:N PM 12 NOZZLE HEAD:NPM パーツレイアウト Kit No. キット 品番 Kit Name キット名称 N610157741AA セクションNo. PARTS LAYOUT Section No. - - O187 ( KN610157741AA-12-4 )

Ref
No.
Remarks R
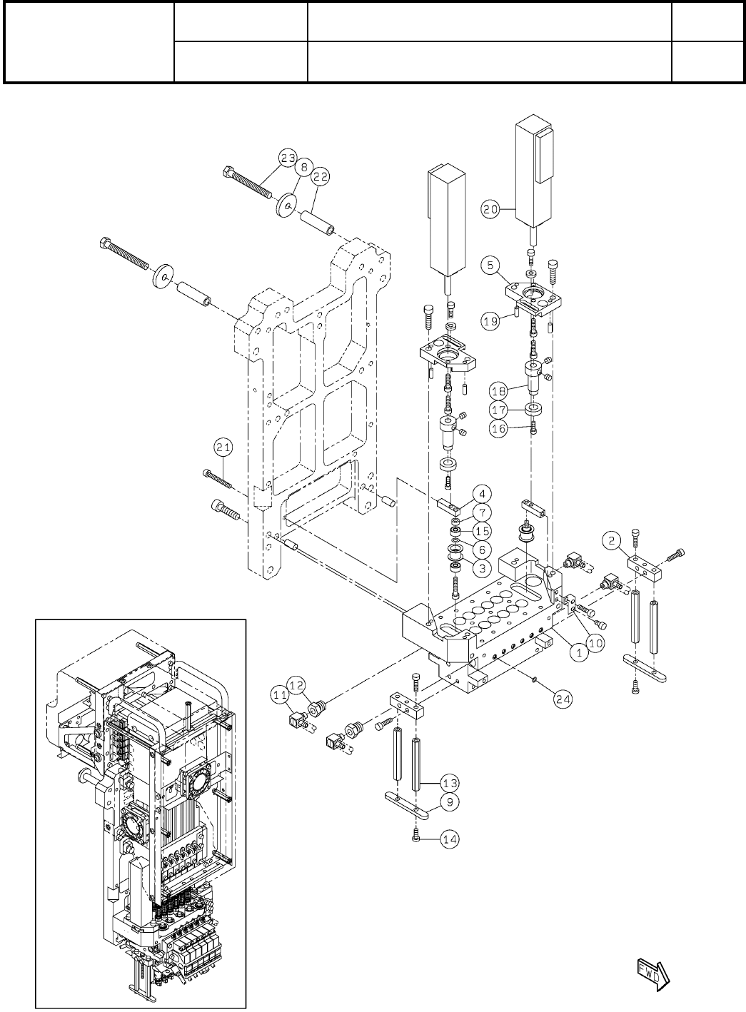
1
Q'ty
54-C
12ノズルヘッド:NPM
12 NOZZLE HEAD:NPM
イラスト
No.
Part No.
品 名品 番 数量
R
2
パーツリスト
Kit No.
キット品番
Kit Name
キット名称
N610157741AA
Part Name
備 考
セクションNo.
PARTS LIST
Section No.
R
3
COLLAR
12
1 N210013388AA
SPRING
24
2 N210016901AB
GUIDE
12
3 N210016902AB
COLLAR
12
4 N210013386AB
NUT
12
5 N210009483AB
COLLAR
12
6 N210013382AB
HOUSING
12
7 N210090621AD
HOLDER
12
8 N210007281AD
PIECE
24
9 N210110221AA
SPRING
12
10 N210068065AA
A
SPRING
12
11 N210014666AC
A
CLAMP-ARM
24
12 N210098763AB
A
NOZZLE HOLDER
12
13 N610067607AE
FILTER
12
14 N610097899AC
TUBE(64mm CUT)
12
15 N610144919AB
BALL-SPLINE
12
16 N510068462AA 2LT4XQZCSS+145.5LP-(M)(13035768X000)
BEARING
12
17 N510067502AA F693JZZMC3 NS7L
WASHER
24
18 N510026562AA MMSRB6-0.5
PULLEY
12
19 N510019396AA P14-2GT-6-33(K0508-005-02)
BEARING
36
20 N510067503AA MR106T12ZZ1MC3 NS7L
JOINT
12
21 N510059099AA M-5AU-4-X179
BEARING
12
22 MTNB000049AA MF63T12ZZMC3 NS7
PACKING
24
23 N555MYA3 MYA-3
SHIM
12
24 N510028628AA RF002004020
BEARING
12
25 N510067507AA MR62JZZMC2 NS7L
PIN
12
26 N510049558AA N2X5-07
BEARING
12
27 N510069003AA MF85CZZMC3 NS7L
SCREW
24
28 XXE25C3FT
Hexagon socket set screw Flat point M2.5X3-45H SOB
O186
--
( KN610157741AA-12-3 )

54-D
12ノズルヘッド:NPM
12 NOZZLE HEAD:NPM
パーツレイアウト
Kit No.
キット品番
Kit Name
キット名称
N610157741AA
セクションNo.
PARTS LAYOUT
Section No.
--
O187
( KN610157741AA-12-4 )

Ref
No.
Remarks R
1
Q'ty
54-D
12ノズルヘッド:NPM
12 NOZZLE HEAD:NPM
イラスト
No.
Part No.
品 名品 番 数量
R
2
パーツリスト
Kit No.
キット品番
Kit Name
キット名称
N610157741AA
Part Name
備 考
セクションNo.
PARTS LIST
Section No.
R
3
BRACKET
1
1 N210126067AA
BLOCK
2
2 N210084290AB
PULLEY
2
3 N210048480AB
BLOCK
2
4 N210070043AA
PLATE
2
5 N210084291AB
COLLER
2
6 N210123391AA
WASHER
2
7 N210117343AA
WASHER
2
8 N210118728AA
GUARD
2
9 N210084292AC
PLATE
1
10 N210070045AA
JOINT
4
11 MTNP000827AA M-5ALU-6-X83
JOINT
2
12 KXF05X7AA00 M-5E
SPACER
4
13 N510031771AA ASU-348
BOLT
4
14 N510067786AA Low Head Cap Screw M3X8-8.8 SOB
BEARING
4
15 N510067504AA 693JZZMC3 NS7L
BOLT
2
16 XVE25B5FTC
Hexagon socket head cap screw M2.5X5-12.9 SOB
BEARING
2
17 N510067505AA MR137ZZMC3 NS7L
PULLEY
2
18 N510032344AA P14-2GT-12-SF(K0610-001-01)
PIN
4
19 N510020589AA MMS3-8
MOTOR
2
20 MTNM000172AA
S
P50B02002BXSMD
BOLT
1
21 N510017322AA
Hexagon socket head cap screw M3X25-10.9 A2J (Trivalent) Full thread
SPACER
2
22 N510031805AA CB-530E
BOLT
2
23 N510017750AA
Hexagon head bolt Best class M5X45-6g 4T A2J (Trivalent)
O-RING
12
24 N554C03700A CO3700A
O188
--
( KN610157741AA-12-4 )