NPM-D3 parts list - 第72页
14 XY軸R側配線:NPM-D3 XY -Ax is Rear Side W iring:NPM-D 3 パーツレイアウト Kit No. キット 品番 Kit Name キット名称 N610157825AA セクションNo. PARTS LAYOUT Section No. - - S51 ( KN610157825AA-01 )

Ref
No.
Remarks R
1
Q'ty
13
XY軸F側配線:NPM-D3
XY-Axis Front Side Wiring:NPM-D3
イラスト
No.
Part No.
品 名品 番 数量
R
2
パーツリスト
Kit No.
キット品番
Kit Name
キット名称
N610157818AA
Part Name
備 考
セクションNo.
PARTS LIST
Section No.
R
3
CABLE-VEYOR
1
1 N510041216AA TKR0200W50R55-TK
CABLE-VEYOR
1
2 N510054891AA TKR0200W60R55-TK(ZC020.2121)
CABLE-SUPPORT
4
3 N210142601AA
CABLE-SUPPORT
4
4 N210142695AA
S50
--
( KN610157818AA-01 )

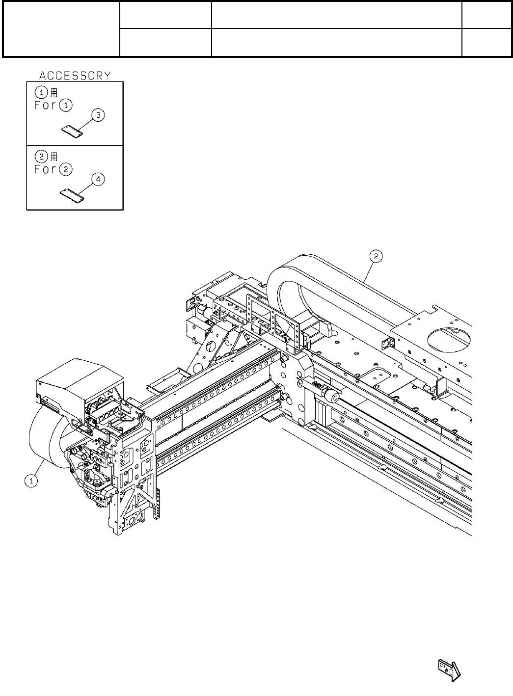
14
XY軸R側配線:NPM-D3
XY-Axis Rear Side Wiring:NPM-D3
パーツレイアウト
Kit No.
キット品番
Kit Name
キット名称
N610157825AA
セクションNo.
PARTS LAYOUT
Section No.
--
S51
( KN610157825AA-01 )

Ref
No.
Remarks R
1
Q'ty
14
XY軸R側配線:NPM-D3
XY-Axis Rear Side Wiring:NPM-D3
イラスト
No.
Part No.
品 名品 番 数量
R
2
パーツリスト
Kit No.
キット品番
Kit Name
キット名称
N610157825AA
Part Name
備 考
セクションNo.
PARTS LIST
Section No.
R
3
CABLE-VEYOR
1
1 N510041216AA TKR0200W50R55-TK
CABLE-VEYOR
1
2 N510054891AA TKR0200W60R55-TK(ZC020.2121)
CABLE-SUPPORT
4
3 N210142601AA
CABLE-SUPPORT
4
4 N210142695AA
S52
--
( KN610157825AA-01 )