NPM-D3 parts list - 第89页
Ref No. Remarks R 1 Q'ty 19-C 全体カバー:NPM-D3 W ho le Cover:NPM-D3 イラスト No. Part No. 品 名 品 番 数量 R 2 パーツリスト Kit No. キット品番 Kit Name キット名称 N610160758AA Part Nam e 備 考 セク ション No . PARTS LIST Section No. R 3 FRAME 1 1 MTPA0…

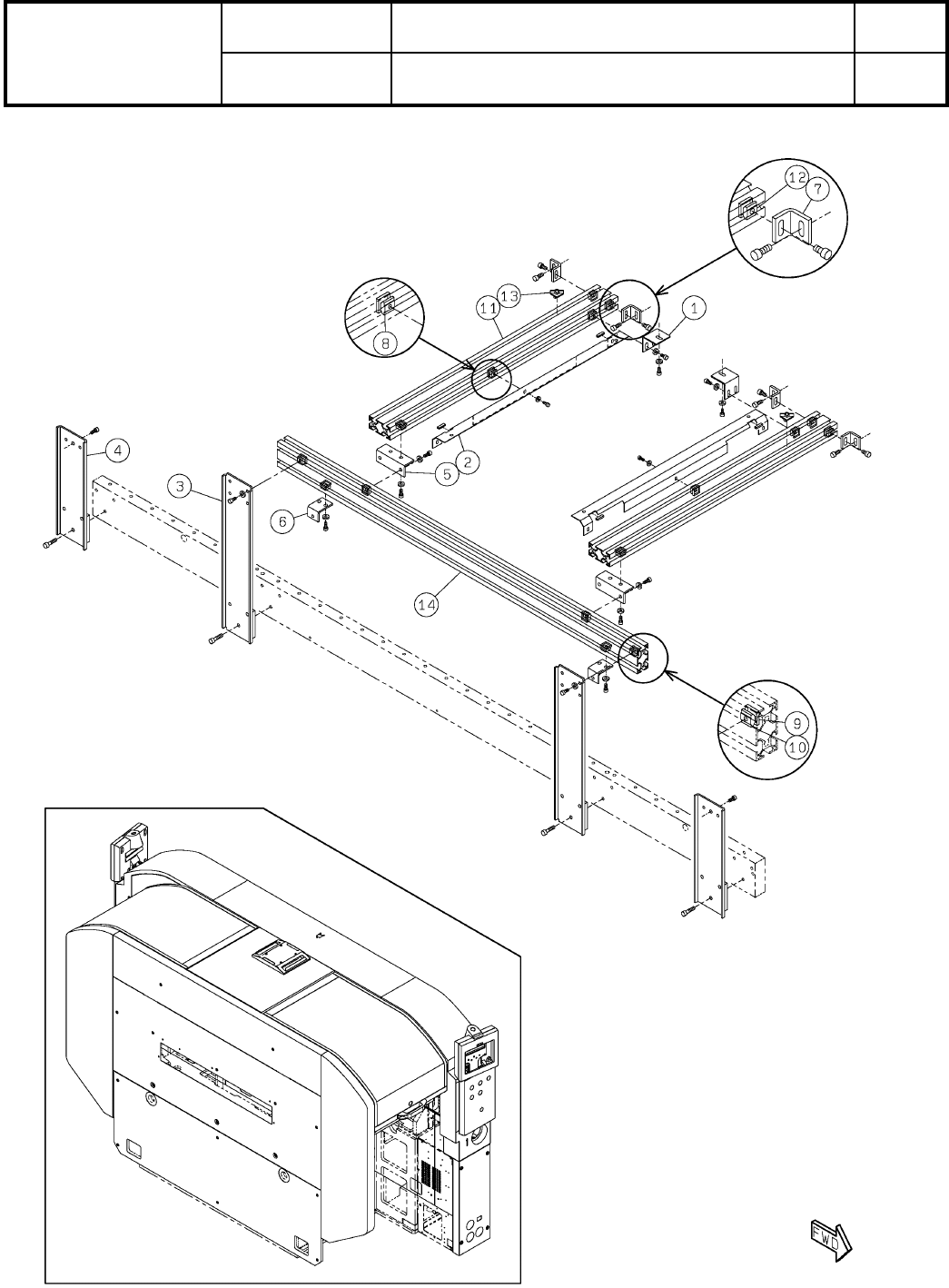
19-C
全体カバー:NPM-D3
Whole Cover:NPM-D3
パーツレイアウト
Kit No.
キット品番
Kit Name
キット名称
N610160758AA
セクションNo.
PARTS LAYOUT
Section No.
--
S67
( KN610160758AA-22-3 )

Ref
No.
Remarks R
1
Q'ty
19-C
全体カバー:NPM-D3
Whole Cover:NPM-D3
イラスト
No.
Part No.
品 名品 番 数量
R
2
パーツリスト
Kit No.
キット品番
Kit Name
キット名称
N610160758AA
Part Name
備 考
セクションNo.
PARTS LIST
Section No.
R
3
FRAME
1
1 MTPA018657AA
COVER
1
2 N210191872AC
COVER
1
3 N210189611AA
WASHER
2
4 N210157945AA
WASHER
2
5 N210192150AA
BRACKET
2
6 N210153557AA
BRACKET
2
7 N210192125AB
LEVER
1
8 N210189369AB
BRACKET
1
9 N210191889AA
COVER
1
10 MTPB008917AA
COVER
1
11 N210189375AC
PLATE
2
12 N210189486AA
NUT-PLATE
1
13 N210143038AA
PLATE
1
14 N610165022AA
COVER
1
15 N610161894AA
COVER
1
16 N610161895AB
COVER
2
17 MTKP004731AA
SWITCH
2
18 N510055356AA
S
D4NH-1DBC
SPACER
2
19 N510017089AA CB-304E
WASHER
2
20 N510018472AA
Iron round plain washer 3X10X1.0 (cromeite) A2J (Trivalent)
MAGNET
2
21 N986MC159 MC-159
SCREW
4
22 N510018158AA
Cross recessed Countersunk head machine screw M3X6-4.8 A2J (Trivalent)
SPACER
2
23 N510030906AA CB-350E
BOLT
2
24 N510017336AA
Hexagon socket head cap screw M3X60-10.9 A2J (Trivalent)
CABLE-SUPPORT
2
25 N510048516AA FT3
WASHER
4
26 N510048767AA PSW-0409-08
PULL
1
27 KXF0DX62A00 AP-829-2
BOLT
2
28 MTNK002310AA
Ultra Low Head Cap Screw M4X10-8.8 A2J(Trivalent) (PA-S process)
SCREW
18
29 MTNK002299AA
Cross recessed Truss head machine screw M4X10-4.8 A2J (Trivalent) (PA-
SPACER
2
30 N510030217AA CB-305E
SPACER
2
31 N510021007AA CF-408E
SPACER
2
32 N510068123AA CF-502.5ZE
SCREW
5
34 N510068145AA
Cross recessed Truss head machine screw M4X8-4.8 A2S(Trivalent)(UG-E
SPACER
3
35 N510023836AA CF-403ZE
WASHER
10
36 N510018763AA
Toothed lock washer 4 External toothed Steel Unichrome white (Trivalent)
SCREW
5
37 N510068146AA
Cross recessed Truss head machine screw M4X10-4.8 A2S (Trivalent)(UG-
S68
--
( KN610160758AA-22-3 )

19-D
全体カバー:NPM-D3
Whole Cover:NPM-D3
パーツレイアウト
Kit No.
キット品番
Kit Name
キット名称
N610160758AA
セクションNo.
PARTS LAYOUT
Section No.
--
S69
( KN610160758AA-22-4 )