00190867-01 - 第12页
Nachrüst anleitung Waffl epack- W echsler W PW 3 (Mitnehmer) Ausgabe/Edition 08/96 Retrofitt ing Instructions for the Waffl epack Changer W PC 3 (Driver) Seite/Page 12 von/of 20 Retrofitting Instructions for the 80F/W3 W…

Nachrüstanleitung Wafflepack-Wechsler WPW 3 (Mitnehmer)
Ausgabe/Edition 08/96
Retrofitting Instructions for the Wafflepack Changer WPC 3 (Driver)
Seite/Page 11 von/of 20
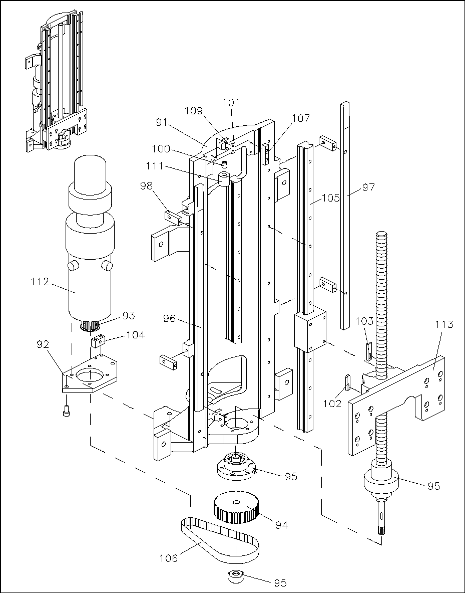
Abbildung 5: Führungsleiste Hubachse
Nachrüstanleitung Wafflepack-Wechsler WPW 3 (Mitnehmer)
Ausgabe/Edition 08/96
Retrofitting Instructions for the Wafflepack Changer WPC 3 (Driver)
Seite/Page 12 von/of 20
Retrofitting Instructions for the 80F/W3 Wafflepack
Changer on the SIPLACE 80F (Danger of the Driver
Crashing)
1 General
The retrofitting instructions describe how to replace the following parts of a wafflepack changer connected to
a SIPLACE 80F:
− Left guide rail of the lifting unit
− Driver of the feed unit
− Murtfeld rail
− Shaft of the feed unit
This change has been incorporated into series production as of machine number 36 (see the type plate of
the WPC 3).
1.1 Required Tools and Testing Equipment
− Standard tools
− Drift (8 mm diameter)
− Belt Tension Measuring Equipment (new) Item no.: 02102784-01
− Test Program for WPC Version 100.04 Item no.: 00190799-01
− Service Instructions for the WPC Item no.: 00190795-01
1.2 Retrofitting Kit Item no.: 00328528-01
The retrofitting kit contains the following:
− Guide Rail for the Lifting Unit Item no.: 00320238-01
− Mounted Driver for the Feed Unit Item no.: 00320094-01
− Murtfeld Rail Item no.: 00320074-01
− Shaft for the Feed Unit Item no.: 00320073-01
− Retrofitting Instructions for the WPC 3 (Danger of Driver Crashing) Item no.: 00190867-01
− Base for Cable Tie Item no.: 00316830-01
− Deep-Groove Ball Bearing (if required, order from AUT5 VS in Munich) Item no.: 00305996-01
− 21 mm Spacing Sleeve (if required, order from AUT5 VS in Munich) Item no.: 00323623-01

Nachrüstanleitung Wafflepack-Wechsler WPW 3 (Mitnehmer)
Ausgabe/Edition 08/96
Retrofitting Instructions for the Wafflepack Changer WPC 3 (Driver)
Seite/Page 13 von/of 20
1.3 Safety
Danger !!!
The machines of the SIPLACE family are supplied with 3 x 400V ± 10% line voltage at 50/60 Hz. Parts of this
system therefore carry dangerous voltages even when the main switch is in the off position. Improper
handling of the machines can result in death or serious injuries as well as considerable damage to property.
Always comply with the relevant accident prevention requirements (particularly EN 60204). Only trained
Siemens service personnel may carry out this retrofitting work.
Before you begin retrofitting work, put the main switch in the off position and disconnect the power plug.
Ensure that the system cannot be switched on again.
If you fail to do this, you run the risk of touching voltage-carrying parts, and this can result in death or serious
injury.
2 Work to Be Carried Out
Preparatory Work:
• Remove all the trays from the WPC.
• Disconnect the power supply of the WPC from the SIPLACE 80F.
• Detach the WPC from the SIPLACE 80F, and set the WPC aside at an angle of 90°. Ensure for
subsequent testing purposes that the connection cables reach the connection sockets on the SIPLACE
machine.
• Remove the front cover by undoing its 3 screws (see part 117 in figure 1).
• Remove the side cover by undoing its 4 screws (see part 115 in figure 1).
• Remove the front plexiglass cover by undoing its 6 screws (see part 34 in figure 3).
2.1 Replacing the Left Guide Rail of the Lifting Unit
• Undo the guide rail’s two screws. Mount the new guide rail (item no. 00320238-01) using the two screws
(see part 96 in figure 5).
2.2 Replacing the Murtfeld Rail
• Remove the proximity switch, the 3 cable ties and the associated bases. Undo the 7 M 4x25 mm screws
of the Murtfeld rail (see part 55 in figure 2). When you install the new Murtfeld rail (item no. 00320074-
01), it is imperative that you replace the old screws with the supplied M 4x22 mm screws. You must also
wet the screws with Loctite 241 (blue).