00190867-01 - 第19页
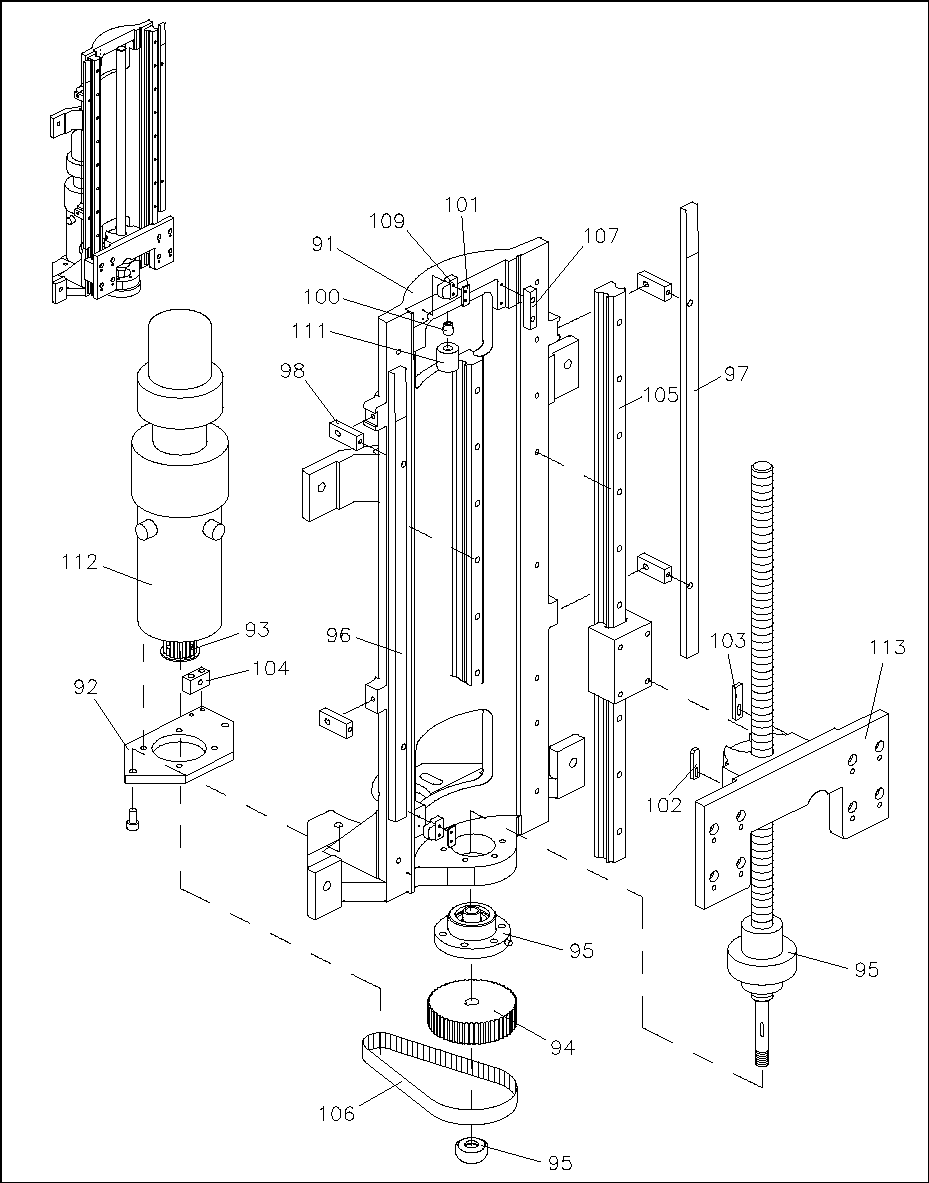
Nachrüst anleitung Waffl epack- W echsler W PW 3 (Mitnehmer) Ausgabe/Edition 08/96 Retrofitt ing Instructions for the Waffl epack Changer W PC 3 (Driver) S eite/Page 19 von/of 20 Figure 4: Feed unit with toothed belt pul…

Nachrüstanleitung Wafflepack-Wechsler WPW 3 (Mitnehmer)
Ausgabe/Edition 08/96
Retrofitting Instructions for the Wafflepack Changer WPC 3 (Driver)
Seite/Page 18 von/of 20
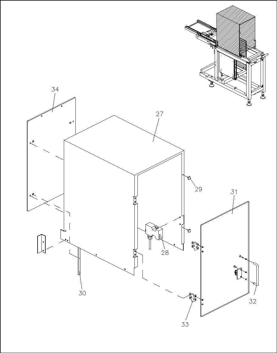
Figure 3: Front plexiglass cover

Nachrüstanleitung Wafflepack-Wechsler WPW 3 (Mitnehmer)
Ausgabe/Edition 08/96
Retrofitting Instructions for the Wafflepack Changer WPC 3 (Driver)
Seite/Page 19 von/of 20
Figure 4: Feed unit with toothed belt pulleys and driver

Nachrüstanleitung Wafflepack-Wechsler WPW 3 (Mitnehmer)
Ausgabe/Edition 08/96
Retrofitting Instructions for the Wafflepack Changer WPC 3 (Driver)
Seite/Page 20 von/of 20
Figure 5: Lifting unit guide rail