Nozzle Changer C P6 SWS (2,4)_20211123_112641 - 第4页
Nozzle Changer C+P6 SWS (2,4) Page 4 / 5 23.11.2021 Pos. Item no. Description Part marking 1 00388142-01 NOZZLE CHANGER C+P6 SWS (2,4) 2 03021079-01 NOZZLE CHANGER SHIM PLATE SPARE PART 3 03004341-02 REJECT DEVICE SPARE …

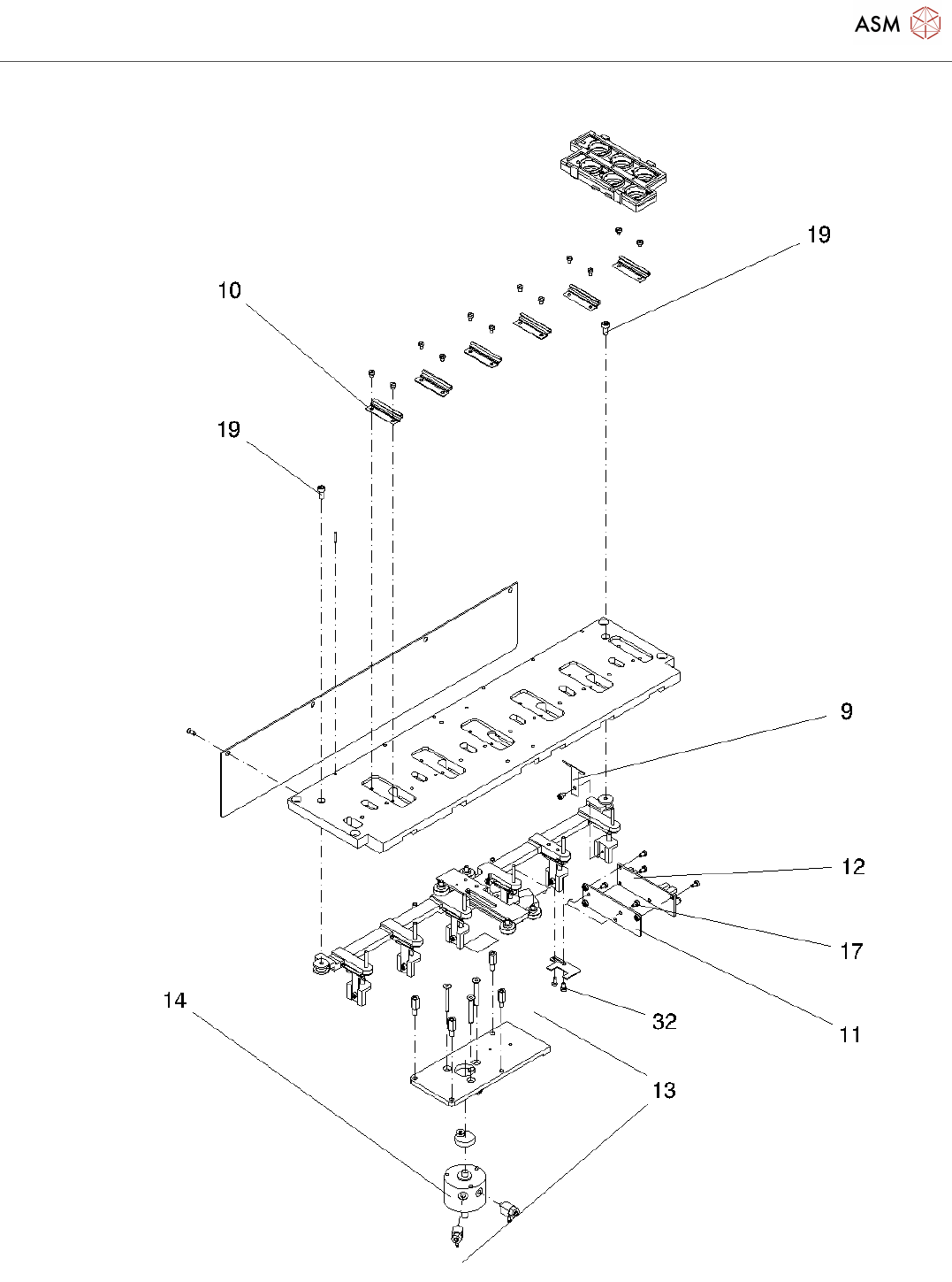
Nozzle Changer C+P6 SWS (2,4)
Page 3 / 5 23.11.2021

Nozzle Changer C+P6 SWS (2,4)
Page 4 / 5 23.11.2021
Pos. Item no. Description Part marking
1 00388142-01 NOZZLE CHANGER C+P6 SWS (2,4)
2 03021079-01 NOZZLE CHANGER SHIM PLATE SPARE PART
3 03004341-02 REJECT DEVICE SPARE PART
4 00310384-01 DIN 965-M2,5 X 6-4.8 STANDARD PARTS
5 00333782-01 DIN 7991-M4 X 20-8.8
6 03004010S02 NOZZLE CHANGER 6, TURNED 90
DEGREES, HF
SPARE PART
00334206S01 VALVE COMPLETE SPARE PART
00310021-01 SILENCER U-M5 NR4645 STANDARD PARTS
9 03002225S01 SPRING HOOK SPARE PART
10 03002224S01 RETAINING CLAW SPARE PART
11 03005182-01 MOUNTING PLATE, CONTROL
BOARD
SPARE PART
12 00317353S02 CONTROL UNIT NOZZLE CHANGER SPARE PART
13 03003740-01 DRIVE UNIT PW 6- TURNED
14 03002228S01 SWING DRIVE CRB1BW20-180S SPARE PART
00353007-01 SWIVEL DRIVE CRB1BW SPARE PART
00200335S01 BALL BEARING 3*8*3 619/3-2Z WEAR PART
17 00318495-01 DIN 7984-M3 X 6-A2
00310860-01 SN 213307-H-M3 X 3-4.8 STANDARD PARTS
19 03042552-01 ISO 4762 - M 4 X 10-A2-70 STANDARD PARTS
03023239-01 ISO 7046-2-M3 X 8-A2-70-H STANDARD PARTS
00334212-01 KABEL: STEUERPL.
PIPETTENWECHS. - VENTIL
00328842S03 PW6 NOZZLE MAGAZINE F.
NOZZLES TYPE 8XX
SPARE PART
00328843S03 NOZZLE MAGAZINE FOR NOZZLE
TYPE 7XX
SPARE PART
00334552S01 HOSE 4*2,5 PUR TU 0425 BU-20 CONSUMABLE
03006732-01 COMPRESSED AIR TUBE VALVE -
ROTARY CYL. L=135
00334552S01 HOSE 4*2,5 PUR TU 0425 BU-20 CONSUMABLE
03006520-01 COMPRESSED AIR TUBE VALVE -
ROTARY CYL. L=105
00334552S01 HOSE 4*2,5 PUR TU 0425 BU-20 CONSUMABLE
03009900-01 PACKING FOR NOZZLE CHANGER
DLM2 HF6

Nozzle Changer C+P6 SWS (2,4)
Page 5 / 5 23.11.2021
Pos. Item no. Description Part marking
03009897-01 HOODED LID BOX 505X185X160
03009898-01 FOAMED PLASTIC WITH COVER
32 00201426-01 SLOTTED CHEESE HEAD SCREW M3
X 6-A2
33 03039517-02 DETACH. BACKING PLATE F.
NOZZLE REJECT D
34 03039514-02 SHIM PLATE FOR NOZZLE REJECT
DEVICE
SPARE PART
35 03090664-01 NC DETACHABLE BACKING PLATE
(ISO)
Powered by TCPDF (www.tcpdf.org)