P-0146-001.pdf - 第111页
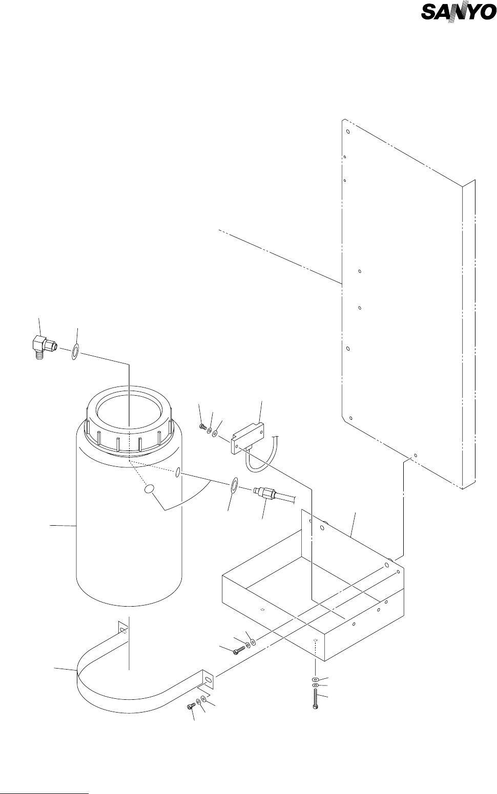
MODEL TPM-100F/R 0102-001 Key No . P AR T No. P AR T NAME Q’ty REMARKS NOTE 109 M-5 40 1 630 044 6333 SENSOR,PROXIMITY 1 BPX083 748M--1 10-401 40 2 630 096 6831 MECH P ARTS (T ANK) 1 748M--1 10-402 40 3 630 096 6800 PIPE…

MODEL TPM-100F/R
0102-001
108
クリーニング部 CLEANING SECTION
Fig. M-5 溶剤タンク Solvent Tank
403
407
407
404
402
468
467
466
401
406
464
465
461
464
465
463
464
465
462
405
Fig.M-5
TPM-100F/R
See Fig.K-5
Key NO.401

MODEL TPM-100F/R
0102-001
Key No. PART No. PART NAME Q’ty REMARKS
NOTE
109
M-5
401 630 044 6333 SENSOR,PROXIMITY 1 BPX083 748M--110-401
402 630 096 6831 MECH PARTS (TANK) 1 748M--110-402
403 630 096 6800 PIPE FITTINGS 2 748M--110-403
404 630 092 8402 PIPE FITTINGS 2 748M--110-404
405 630 091 0230 HOOK 1 748M--110-405
406 630 088 1523 FRAME 1 748M--110-406
407 630 088 1554 SPACER 4 748M--110-407
461 630 000 7671 BOLT,HEX-SCT 2 748M--110-461
462 630 000 7640 BOLT,HEX-SCT 2 748M--110-462
463 630 000 7602 BOLT,HEX-SCT 2 748M--110-463
464 411 141 4008 WASHER V 4X9X0.8 6 748M--110-464
465 411 141 2905 WASHER SPR 4 6 748M--110-465
466 411 119 1909 WASHER V 3X7X0.5 2 748M--110-466
467 411 086 4408 WASHER SPR 3 2 748M--110-467
468 411 042 0703 SCR PAN 3X8 2 748M--110-468

MODEL TPM-100F/R
0102-001
110
ブロアユニット部 BLOWER UNIT SECTION
Fig. MM-1 切替えシャッタ Changeover Shutter
38
36
35
33-01
33-02
37
2
1
2
64
24
32
21
26
70
71
65
23
69
68
14
1
15
10
5
4
7
63
69
68
13
12
63
69
68
13
12
6
See Fig.E-6
Key No.505
8
64
27
75
74
73
72
74
73
22
17
28
30
31
25
40
20
73
73
74
74
72
72
69
68
14
67
61
62
69
68
66
16
D
A
B
68
69
63
11
1
15
1
Fig.MM-1
TPM-100F/R
D
E
A
B
19
18
.
39
41
C
C
E
73
74
72
33