P-0146-001.pdf - 第54页
MODEL TPM-100F/R 0102-001 52 スキージヘッド部 SQUEEGEE HEAD SECTION Fig. FA-4 スキージ上下駆動部 Squeegee Leveller Driver 304 364 363 362 302 301 306 305 361 305 308 31 1 307 361 362 301 310 367 366 368 309 302 See Fig.F A-1 Key No.22 Se…

MODEL TPM-100F/R
0102-001
Key No. PART No. PART NAME Q’ty REMARKS
NOTE
51
FA-3
201 630 007 2303 PLUNGER 2 748FA-110-201
202 630 088 4364 CYLINDER 2 748FA-110-202
203 630 088 4463 PIPE FITTINGS 4 748FA-110-203
204 630 001 1425 BEARING,RADIAL 4 748FA-110-204
205 630 089 2598 SENSOR 2 B001,002 748FA-110-205
206 630 002 3657 SPRING,COMP 4 748FA-110-206
207 630 088 3411 BUSH,BEARING 2 748FA-110-207
208 630 001 0220 WASHER 2 748FA-110-208
209 630 088 0229 BLOCK 2 748FA-110-209
210 630 090 7681 BOSS 2 748FA-110-210
211 630 090 7902 PLATE 2 748FA-110-211
212 630 088 0236 STAY 2 748FA-110-212
213 630 088 0250 PLATE 4 748FA-110-213
214 630 088 0243 SHAFT 2 748FA-110-214
215 630 088 0298 BLOCK 2 748FA-110-215
216 630 091 4832 SPACER 4 748FA-110-216
261 630 000 7572 BOLT,HEX-SCT 4 748FA-110-261
262 630 000 8937 SET SCREW 2 748FA-110-262
263 630 000 7633 BOLT,HEX-SCT 4 748FA-110-263
264 411 141 0307 NUT HEX 4 6 748FA-110-264
265 630 000 7749 BOLT,HEX-SCT 2 748FA-110-265
266 411 141 6705 WASHER SPR 5 2 748FA-110-266
267 411 141 4107 WASHER V 5X10X1 2 748FA-110-267
268 630 000 7886 BOLT,HEX-SCT 8 748FA-110-268
269 630 000 7909 BOLT,HEX-SCT 4 748FA-110-269
270 630 000 7930 BOLT,HEX-SCT 4 748FA-110-270
271 411 141 3001 WASHER SPR 6 4 748FA-110-271
272 411 141 4305 WASHER V 6X12.5X1.6 12 748FA-110-272
273 411 141 0703 NUT HEX 6 4 748FA-110-273

MODEL TPM-100F/R
0102-001
52
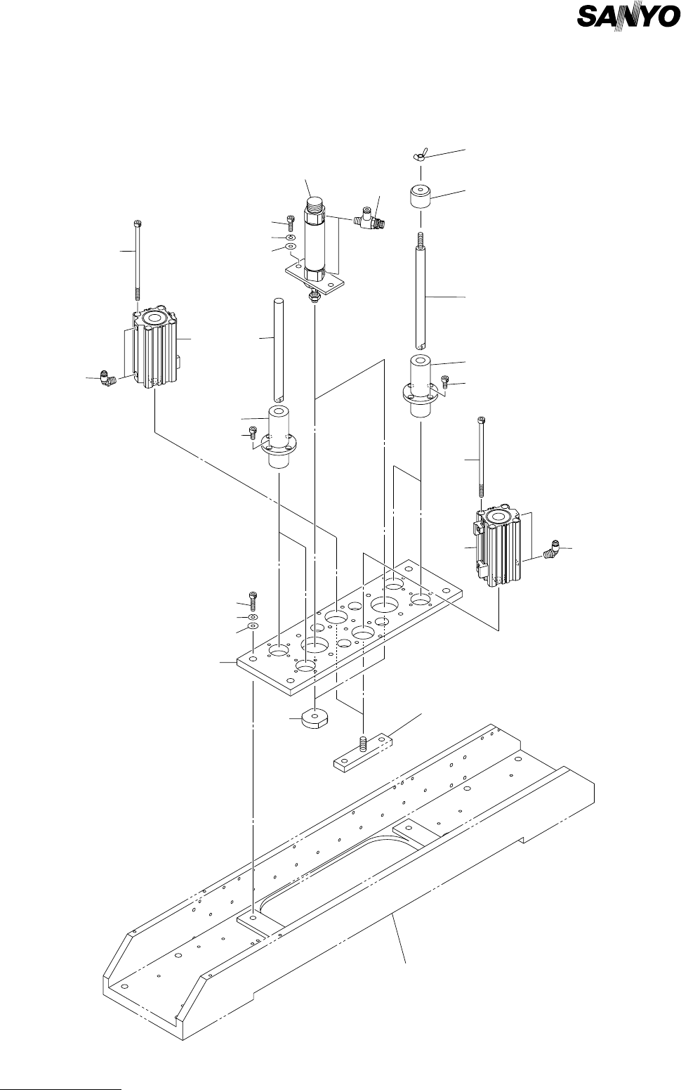
スキージヘッド部 SQUEEGEE HEAD SECTION
Fig. FA-4 スキージ上下駆動部 Squeegee Leveller Driver
304
364
363
362
302
301
306
305
361
305
308
311
307
361
362
301
310
367
366
368
309
302
See Fig.FA-1
Key No.22
See Fig.FA-3
Key No.215
365
303
Fig.FA-4
TPM-100F/R

MODEL TPM-100F/R
0102-001
Key No. PART No. PART NAME Q’ty REMARKS
NOTE
53
FA-4
301 630 088 4326 CYLINDER 2 BPS060,061, BPS062,063
748FA-110-301
302 630 088 4432 PIPE FITTINGS 4 748FA-110-302
303 630 088 4357 CYLINDER 2 748FA-110-303
304 630 003 5155 AIR LINE EQPT 4 748FA-110-304
305 630 088 3978 BUSH,BALL 4 748FA-110-305
306 630 089 0471 SHAFT,LINEAR 2 748FA-110-306
307 411 155 7903 NUT WING 6 2 748FA-110-307
308 630 089 0488 SHAFT,LINEAR 2 748FA-110-308
309 630 088 0304 STAY 1 748FA-110-309
310 630 088 0281 BLOCK 2 748FA-110-310
311 630 094 3382 BUSH,LOCATE 2 748FA-110-311
361 630 000 7626 BOLT,HEX-SCT 16 748FA-110-361
362 630 091 5426 BOLT,HEX-SCT 8 748FA-110-362
363 630 000 7886 BOLT,HEX-SCT 4 748FA-110-363
364 411 141 3001 WASHER SPR 6 4 748FA-110-364
365 411 141 4305 WASHER V 6X12.5X1.6 4 748FA-110-365
366 630 000 8012 BOLT,HEX-SCT 4 748FA-110-366
367 411 141 3100 WASHER SPR 8 4 748FA-110-367
368 411 141 4503 WASHER V 8X17X1.6 4 748FA-110-368