KE-3010A_KE-3020VA_KE-3020VRA-Rev06 - 第105页
- - RE F .NO N O TE PART NO D E S C R I P T I O N Q t y 1 400-47171 LCD B RAC K ET R 1 2 SL-604 10 92- TN SCREW 4 3 400-47170 LCD B RAC K ET F 1 4 SL-604 10 92- TN SCREW 4 5 SD-0640246-SP H INGE S C REW D=6.35 H=2.4 2 …

- -
49.REAR MONITOR COMPONENTS
1 7
2 3
4
3
5
1
7
8
6
2 1
2 2
1 4
1 3
1 2
1 1
1 5
1 0
1 6
2 4
1 8
1 9
2 0
2
9

- -
REF.NO NOTE PART NO D E S C R I P T I O N Qty
1 400-47171 LCD BRACKET R 1
2 SL-6041092-TN SCREW 4
3 400-47170 LCD BRACKET F 1
4 SL-6041092-TN SCREW 4
5 SD-0640246-SP HINGE SCREW D=6.35 H=2.4 2
6 161-87007 WING BOLT 1
7 WP-0641601-SC WASHER 1
8 WS-0610002-KN SPRING WASHER 6.1X12.2X1.5 1
9 401-58158 15INCH LCD MONITOR 1
10 401-47627 ASM_KEYBOARD_UNIT 1
11 SL-4030691-SC SCREW M3 L=6 (2)
12 401-23713 KB CLAMP (1)
13 401-36976 KB_BRACKET (1)
14 401-23194 USB KEY BOARD SP ASM (1)
15 SL-6041092-TN SCREW 2
16 401-41515 USB SELECT PCB ASM 1
17 SL-4030691-SC SCREW M3 L=6 4
18 401-47142 SWITCH_PANEL_USB_CONN_BR 1
19 SL-4021091-SC SCREW M2 L=10 2
20 401-48260 USB CABLE 3M 1
21 HA-0055300-10 LENS GREEN 2
22 HA-0055300-2A BEZEL 2
23 E5348-033-100 CABLE PROTECTOR 106MM 0.16
24 401-47576 USB_SELECTOR_BR 1

- -
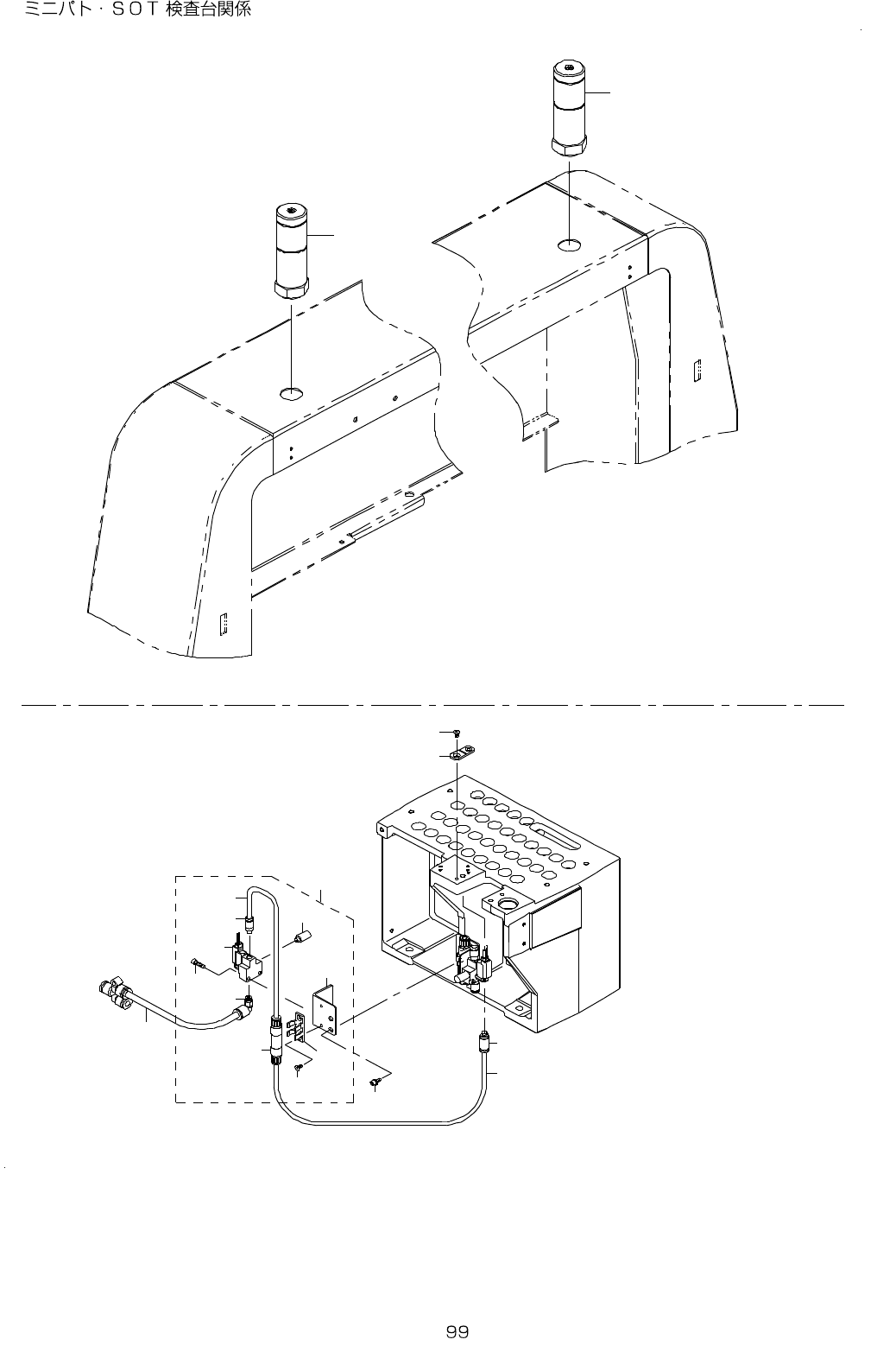
50.MINI PAT & SOT CHECK TABLE COMPONENTS
1
1
5
4
2
1 7
6
1 6
1 5
1 0
1 1
9
1 3
8
1 2
1 4
1 4
7
3