KE-3010A_KE-3020VA_KE-3020VRA-Rev06 - 第94页
- - 44.B AD M ARK RE A DE R COMPO N E NT S 2 7 2 9 8 1 4 3 6 5

- -
REF.NO NOTE PART NO D E S C R I P T I O N Qty
1 401-47024 AWC_MECHANIC_ASM_V 1
2 E1038-871-000 PLATEN LOCK CAM SCREW (1)
3 400-00768 AWC PULLEY A ASM. (1)
4 E2153-725-000 AWC PULLEY A (1)
5 SM-8040602-TP SCREW M4X0.7 L=6 (2)
6 400-00769 AWC PULLEY B ASM. (1)
7 E2154-725-000 AWC PULLEY B (1)
8 SM-8040402-TP SCREW M4X0.7 L=4 (2)
9 SM-8040602-TP SCREW M4X0.7 L=6 (2)
10 LS-6030692-TN SCREW M3 L=6 (2)
11 401-47054 SENSOR_BR_AWC (2)
12 SL-6030892-TN SCREW M3 L=8 (4)
13 401-29058 SEPARATE SENSOR EMISSION ASM (1)
14 401-29057 SEPARATE SENSOR RECEIVER ASM (1)
15 SL-4031291-SC SCREW M3X12 (4)
16 400-48077 AWC MOTOR ASM (1)
17 E2163-725-000 AWC BRACKET E (1)
18 E2160-725-000 AWC BELT (E) (1)
19 E2161-725-000 AWC OP DOG (E) (1)
20 SL-6030692-TN BOLT (2)
21 401-47025 AWC_SENSOR_BR_B_E (1)
22 SM-4030501-SN SCREW M3 L=5 (1)
23 SL-6041292-TN SCREW (4)
24 SL-4031091-SC SCREW M3 X 10 (2)
25 400-00534 BACK UP DRIV PLATE (1)
26 SL-4041091-SC SCREW M4 L=10 (1)
27 EA-9500B01-00 CABLE BAND (2)
28 HX-0052200-00 SPIRAL TUBE (0.32)
29 400-65488 BU PIN SENSOR DOG (1)
30 SL-6051492-TN BOLT (2)
31
#01
401-47011 WAIT_SENSOR_BR_ML (1)
32
#01
400-65488 BU PIN SENSOR DOG (2)
33
#01
401-
47012 WAIT_SENSOR_BR_MR (1)
34
#01
SM-4030501-SN SCREW M3 L=5 (2)
35
#02
401-47013 WAIT_SENSOR_BR (2)
36
#02
400-65488 BU PIN SENSOR DOG (2)
37
#02
SM-4030501-SN SCREW M3 L=5 (2)
38 401-29042 AWC/BU ORG SENSOR CABLE ASM (1)

- -
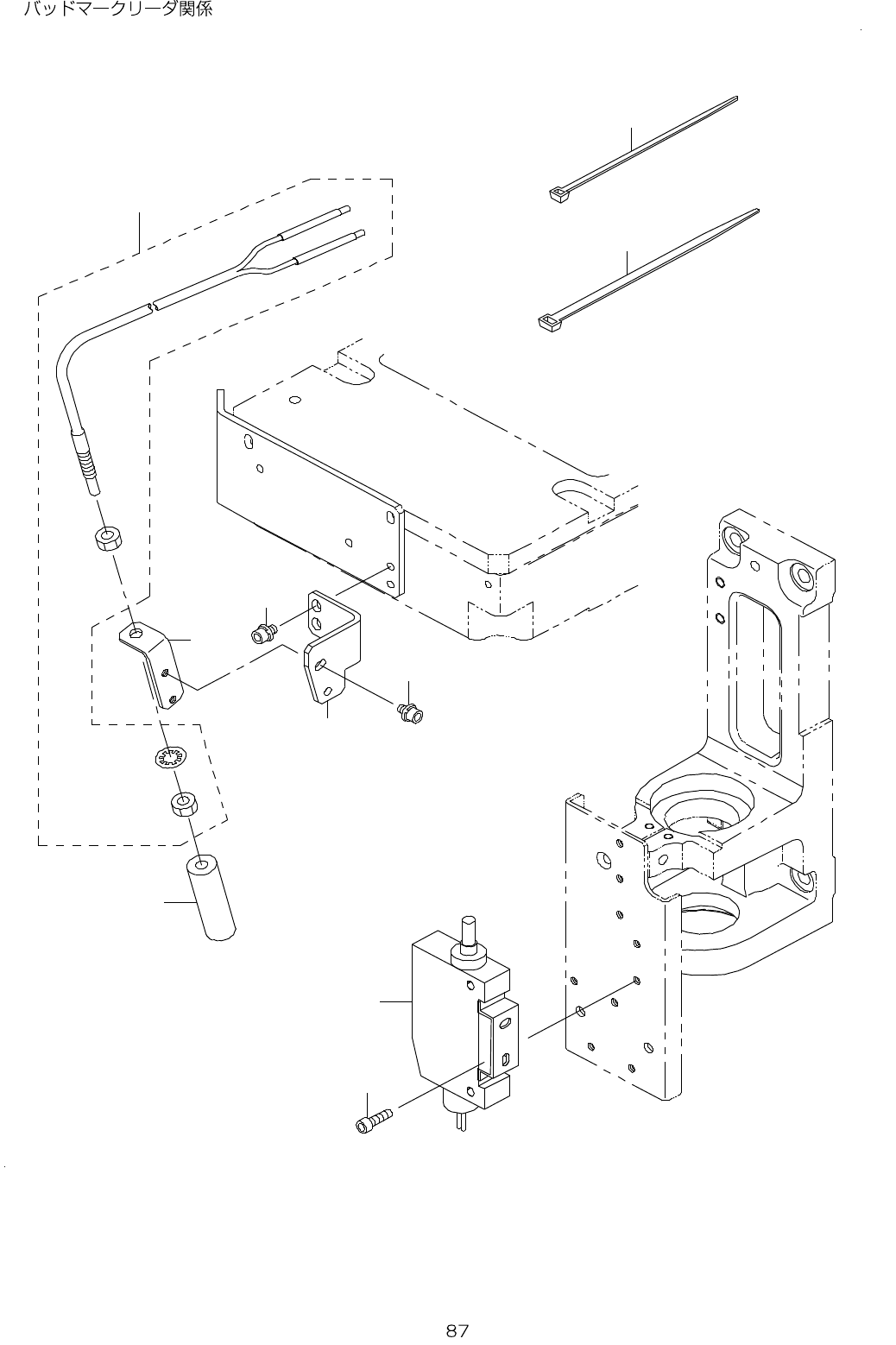
44.BAD MARK READER COMPONENTS
2
7
2
9
8
1
4
3
6
5

- -
REF.NO NOTE PART NO D E S C R I P T I O N Qty
1 400-71599 BM ANGLE BR 1
2 SL-6030592-TN SCREW M3 L=5 4
3 400-47981 BAD MARK FIBER AMP ASM 1
4 SM-6030602-TN SCREW M3X6 2
5 HD-0013100-40 SENSOR 1
6 E9638-729-000 FIBER LENS 1
7 400-71565 BM HOLDER 3020 1
8 EA-9500B01-00 CABLE BAND 4
9 EA-9500B02-00 CABLE BAND 150 8