P-327-005_SIGMA-F8S - 第135页
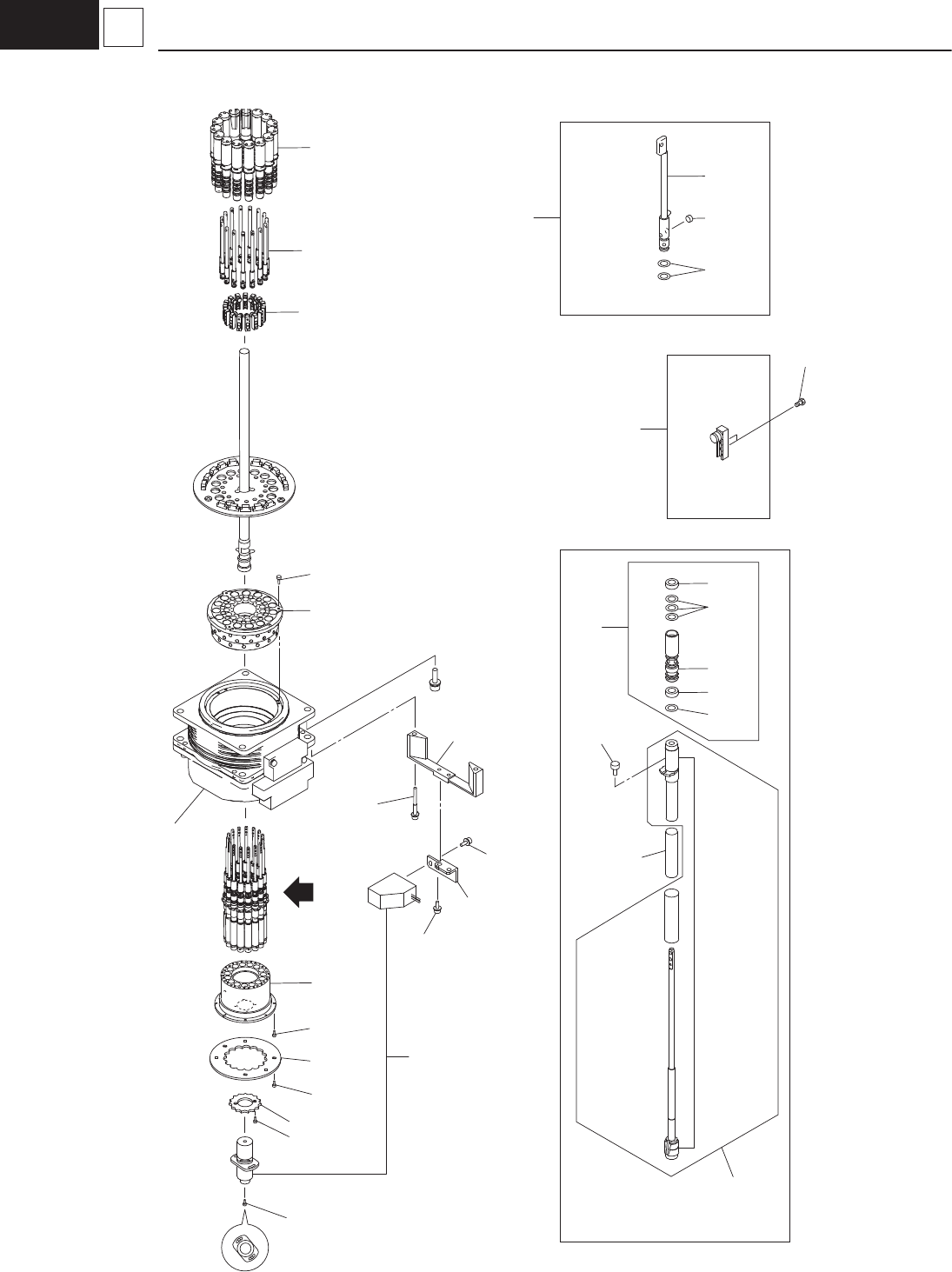
– 129 – HIGH SP E ED HEAD (DDH V9 ) 1907-005 No. Part No. Part Name Qty . Detail 302 KY A-M7019-00 MOTOR_NS 1 M32 303 KY A-M701C-00 MOTOR_NL 1 M33 304 KY A-M701N-00 ASSY_NS_MOTOR 1 305 KY A-M701P-00 ASSY_NL_MOTOR 1 310 K…

– 128 –
G1
4 Nozzle Leveller,and selecter
1907-005
391
304
305
313
379
310
3A3
385
393
393
3A1
392
3A9
3A6
384
378
381
376
327
380
380
383
387
3A3
385
384
370
303
302
316
371
See Fig. G1-6
Key No.557
See Fig. G1-
6
Key No.556
See Fig. G1-
6
Key No.557
See Fig. G1-
6
Key No.557
See Fig. G1-
6
Key No.557
See Fig. G1-
6
Key No.557
See Fig. G1-
6
Key No.557
343
315
338
341
353
355
352
312
314
340
365
354
M33
M32
B0210

– 129 –
HIGH SPEED HEAD (DDH V9)
1907-005
No. Part No. Part Name Qty. Detail
302 KYA-M7019-00 MOTOR_NS 1 M32
303 KYA-M701C-00 MOTOR_NL 1 M33
304 KYA-M701N-00 ASSY_NS_MOTOR 1
305 KYA-M701P-00 ASSY_NL_MOTOR 1
310 KYB-M7031-00 ASSY_NL_BALL_SCREW 1
312 KYB-M700M-00 BALL_SCREW_NL 1
313 KYB-M702N-00 ASSY_NS_T-PULLEY 1
314 KYB-M704C-00 PULLEY_TIMING 1
315 KYB-M704B-00 PULLEY_TIMING 1
316 KYB-M705K-00 BELT_TIMING 1
327 91312-03020 BOLT,HEX.SOCKET HEAD 1
338 KYB-M7042-00 BLOCK 1
340 KYB-M7041-00 PLATE 1
341 KYB-M702J-00 SENSOR_DOG_NL 1
343 KYA-M700A-00 BASE_HEAD 1
352 KYB-M700R-00 SUPPORT_UNIT_NL 1
353 KYB-M702H-00 BLOCK_NL_BEARING 1
354 KYB-M702P-00 SPRING_COMP_NL 1
355 KYB-M702G-00 BLOCK_NL_SPRING 1
365 KYB-M700N-00 BEARING_NL 1
370 KYB-M702C-00 COUPLING 1
371 KYA-M700Y-00 ASSY,SENSOR B0210 1 B0210
376 90112-02J004 BOLT,HEX.SOCKET HEAD 2
378 90112-02J010 BOLT,HEX.SOCKET HEAD 1
379 90112-2AJ006 BOLT,HEX.SOCKET HEAD 2
380 90112-2AJ010 BOLT,HEX.SOCKET HEAD 3
381 90112-2AJ016 BOLT,HEX.SOCKET HEAD 1
383 91312-03008 BOLT,HEX.SOCKET HEAD 1
384 91312-03010 BOLT,HEX.SOCKET HEAD 5
385 91312-03012 BOLT,HEX.SOCKET HEAD 4
387 91312-05016 BOLT,HEX.SOCKET HEAD 2
391 90990-02J019 SCREW,SET 2
392 90189-02J2A6 NUT,HEXAGON 1
393 95302-03600 NUT,HEXAGON 2
3A1 90171-02J2A6 WASHER,PLAIN 1
3A3 92902-03200 WASHER,PLAIN 4
3A6 KYB-M7045-00 BOLT_HEX-SCT 4
3A9 92902-06200 WASHER,PLAIN 4
