文档中心
/
Cable trees_20211124_035300
Cable trees_20211124_035300 - 第18页
Cable trees Page 18 / 76 24.11.2021
目录
100%
显示:宽度
宽度
1 / 76
回到旧版
旧版
?
Cable trees
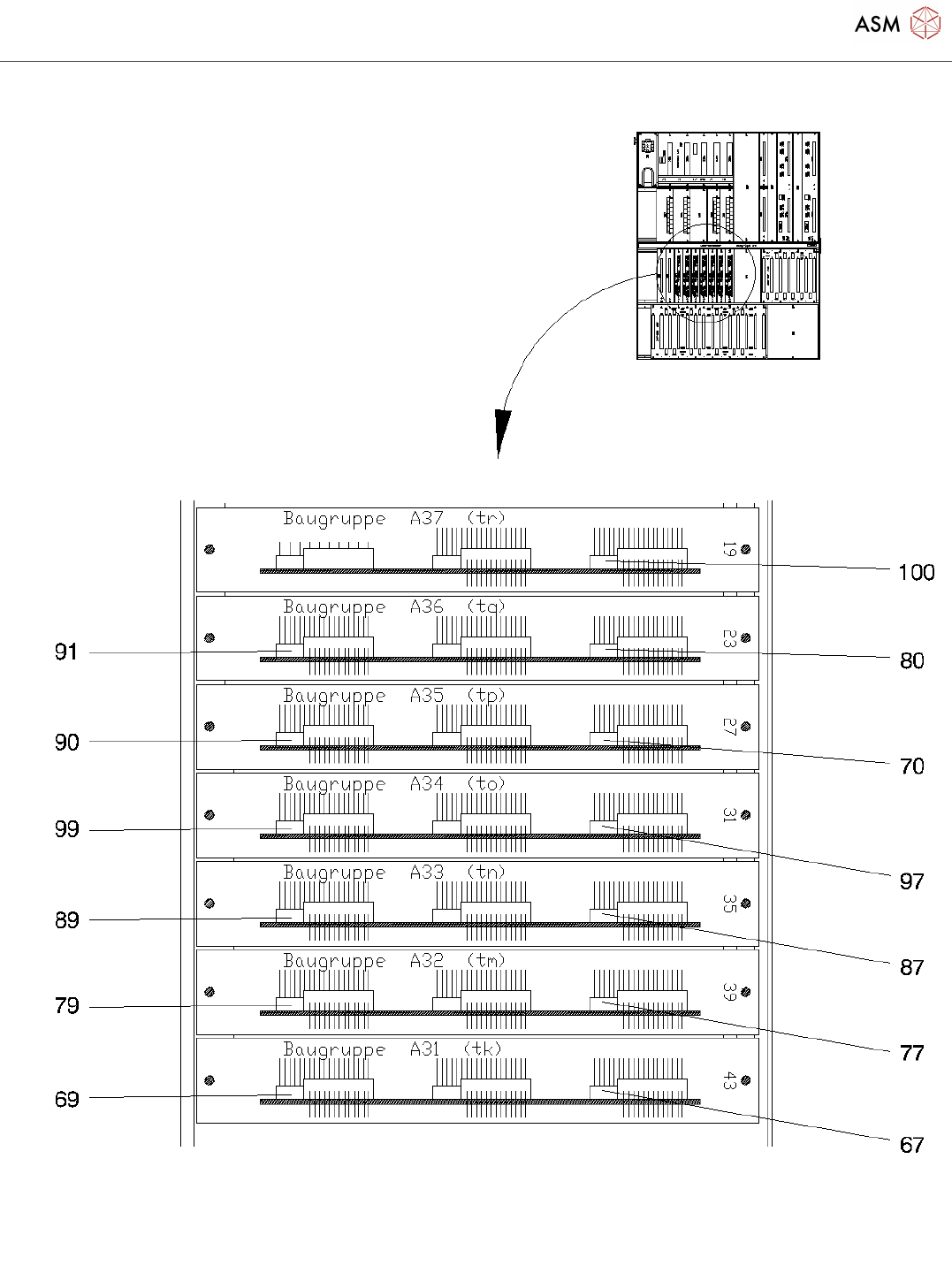
Page 17 / 76
24.11.2021
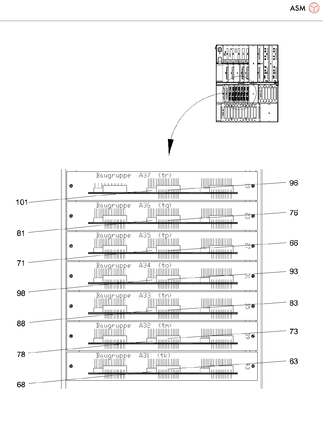
Cable trees
Page 18 / 76
24.11.2021
Cable trees
Page 19 / 76
24.11.2021
该页面需要启用 JavaScript 才能进行交互式预览。