DF01-Rev02 - 第42页
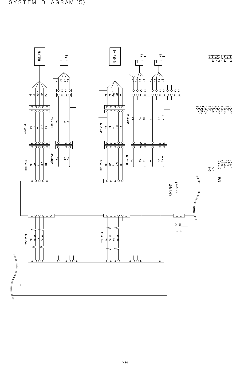
- - 20. S YS TEM DI A GRA M ( 5) S S 3 F U R - 2 6 - 6 / S S 3 F UR - 2 6 - 6 / M 4 - 2 S S 3 F U R - 2 6 - 6 S S 3 F U R -2 6 - 6 J P H 3 - 2 S S 3 F U R -2 4 - 6 M 4 - 2 S S 3 F U R -2 4 - 6 M 3 - 2 S S 3 F U R -2 4 …

- -
REF.NO NOTE PART NO D E S C R I P T I O N Qty
1 401-24425 SV-DRV2 DRIVE POWER CABLE ASM 1
2 401-24426 SV-DRV2 CONTROL POWER CABLE ASM 1
3 401-24376 M2 MOTOR CABLE ASM 1
4 401-24380 M2 ENCODER CABLE ASM 1
5 401-24427 M2 SENSOR CABLE ASM 1

- -
20. SYSTEM DIAGRAM (5)
SS 3 FU R - 2 6-6
/
S S3 F UR -2 6 -6
/
M 4- 2
S S3 F U R - 2 6 - 6
S S 3 F U R -2 6- 6
J PH 3 -2
S S 3 F U R -2 4- 6
M 4- 2
S S 3 F U R -2 4- 6
M 3- 2
S S 3 F U R -2 4- 6
0 2K -S 52 3W
M 3
M 3
S S 3 F U R -2 4- 6
P H 8
J PH 3
O N
O R G 3
04 K - S 525
M 4
M 4
P H 9
J PH 4
C W_ LI M 4
ON
P H 10
( )
C CW _L I M 4
ON
( )
/
/
/
/
N AVC S B - 2 5 - 2 P
N AVC S B - 2 5 - 2 P
M OT 2
S IG 2
C N 1
( )
(0.8A)
D SW 1 :1
D SW 2 :4
D SW 3 :1
D SW 4 :4
AW G 2 0
D SW 5 :1
D SW 6 :4
MT C ON T 1
USPG-48
CTDR-0514 -3 Z
P M- D R V 1
C N3 S IG 1 M O T 1
66
11
5
4
2
3
5
3
2
4
3
2
1 1
3
2
1 1
5
3
2
4
5
4
2
3
1 1
4
2
3
5
3
2
4
5
3 3
22
1 1
4 4
44
3
2
3
2
1 1
99
8
7
8
7
6
5
6
5
121 2
11
10
1 1
1 0
D IR - 3
1 4 1
CW +
1
1 1
P UL S E -3 *
1 7
D IR - 3*
1 5
P UL S E -3
1 6
2
CW -
3
CC W +
4
CC W -
5
H. O +
6
H. O -
2
3
4
5
4
2
3 3
2
4
5 5
O RG - 3
3
+ CO M
1
- CO M 1
8
+ 24 V
- LM - 3
5
+ LM - 3
4
0 V2 4
D IR - 4
3 2
D IR - 4*
3 3
P UL S E -4
3 4
P UL S E -4 *
3 5
2
CW -
1
CW +
3
CC W +
4
CC W -
5
H. O +
3
2
1
5
4
2
3
11
3
2
4
55
4
+ LM - 4
2 2
+ CO M 1
1 9
- CO M 1
2 6
6
H. O -
+ 24 V
O RG - 4
2 1
- LM - 4
2 3
+ 24 V
0 V2 4
1
+ 24 V
0 V2 4
+ 24 V P
0 V2 4 P
2
0 V
1
2
3
4
9
1 0
5
6
1 1
7
8
MT - C ON T1 :10 136-3000PE(3M) J PH 3
M 4, 4 -2
M 3, 3 -2
:DF1B-4ES-2.5RC(HRS)
DF1B-2428PC:
:DF1B-5EP-2.5RC(HRS)
:
:
DF1B-5ES-2.5RC(HRS)
DF1B-2428SC
J P H 4 DF1B-12DES-2.5RC(HRS):
P M- DR V 1
S IG 1, 2
M OT 1, 2
C N 1
:10336-52F0-008(3M)C N3
( )
: BV H - 2 1T -P1 . 1
: XA P - 0 6V -1
: VH R - 5 N
: V H R - 2 N
J PH 3 -2
:
:
:
:
DF1B-3ES-2.5RC(HRS)
DF1B-3EP-2.5RC(HRS)
DF1B-2428PC
DF1B-2428SC
:
:
DF1B-2428SC
DF1B-4EP-2.5RC(HRS)
J PH 4 -2
DF1B-6 EP-2.5RC(HRS)
DF1B-6 ES-2.5RC(HRS)
DF1B-2 428SC
DF1B-2 428PC
:
:
:
:
DF1B-1 2DEP-2.5RC(HRS)
DF1B-2 428SC
:
:
: BX A - 0 01 T-P 0 . 6 DF1B-2428PC: DF1B-2 428PC:

- -
REF.NO NOTE PART NO D E S C R I P T I O N Qty
1 401-24428 PM-DRV POWER CABLE ASM 1
2 401-24318 M3 MOTOR CABLE ASM 1
3 401-24429 M3 MOTOR ASM 1
4 401-24430 M3 SENSOR ASM 1
5 401-24320 M4 MOTOR CABLE ASM 1
6 401-24431 M4 MOTOR ASM 1
7 401-24432 M4 SENSOR ASM 1
8 401-24487 M3 MOTOR RELAY CABLE ASM 1
9 401-24319 M3 SENSOR RELAY CABLE ASM 1
10 401-24488 M4 MOTOR RELAY CABLE ASM 1
11 401-24321 M4 SENSOR RELAY CABLE ASM 1