DF01-Rev02 - 第57页
- - REF.NO NOTE P ART NO D E S C R I P T I O N Qty 1 4 01-2 4316 V1_12 RELA Y CABLE ASM 1 2 4 01-2 4456 V1 ASM 1 3 4 01-2 4457 V12 A SM 1 4 4 01-2 4458 V2 REL AY C ABLE ASM 1 5 4 01-2 4459 V2 CABLE ASM 1 6 4 01-2 4460 …

- -
27. SYSTEM DIAGRAM (12)
6
2
1 0
5
1
9
1 3 1 4
JV1 : DF1B-8ES-2.5RC
:JV8 ,P AT
V1 8,12
:
:
:
DF1B-24 28SC
DF1B-4E P-2.5RC
:DF1B-4ES-2.5RC
:
DF1B-24 28SC
DF1B-8E P-2.5RC
DF1B-24 28PC
:
:
:
V9 11
DF1B-2428SC
DF1B-2EP-2.5RC
DF1B-2ES-2.5RC
:DF1B-2428PC :DF1B-2428PC
N SVC -2 5 -2 P
/
/
N SVC -2 5 -2 P
/
N S VC -2 5 - 2 P
/
/
/
/
/
/
/
/
/
/
S S3 F U R -2 6 -1 0 S S 3 F U R - 26 - 10
J V 8
SS 3F U R - 2 4-6 S S3F U R - 24 -6
J V 1
2
2
V 1
+
V 1
V 6
+
V 6
ZA1071-K15G -FB-55
B
V
1+
1
5
5
+
B
V
5
ZB0631-K15L-EAMG-C4
5
V 12
2
V 12
V
+
6
V 7
+
V
V 7
6
N SV C- 2 5- 2P
V 2
+
V 2
B
+
2
ZA1071-K15G -FB-55
6
V 8
+
+
B
6
ZB0631-K15L-EAMG-C4
V 8
1
1
B
+
ZB0631-K15L-EAMG-C4
1
V 1
ZA1071-K1 5G-FB-5 5
V
+
B
2
N S V C -2 5- 2 P
V 3
+
2V
V 3
V 9
V 9
VKF332V-5 GS-01
+
2
V 4
V 4
+
B
2
ZB0631-K15L-EAMG-C4
3
3
NS VC - 25 - 2 P
ZB0631-K15L-EAMG-C4
3
3
V
+
+
B
AW G 2 4
AW G 2 6
+
A WG24
A W G2 6
R Y4
A W G2 4
V 11
4
NS V C- 2 5- 2P
V 5
V 5
V 4
+
MY2N-D2
P AT
LE-33-11
4
B
+
4
ZB0631-K15L-EAMG-C4
A W G2 2
LCE- 302A-RYG
P AT
P AT :D F1 B - 4ES -2 . 5R C
:D F 1 B - 2 42 8P C
: DF 1 B -4 EP - 2. 5R C
: DF 1 B -2 4 28 S C
2
1
2
1
4
33
4
88
77
66
33
22
11
55
44
+ 24 V
1
2 2
1
+ 24 V
1
2
1
2
+ 24 V
4
3
4
3
+ 24 V
4
3 3
4
+ 24 V
+ 24 V
4
3
1
2
4
3
2
1
+ 24 V
+ 24 V
4
3
1
2
4
3
1
2
+ 24 V
1
2 2
1
+ 24 V
1
2
1
2
+ 24 V
4
3
4
3
+ 24 V
4
3 3
4
+ 24 V
3
4
2
1
4
3
2
1
+ 24 V
1
2
1
2
+ 24 V
2
1
2
1
+ 24 V
+ 24 V
4
3
4
3
0 V2 4
L OC K + 24 V
+ 2 4V
1
22
1
+ 24 V
3
2
1
3
2
1
1
2
1
2
+ 24 V
4 4
P A T _ R
+ 24 V
P A T _ Y
P A T _ G
4
3
4
3
1
2 3
4
5 6 8 9
7
2 1
2 2
1 5
1 0
1 3
1 1 1 2 1 4 1 6
1 8
1 9
1 7
2 0

- -
REF.NO NOTE PART NO D E S C R I P T I O N Qty
1 401-24316 V1_12 RELAY CABLE ASM 1
2 401-24456 V1 ASM 1
3 401-24457 V12 ASM 1
4 401-24458 V2 RELAY CABLE ASM 1
5 401-24459 V2 CABLE ASM 1
6 401-24460 V3 CABLE ASM 1
7 401-24461 V4 RELAY CABLE ASM 1
8 401-24462 V4 CABLE ASM 1
9 401-24463 V5 CABLE ASM 1
10 401-24464 V6 RELAY CABLE ASM 1
11 401-24465 V6 CABLE ASM 1
12 401-24466 V7 CABLE ASM 1
13 401-24322 V8 RELAY CABLE ASM 1
14 401-24467 V8 ASM 1
15 401-24468 V9_10 RELAY CABLE ASM 1
16 401-24469 V9 ASM 1
17 401-24491 PAT RELAY CABLE ASM 1
18 401-24471 V11 ASM 1
19 401-24472 V11 CABLE ASM 1
20 401-24315 PAT ASM 1
21 401-24485 JV1 CABLE ASM 1
22 401-24490 JV8 CABLE ASM 1

- -
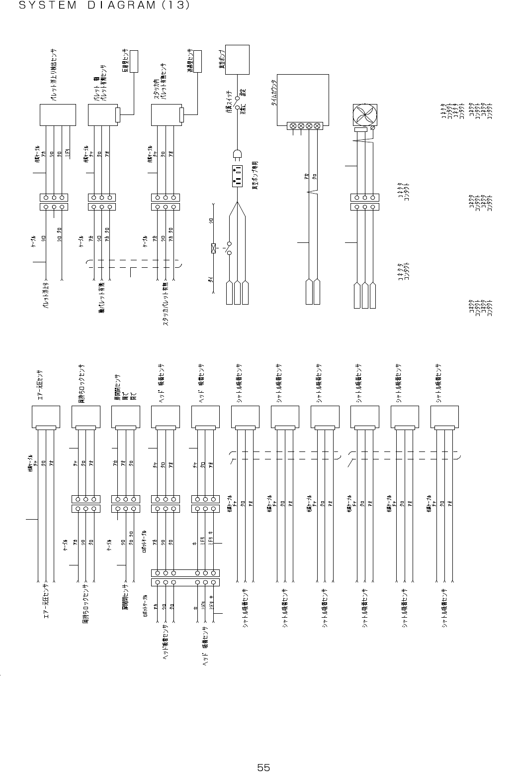
28. SYSTEM DIAGRAM (13)
1 31 4
8 1 2
F A N : 1 6 2 5 - 3 R 1
DF1B-4ES-2.5RC
DF1B-4EP-2.5RC
DF1B-2428SC
:
:
:S 2 S3,4,12
FSEN1,2
DF1B-3EP-2.5RC
DF1B-3ES-2.5RC
:
:
:
DF1B-2428SC :
:
:
J S 1
:15 61TL
:15 60TL
: 1 6 2 5 - 3 P1
LSW
DF1B-6EP-2.5RC
DF1B-6ES-2.5RC
DF1B-2428SC
:DF 1B-2428PC DF1B-2428PC: :DF1B-2428PC
Y
E 3 X - S D 2 1
E 3 2 - D 2 1 1 R
E 3 X - S D 2 1
E 3 2 - T 1 1 R
N A V C - 2 5- 2 P
/
/
N A V C - 2 5- 2 P
/
N A V C - 2 5- 2 P
SS 3F U R- 2 6 -6
NA V C- 2 5 - 2P
/
J S1
SS 3F U R - 2 6 -6
/
2
/
SS 3F U R- 2 6 -6
A WG2 6
+
A WG 26
F AN
MU 1 2 38 A- 1 1 B
F AN
: 18 55 TL
: 1 6 2 5 - 3 R 1 : 1 6 2 5 - 3 P 1
: 18 54 T L
A WG2 4
H7ET- NFV
HM ( )
1
O UT
0 V
ZSE10
+ 24V
1
S 5
2
0 V
O UT
+ 24V
2
S 6
3
O UT
0 V
+ 24V
3
S 7
4
O UT
0 V
+ 24V
4
S 8
5
O UT
0 V
+ 24V
5
S 9
6
0 V
O UT
+ 24V
6
S 10
2
S 1 2 S1 2
1
2
3
1
2
3
MFS -0 1
+ 24V
0 V
O UT
S 1
ISE 10
O UT
0 V
+ 24V
S 3
1
S 3
1
O FF
O N
C OM
N O
N C
3
2
3
2
3
2
3
2
O UT
0 V
1
MFS -0 1
1
S 4
1
S 4
+ 24V
Y
F SE N1
0 V
O U T
+ 2 4V
FSEN 1
F SE N2
+ 2 4V
FSEN 2
0 V
O U T
RY6
G3F-203SN
S C3
( )
WC H 2 43 2 H
ON
D A P M P 1 2
L SW LSW
N C
X
F G
D 4 C - 1 4 5 0
C O M
N O
S 2S 2
2
1
3
2
1
3
+ 24V
0 V
O UT
1
2
1
2
4
3
4
3
5
6
5
6
V AC U UM+ 24 V
AC( L)3
AC( N)3
FG3
C O M
4
R ES E T
3
A C I N
2
A C I N
1
+ 24 V
3
2
1
3
2
1
0 V2 4
+ 24 V
3
2
1
3
2
1
0 V2 4
33
22
11
+ 24 V
+ 24 V
0 V2 4
0 V2 4
AC (L )4
+ 2 4 V
0 V2 4
0 V2 4
FG4
AC (N )4
+ 24 V
0 V2 4
+ 24 V
0 V2 4
+ 24 V
0 V2 4
0 V2 4
+ 24 V
+ 2 4 V
+ 24 V
0 V2 4
+ 24 V
0 V2 4
0 V2 4
AC200R 7
0 V2 4
AC200T 7
1
2
3
4
5 7 8
9
6
1 9
1 0
1 1
1 2 1 3 1 4
1 5 1 6
1 7
1 8