P-0293-004.pdf - 第25页
0801-002 1 2 3 22 52 ・ 60 ・ 56 55 ・ 62 ・ 58 4 5 14 51 ・ 59 52 ・ 60 ・ 56 21 10 23 9 54 ・ 61 ・ 57 BLOCK4 49 48 47 46 44 46 45 48 HS-G300L See Fig. HL-1 Key No.43 MS-G300L See Fig. HF-1 Key No.29 49 41 50 25 26 内が本体対応箇所です。 …

0801-002
2
3
4
22
5
21
9
52
60
56
23
10
7
6
13
8
1
54
.
.
.
.
.
.
.
.
.
.
.
61
57
52
60
56
51
59
55
62
58
53
61
57
14
BLOCK1
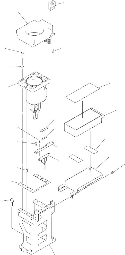
D-1 illust-3
架台上全体
OVERALL UPPERFRAME
Fig. D-1
部品認識カメラ
1,4
Recognition Camera 1,4
(G -S052-08,Case:Block4) (G -S052-08,Case:Block4)

0801-002
1
2
3
22
52
・
60
・
56
55
・
62
・
58
4
5
14
51
・
59
52
・
60
・
56
21
10
23
9
54
・
61
・
57
BLOCK4
49
48
47
46
44
46
45
48
HS-G300L
See Fig. HL-1
Key No.43
MS-G300L
See Fig. HF-1
Key No.29
49
41
50
25
26
内が本体対応箇所です。
The explanation in brackets is for the locations to be treated in the main machine.
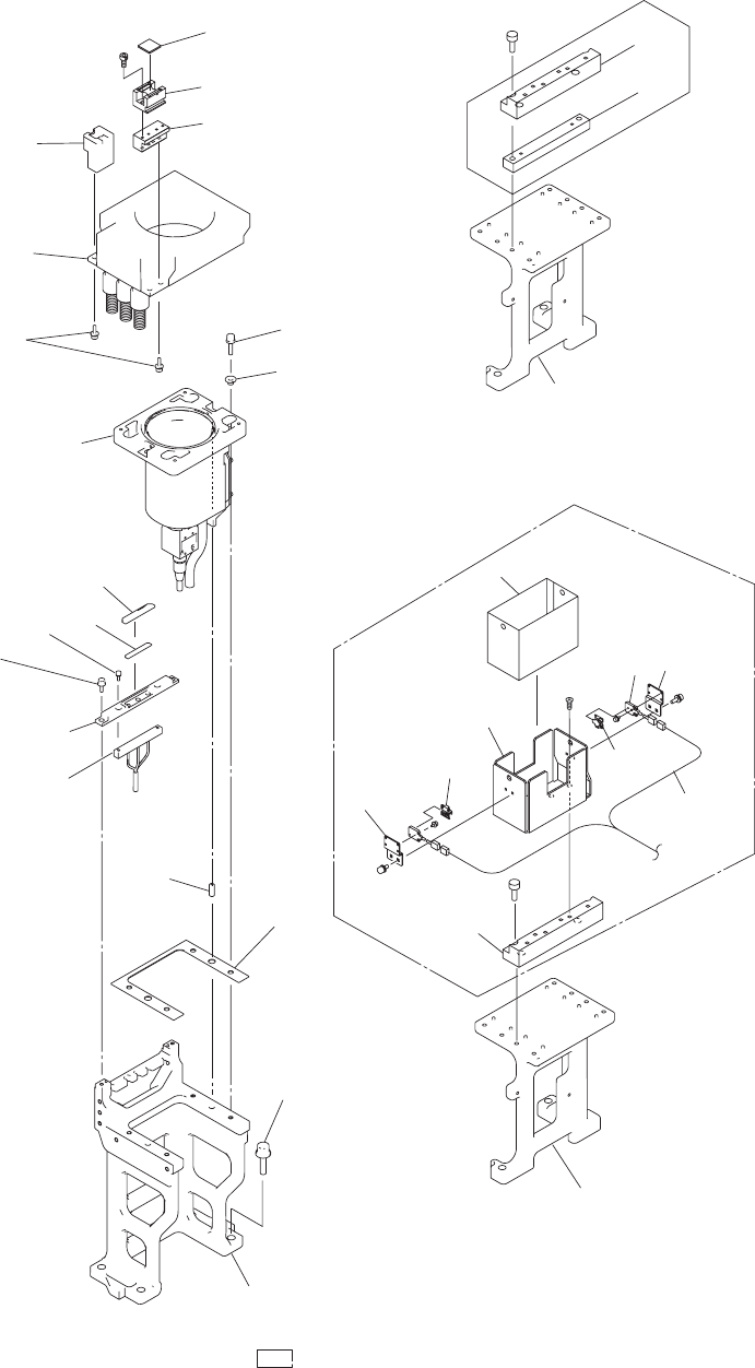
71
D-1 illust-4
架台上全体
OVERALL UPPERFRAME
Fig. D-1
部品認識カメラ
1,4
Recognition Camera 1,4
(G -S052-08,Case:Block4) (G -S052-08,Case:Block4)

1004-004
Key No. PART No. PART NAME Q’ty REMARKS New Code
NOTE
D-1
D-1 list-1
1 6301565538 BASE 2 845D--100-101 210A2857
2 6301572499 SPACER 2 845D--100-102 211E1084
3 6300842708 PIN,LOCATE 4 845D--100-103 216E0832
4 6301281650 PLATE 2 845D--100-104 211D9700
5 6301360652 PLATE 2 845D--100-105 211DA514
6 6301579733 BRACKET 2 1 845D--100-106 211FC562
7 6301242484 MECH PARTS(MAGNETIC TAPE) 4 2 845D--100-107 226J1873
8 6301242538 BOX 2 1 845D--100-108 211B0951
9 6300703665 ACCESSORY,P.C.B 8 845D--100-109 23L10051
10 6301576848 BLOCK 2 845D--100-110 211G5378
13 6301271989 SHEET 2 1 845D--100-113 211H0308
14 6301571584 BLOCK 2 845D--100-114 211G5353
21 6301558127 ASSY,SCOPE UNIT 2 B61(1),B61(4)
845D--100-201 0Z100028
22 6301246598 LIGHTING UNIT 2 845D--100-202 4Z110137
23 6301427331 LIGHTING UNIT 2 845D--100-203 4Z110184
25 6301340968 BLOCK 1 845LE-110-010 211G3923
26 6301145273 PLATE 1 845LE-110-011 211D8367
41 6301342290 PLATE 1
845DXA100050-A011
211DA280
44 6301340708 BOX 1
845DXA100050-A004
211B1031
45 6301340692 BOX 1
845DXA100050-A005
211B1030
46 6301340821 PLATE 2
845DXA100050-A006
211DA273
47 6300763225 SENSOR,PELEC 1 -B925T,-B925R,
845DXA100050-A007
23G00161
48 6300763249 SENSOR,PELEC 1
845DXA100050-A008
23G00162
49 6301373683 SPACER 1
845DXA100050-A009
211E0927
50 6301373706 BLOCK 1
845DXA100050-A010
211G4096
51 6300007510 BOLT,HEX-SCT 4 M3X8 845D--100-501 221A0006
52 6300007633 BOLT,HEX-SCT 8 M4X12 845D--100-502 221A0018
53 6300007756 BOLT,HEX-SCT 4 2 M5X12 845D--100-503 221A0030
54 6300007770 BOLT,HEX-SCT 8 M5X20 845D--100-504 221A0032
55 6300008036 BOLT,HEX-SCT 8 M8X30 845D--100-505 221A0058
56 4111414008 WASHER V 4X9X0.8 8 845D--100-506 221H0315
57 4111414107 WASHER V 5X10X1 12 10 845D--100-507 221H0318
58 4111414503 WASHER V 8X17X1.6 8 845D--100-508 221H0323
59 4111412806 WASHER SPR 3 4 845D--100-509 221H0281
60 4111412905 WASHER SPR 4 8 845D--100-510 221H0284
61 4111416705 WASHER SPR 5 12 10 845D--100-511 221H0287
62 4111413100 WASHER SPR 8 8 845D--100-512 221H0291
71 6301596839 ASSY,CORD 1
845DXA100010-A151
0W201776
GXH-3PH
G -S052-08