部品手册2N7203A389B03 - 第101页
PART No. イラスト No. REF No. PAR T NAME REMARKS Q'TY 6 カバー部 (40ステ ーション5) COVER SECT. (40 STATI ON-5) 部 品 名 品 番 個数 備 考 R 1 R 2 1 A005 N610131535AA COVER カハ ゙ー S 1 026 N210157280AA COVER カバー 1 027 N210100767AA BRACKET …

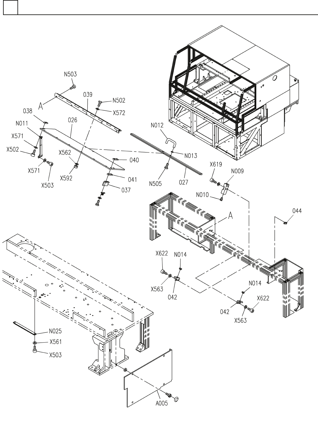
カバー部(40ステーション5)
COVER SECT.(40 STATION-5)
6
FN610125947AA_05-5
M69

PART No.
イラスト
No.
REF
No.
PART NAME
REMARKS
Q'TY
6
カバー部(40ステーション5)
COVER SECT.(40 STATION-5)
部 品 名 品 番 個数
備 考
R
1
R
2
1
A005
N610131535AA
COVER カハ
゙ー
S
1
026 N210157280AA
COVER カバー
1
027 N210100767AA
BRACKET ブラケット
1037 N210153696AC
BRACKET フ
゙ラケット
1038 KXFB012PA01
NUT PLATE ナットフ
゚レート
1
039 N210093565AA
HINGE チョウバン
1
040 N210153695AA
NUT PLATE ナットプレート
1041 N210153693AA
SPACER スヘ
゚ーサ
2042 N210093563AB
BRACKET ブラケット
1
044 1087105805
BRACKET ブラケット
HS5D-02RNP S
1
N009
N510056987AA
SWITCH スイッチ
53015030-WM
1
N010
KXF06F4AA00
JOINT シ
゙ョイント
B-1223-12-L
1
N011
N980B122312L
STAY ステー
THA-31-6
1
N012
N982THA3406A
DRAWER PULL トッテ
THA-270-3(3460)
2
N013
N982THA3460
WASHER ザガネ
C-30-CS-6
2
N014
KXF0C9YAA00
RUBBER コ
゙ム
RSN-DW8C-101
1
N025
N510039718AA
LAMP LED ランプ
M3X8-10.9 A2J (Trival
2
X502
N510017341AA
HEX. SOCKET HEAD CAP BOLT ロッカクアナツキボルト
M3X12-10.9 A2J (Triva
4
X503
N510017308AA
HEX. SOCKET HEAD CAP BOLT ロッカクアナツキボルト
3 10H A2J (Trivalent)
2
X561
N510018494AA
ROUND PLAIN WASHER ミガ
キマルヒラザガネ
4 10H A2J (Trivalent)
6
X562
N510018497AA
ROUND PLAIN WASHER ミガキマルヒラザガネ
5 10H A2J (Trivalent)
4
X563
N510018499AA
ROUND PLAIN WASHER ミガキマルヒラザガネ
M3
4
X571
N510020098AA
WASHER サ
゙ガネ
M4
6
X572
N510020099AA
WASHER ワッシャ
M4-6H-4T A2J (Trivale
6
X592
N510017855AA
HEXAGON NUT ロッカクナット
M4X30-10.9 A2J (Triva
2
X619
N510017361AA
HEX. SOCKET HEAD CAP BOLT ロッカクアナツキボルト
M5X10-10.9 A2J (Triva
4
X622
N510017386AA
HEX. SOCKET HEAD CAP BOLT ロッカクアナツキホ
゙ルト
M4X12-4.8 A2J (Trival
6
N502
N510018259AA
TRUSS HEAD SCREW トラスコネジ
M5X10-4.8 A2J (Trival
5
N503
N510018284AA
TRUSS HEAD SCREW トラスコネジ
M5X16-4.8 A2J (Trival
2
N505
N510018290AA
TRUSS HEAD SCREW トラスコネジ
M70
FN610125947AA_05-5

カバー部(40ステーション6)
COVER SECT.(40 STATION-6)
6
FN610125947AA_05-6
M71