部品手册2N7203A389B03 - 第123页
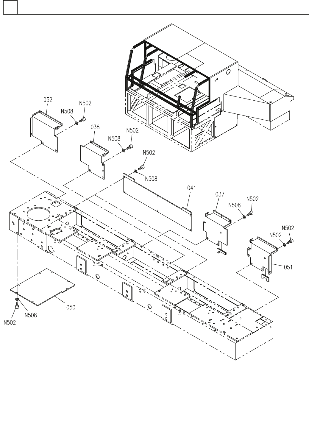
PART No. イラスト No. REF No. PAR T NAME REMARKS Q'TY 6 カバー 部(80ステ ーション8) COVER SECT.(80 STATI ON-8) 部 品 名 品 番 個数 備 考 R 1 R 2 S 1 A004 N610131432AB COVER UNIT カハ ゙ーユニット S 1 A005 N610131433AB COVER UNIT カバーユニット S 2 A00…

カバー部(80ステーション8)
COVER SECT.(80 STATION-8)
6
FN610130678AA_08-8
M91

PART No.
イラスト
No.
REF
No.
PART NAME
REMARKS
Q'TY
6
カバー部(80ステーション8)
COVER SECT.(80 STATION-8)
部 品 名 品 番 個数
備 考
R
1
R
2
S
1
A004
N610131432AB
COVER UNIT カハ
゙ーユニット
S
1
A005
N610131433AB
COVER UNIT カバーユニット
S
2
A006
N610116797AA
COVER カバー
1007 N210091718AB
COVER カハ
゙ー
RSN-DW8C-101
1
N027
N510039718AA
LAMP LED
ランプ
M5X10-10.9 A2J (Triva
6
N502
N510017386AA
HEX. SOCKET HEAD CAP BOLT ロッカクアナツキボルト
3 10H A2J (Trivalent)
2
N504
N510018494AA
ROUND PLAIN WASHER ミガキマルヒラザガネ
5 10H A2J (Trivalent)
6
N508
N510018499AA
ROUND PLAIN WASHER ミカ
゙キマルヒラザガネ
M3X12-10.9 A2J (Triva
2
N512
N510017308AA
HEX. SOCKET HEAD CAP BOLT ロッカクアナツキホ
゙ルト
M92
FN610130678AA_08-8

カバー部(80ステーション9)
COVER SECT.(80 STATION-9)
6
FN610130678AA_08-9
M93