部品手册2N7203A389B03 - 第128页
カバー部(リ アコンソールパ ネル部) COVER SECT. (REAR CON SOLE PANEL S ECT.) 6 FN610129627AA_02 M97

PART No.
イラスト
No.
REF
No.
PART NAME
REMARKS
Q'TY
6
カバー部(コンソールパネル部)
COVER SECT.(CONSOLE PANEL SECT.)
部 品 名 品 番 個数
備 考
R
1
R
2
1 N610125663AA
PANEL ATTACHMENT UNIT パネルトリツケユニット
1
002 N210157252AA
COVER カバー
2
003 N210149709AA
BRACKET ブラケット
1004 N210157010AA
COVER カハ
゙ー
R08RPF S
1
N001
N510055076AA
PANEL パ
ネル
XW1E-BV402MFR-TK2377 S
1
N002
N510011524AA
SWITCH スイッチ
LW6L-M1C10VG-BC-TK250 S
1
N003
N510058513AA
SWITCH スイッチ
LW6L-M1C10VB-BC-TK250
1
N004
N510056841AA
SWITCH スイッチ
LW6L-M1C10VW-BC-TK250
1
N005
N510056842AA
SWITCH スイッチ
LW6L-M1C14VW-BC-TK250
1
N006
N510058509AA
SWITCH スイッチ
P-18(screw) S
1
N007
KXF0DXPLA00
NAME PLATE メイバン
AR22PR-220B S
1
N008
KXFP5GEAA00
SWITCH スイッチ
YD-8V06 S
1
N009
N510014081AA
CARD READER カードリーダ
1
N010
3086239031
LABEL ラベル
5 External toothed St
7
N011
N510018765AA
TOOTHED LOCK WASHER ハツキザガネ
JB-A M5X8 +
5
N012
N510038044AA
BOLT ホ
゙ルト
M5X12
5
N013
N986YYYY-814
CAP キャップ
M3X5-4.8 A2J (Trivale
4
N014
N510018251AA
TRUSS HEAD SCREW トラスコネジ
M4-6H-4T A2J (Trivale
6
X592
N510017855AA
HEXAGON NUT ロッカクナット
M4X10-10.9 A2J (Triva
4
X505
N510017344AA
HEX. SOCKET HEAD CAP BOLT ロッカクアナツキホ
゙ルト
4 10H A2J (Trivalent)
10
X552
N510018479AA
ROUND PLAIN WASHER コガカマルヒラザガネ
M5X12-10.9 A2J (Triva
2
X508
N510017390AA
HEX. SOCKET HEAD CAP BOLT ロッカクアナツキボルト
5 10H A2J (Trivalent)
2
X553
N510018480AA
ROUND PLAIN WASHER コガ
タマルヒラザガネ
M96
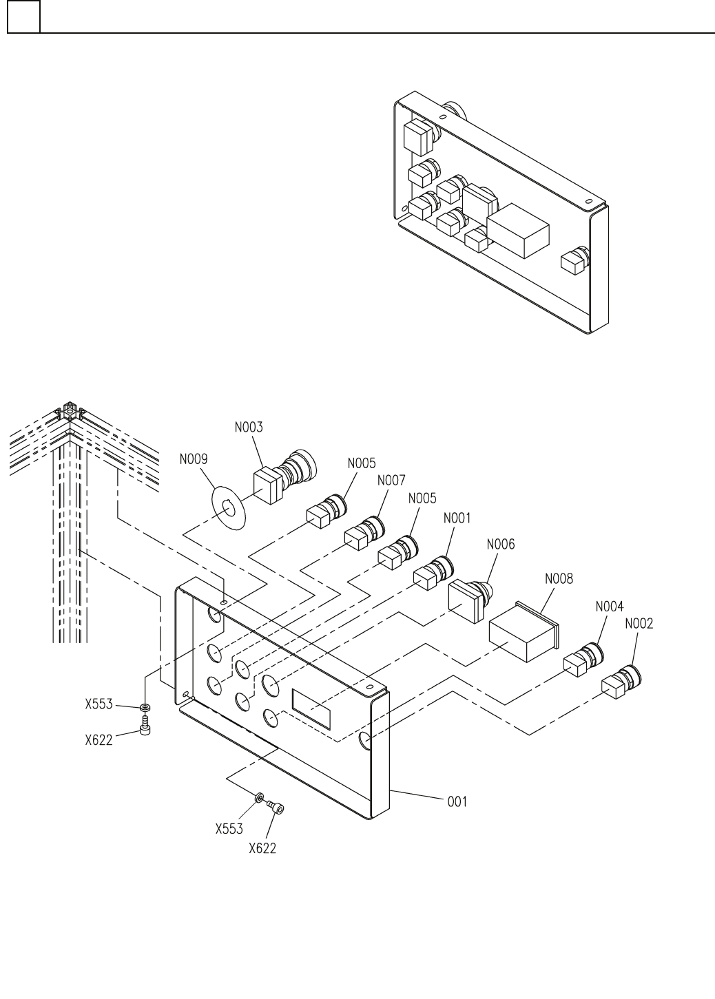
FN610125663AA_03

カバー部(リアコンソールパネル部)
COVER SECT.(REAR CONSOLE PANEL SECT.)
6
FN610129627AA_02
M97

PART No.
イラスト
No.
REF
No.
PART NAME
REMARKS
Q'TY
6
カバー部(リアコンソールパネル部)
COVER SECT.(REAR CONSOLE PANEL SECT.)
部 品 名 品 番 個数
備 考
R
1
R
2
1 N610129627AA
PANEL ATTACHMENT UNIT パネルトリツケユニット
1
001 N210155895AC
BOX COVER ボックスカバー
LW6L-M1C10VB-BC-TK250
1
N001
N510056841AA
SWITCH スイッチ
LW6L-M1C10VW-BC-TK250
1
N002
N510056842AA
SWITCH スイッチ
XW1E-BV402MFR-TK2377 S
1
N003
N510011524AA
SWITCH スイッチ
LW6L-M1C10VG-BC-TK250 S
1
N004
N510058513AA
SWITCH スイッチ
LW6L-M1C14VW-BC-TK250 S
1
N005
N510058947AA
SWITCH スイッチ
APN122DNW
1
N006
KXFP6J49A00
LAMP ランフ
゚
LW6L-M1C14VW-BC-TK250
1
N007
N510058509AA
SWITCH スイッチ
M7F-3N1GF
1
N008
N510059426AA
LAMP LED ランプ
1
N009
3086239031
LABEL ラベル
M5X10-10.9 A2J (Triva
4
X622
N510017386AA
HEX. SOCKET HEAD CAP BOLT ロッカクアナツキホ
゙ルト
5 10H A2J (Trivalent)
4
X553
N510018480AA
ROUND PLAIN WASHER コガタマルヒラザガネ
M98
FN610129627AA_02