部品手册2N7203A389B03 - 第13页
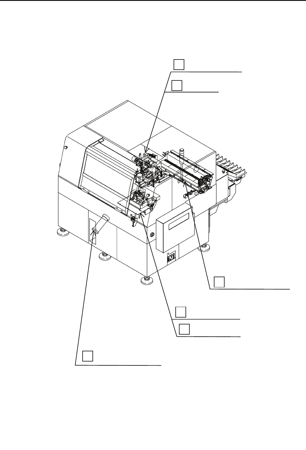
RL132( NM - EJR5A / EJR6A ) 全 体 図 U N I T L A Y O U T [ 標準仕様 STANDARD EQ UIPMENT ] Z 軸フレーム部 Z-AX IS FRAM E SEC T. 2 部品ガイドマウ ント部 PART S GU IDE MO UN T SE CT. 21 FZN7203A389B00-3 カバー部 COVER SEC T. 6 テープ屑ダクト部 WASTE TAP E …

RL132(
NM
-
EJR5A
/
EJR6A
) 全体図 UNIT LAYOUT
[
標準仕様
STANDARD EQUIPMENT
]
挿入部
INSERT SECT.
8
アンビル上部
UPPER ANVIL SECT.
11
部品供給部
FEEDER CARRIAGE SECT.
17
挿入ヘッド部
INSERTION HEAD SECT.
7
空圧制御部
PNEUMATIC SYSTEM SECT.
1
下部アンビル部
LOWER ANVIL SECT.
10
FZN7203A389B00-2

RL132(
NM
-
EJR5A
/
EJR6A
) 全体図 UNIT LAYOUT
[
標準仕様
STANDARD EQUIPMENT
]
Z
軸フレーム部
Z-AXIS FRAME SECT.
2
部品ガイドマウント部
PARTS GUIDE MOUNT SECT.
21
FZN7203A389B00-3
カバー部
COVER SECT.
6
テープ屑ダクト部
WASTE TAPE DUCT SECT.
9
メイン駆動部
MAIN DRIVING SECT.
3
専用部品部
EXCLUSIVE PARTS SECT.
12
付属品部
A
CCESSORY PARTS SECT.
23
部品加工部
PARTS PROCESS SECT.
20

RL132(
NM
-
EJR5A
/
EJR6A
) 全体図 UNIT LAYOUT
[
選択仕様
OPTIONAL EQUIPMENT
]
搬送ピン部
TRANSFER PIN SECT.
30
基準ピン部
PIN POSITIONING SECT.
31
基板厚対応部
SPECIFICATION FOR P.C.B. THICKNESS SECT.
32
FZN7203A389B00-4
ローダ・アンローダ部
LOADER & UNLOADER SECT.
25
X-Yテーブル部
X
-Y TABLE SECT.
24
基準ブロック部
POSITION BLOCK SECT.
26
基準レバー部
POSITION LEVER SECT.
27