部品手册2N7203A389B03 - 第131页
PART No. イラスト No. REF No. PAR T NAME REMARKS Q'TY 7 挿入ヘット ゙部(挿入 本体部1) INSERTION H EAD SECT. (MAIN BODY S ECT.-1) 部 品 名 品 番 個数 備 考 R 1 R 2 1 N610129089AA INSERTION HEA D UNIT ソウニュウヘット ゙ユニット 1 002 X02G42002 SHAFT シャフト…

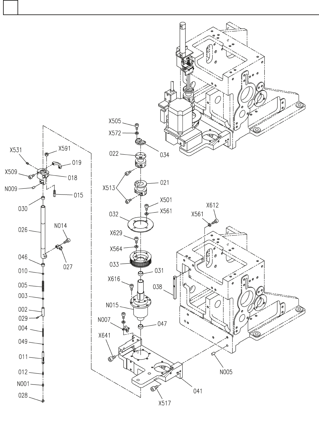
挿入ヘッド部(挿入本体部1)
INSERTION HEAD SECT.(MAIN BODY SECT.-1)
7
FN610129089AA_02-1
M99

PART No.
イラスト
No.
REF
No.
PART NAME
REMARKS
Q'TY
7
挿入ヘッド部(挿入本体部1)
INSERTION HEAD SECT.(MAIN BODY SECT.-1)
部 品 名 品 番 個数
備 考
R
1
R
2
1 N610129089AA
INSERTION HEAD UNIT ソウニュウヘット
゙ユニット
1
002 X02G42002
SHAFT シャフト
1
003 X02G4200301
COLLAR カラー
1004 X02G42004
SPRING アッシュクハ
゙ネ
1005 X02G42005
SPRING アッシュクハ
゙ネ
1
010 X02G42010
COLLAR カラー
1
011 X02G42011
PUSHER プッシャ
1012 X02G42013
SET SCREW セットスクリュー
1015 X02G42102
PIN ヒ
゚ン
1
018 N210063956AB
HOLDER ホルダ
1019 X01L42002
BLOCK(NUT) ブロック(ナット)
1021 X01L42004
SHIFTER シフター
1
022 X01L42005
SHIFTER シフター
1
026 X01L42012
SHAFT シャフト
1027 N210149031AB
CAM カム
1028 X01A4200102
RUBBER コ
゙ム
1
029 N210123469AA
PIN ピン
1
030 X01A42005
BUSHING ブッシュ
1031 X01A42007
BUSHING ブッシュ
1032 X01A42012
DETECTION PLATE ケンシュツハ
゙ン
1
033 N210098812AB
PULLEY プーリ
1
034 X01A42016
STOPPER ストッパ
1038 X01A42027
STOPPER ストッハ
゚
1041 N210092169AB
BRACKET フ
゙ラケット
1
046 X01A42059
BUSHING ブッシュ
1047 X01A42060
BUSHING ブッシュ
1049 X01A42065
COLLAR カラー
M2.5X4,STAINLESS(SUS3
1
N001
XXE25C4VW
HEX. SOCKET SET SCREW ロッカクアナツキトメネジ
87MS6-15
2
N005
N510022040AA
PIN ピン
EE-SX672
1
N007
KXF01YHAA00
SENSOR センサ
MMS3-6
2
N009
N510020588AA
PIN ヒ
゚ン
M4X14-10.9 A2J (Triva
2
N014
N510017348AA
HEX. SOCKET HEAD CAP BOLT ロッカクアナツキボルト
LTR25UUZZCL+173LP(125
1
N015
N510058200AA
BALL SPLINE ボールスプライン
M3X5-10.9 A2J (Trival
4
X501
N510017333AA
HEX. SOCKET HEAD CAP BOLT ロッカクアナツキボルト
M4X10-10.9 A2J (Triva
2
X505
N510017344AA
HEX. SOCKET HEAD CAP BOLT ロッカクアナツキホ
゙ルト
M5X16-10.9 A2J (Triva
2
X509
N510017395AA
HEX. SOCKET HEAD CAP BOLT ロッカクアナツキボルト
M6X20-10.9 A2J (Triva
4
X513
N510017435AA
HEX. SOCKET HEAD CAP BOLT ロッカクアナツキボルト
M8X25-10.9 A2J (Triva
2
X517
N510017473AA
HEX. SOCKET HEAD CAP BOLT ロッカクアナツキホ
゙ルト
M3X3-45H A2J (Trivale
1
X531
N510018358AA
HEX. SOCKET SET SCREW ロッカクアナツキトメネシ
゙
3 10H A2J (Trivalent)
6
X561
N510018494AA
ROUND PLAIN WASHER ミガキマルヒラザガネ
6 10H A2J (Trivalent)
4
X564
N510018501AA
ROUND PLAIN WASHER ミガキマルヒラザガネ
M4
2
X572
N510020099AA
WASHER ワッシャ
M3-6H-4T A2J (Trivale
1
X591
N510017849AA
HEXAGON NUT ロッカクナット
M3X20-10.9 A2J (Triva
2
X612
N510017316AA
HEX. SOCKET HEAD CAP BOLT ロッカクアナツキボルト
M4X12-10.9 A2J (Triva
6
X616
N510017346AA
HEX. SOCKET HEAD CAP BOLT ロッカクアナツキボルト
M6X12-10.9 A2J (Triva
4
X629
N510017428AA
HEX. SOCKET HEAD CAP BOLT ロッカクアナツキホ
゙ルト
M8X50-10.9 A2J (Triva
2
X641
N510017482AA
HEX. SOCKET HEAD CAP BOLT ロッカクアナツキボルト
M100
FN610129089AA_02-1

挿入ヘッド部(挿入本体部2)
INSERTION HEAD SECT.(MAIN BODY SECT.-2)
7
FN610129089AA_02-2
M101