部品手册2N7203A389B03 - 第133页
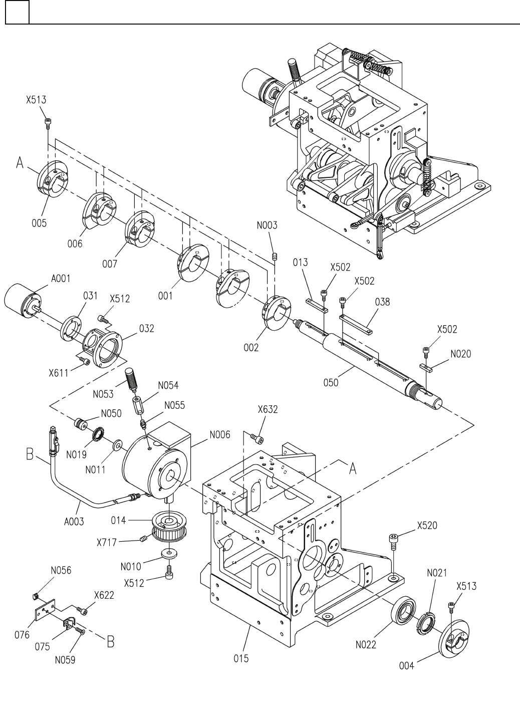
PART No. イラスト No. REF No. PAR T NAME REMARKS Q'TY 7 挿入ヘット ゙部(挿入 本体部2) INSERTION H EAD SECT. (MAIN BODY S ECT.-2) 部 品 名 品 番 個数 備 考 R 1 R 2 MSMD082PJA S 1 A001 N610074301AA MOTOR モータ 1 007 N210092167AA SUPPORT サポート 1…

挿入ヘッド部(挿入本体部2)
INSERTION HEAD SECT.(MAIN BODY SECT.-2)
7
FN610129089AA_02-2
M101

PART No.
イラスト
No.
REF
No.
PART NAME
REMARKS
Q'TY
7
挿入ヘッド部(挿入本体部2)
INSERTION HEAD SECT.(MAIN BODY SECT.-2)
部 品 名 品 番 個数
備 考
R
1
R
2
MSMD082PJA S
1
A001
N610074301AA
MOTOR モータ
1
007 N210092167AA
SUPPORT サポート
1
008 N210084446AA
BRACKET ブラケット
1009 N210092168AA
SPACER スヘ
゚ーサ
1013 N210154317AA
SPRING ハ
゙ネ
1
014 X02G42101
BRACKET(SENSOR) ブラケット(センサ)
1
016 N210154684AA
CYLINDER BRACKET シリンダブラケット
1017 N210084447AA
BRACKET フ
゙ラケット
1023 X01L42006
SHIFTER シフター
1
024 N210084448AB
PULLEY プーリ
1025 N210084445AA
BLOCK(NUT) ブロック(ナット)
1035 X01A42021
COLLAR カラー
1
036 X01A42022
LOCK-NUT ロックナット
1
037 X01A42024
BRACKET ブラケット
1039 X01A42028
BUSHING ブッシュ
2042 X01A42039
SET PIECE セットヒ
゚ース
1
043 X01A4204201
SHAFT シャフト
1
044 X01A42044
BUSHING ブッシュ
1045 X01A4204501
SPRING HOLDER バネウケ
1048 N210033660AA
PIN ヒ
゚ン
1
050 N210095354AA
BRACKET ブラケット
1
051 N210095355AA
BRACKET ブラケット
87FWSSM-D10.0-V8.0-T5
1
N002
N510034942AA
WASHER ワッシャ
MQMLB16H-75D-XM11
1
N003
N510008926AA
CYLINDER シリンタ
゙
698ZZ
2
N004
KXF00MWAA00
BEARING ベアリング
420-EV5GT-15
1
N006
N510027689AA
BELT(TIMING) ベルト(タイミング)
GX-8MB-R
1
N008
N312GX8MBR
SENSOR センサ
CS8630i-03 S
1
N010
N510023803AA
CAMERA カメラ
ML-2514
1
N011
N510028079AA
LENS レンズ
ML-GA270
1
N012
N510028081AA
COVER カバー
ML-EXR2
1
N013
N510028082AA
RING リンク
゙
M3X8-10.9 A2J (Trival
5
X502
N510017341AA
HEX. SOCKET HEAD CAP BOLT ロッカクアナツキボルト
M5X12-10.9 A2J (Triva
12
X508
N510017390AA
HEX. SOCKET HEAD CAP BOLT ロッカクアナツキボルト
M5X16-10.9 A2J (Triva
4
X509
N510017395AA
HEX. SOCKET HEAD CAP BOLT ロッカクアナツキボルト
M6X20-10.9 A2J (Triva
2
X513
N510017435AA
HEX. SOCKET HEAD CAP BOLT ロッカクアナツキホ
゙ルト
M8X25-10.9 A2J (Triva
2
X517
N510017473AA
HEX. SOCKET HEAD CAP BOLT ロッカクアナツキボルト
M3X3-45H A2J (Trivale
2
X531
N510018358AA
HEX. SOCKET SET SCREW ロッカクアナツキトメネジ
3 10H A2J (Trivalent)
5
X561
N510018494AA
ROUND PLAIN WASHER ミカ
゙キマルヒラザガネ
4 10H A2J (Trivalent)
2
X562
N510018497AA
ROUND PLAIN WASHER ミガキマルヒラサ
゙ガネ
5 10H A2J (Trivalent)
14
X563
N510018499AA
ROUND PLAIN WASHER ミガキマルヒラザガネ
6 10H A2J (Trivalent)
2
X564
N510018501AA
ROUND PLAIN WASHER ミガキマルヒラザガネ
M5
2
X573
N510020100AA
WASHER サ
゙ガネ
M6
2
X574
N510020101AA
WASHER ザガネ
M5-6H-4T A2J (Trivale
1
X593
N510017862AA
HEXAGON NUT ロッカクナット
M4X8-10.9 A2J (Trival
2
X615
N510017381AA
HEX. SOCKET HEAD CAP BOLT ロッカクアナツキボルト
M5X30-10.9 A2J (Triva
1
X624
N510017401AA
HEX. SOCKET HEAD CAP BOLT ロッカクアナツキホ
゙ルト
M102
FN610129089AA_02-2

挿入ヘッド部(挿入動力部1)
INSERTION HEAD SECT.(INSERTION POWER SECT.-1)
7
FN610129985AA_05-1
M103