部品手册2N7203A389B03 - 第181页
PART No. イラスト No. REF No. PAR T NAME REMARKS Q'TY 10 下部アンビル部 (本体部 1) LOWER ANVIL SECT.(MA IN BODY SECT .-1) 部 品 名 品 番 個数 備 考 R 1 R 2 1 N610074515AA UNDER ANVIL U NIT カブ アンビルユニット 1 A001 N610135836AA SHAFT シャフト 1 0…

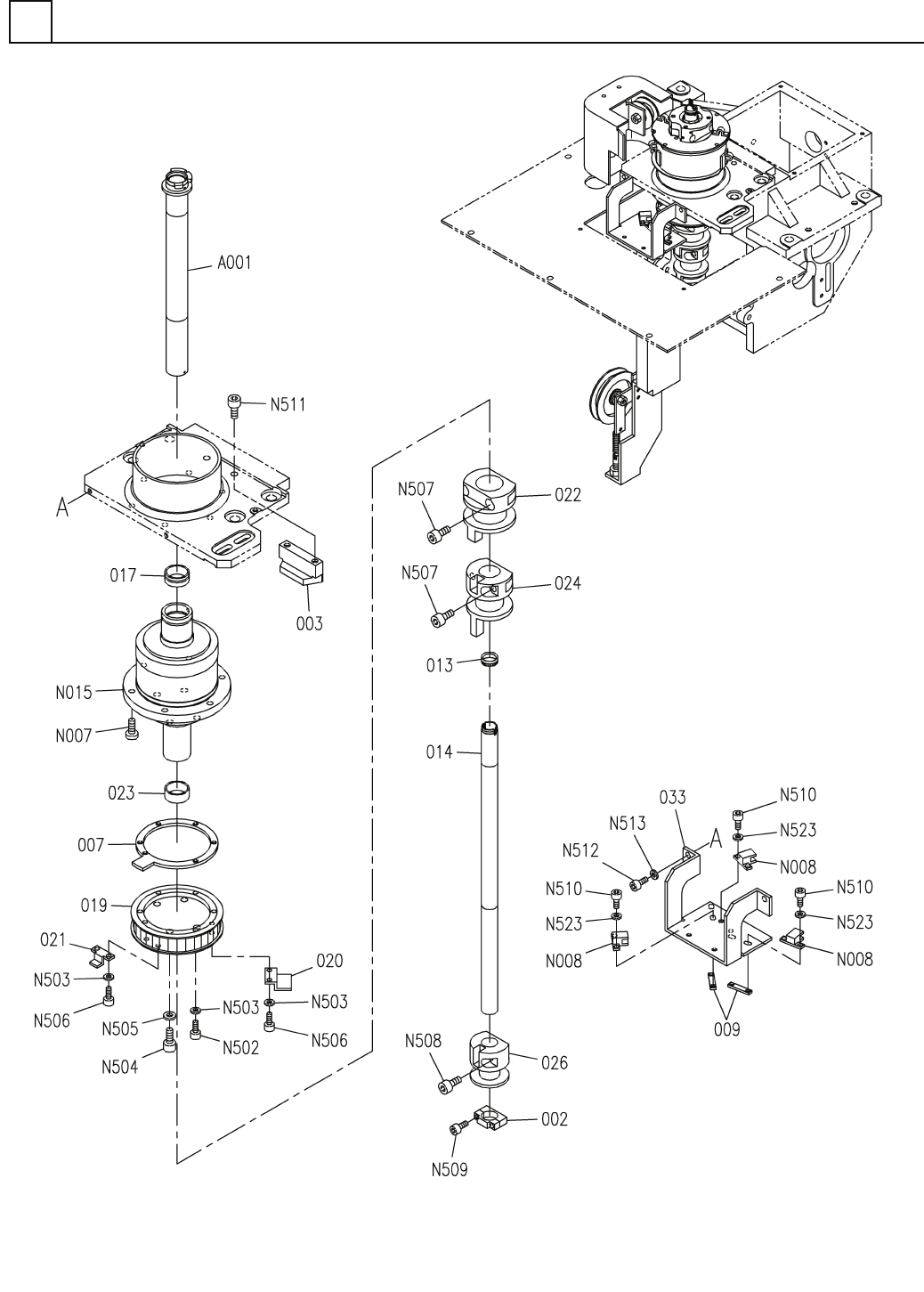
下部アンビル部(本体部1)
LOWER ANVIL SECT.(MAIN BODY SECT.-1)
10
FN610074515AA_10-1
M149

PART No.
イラスト
No.
REF
No.
PART NAME
REMARKS
Q'TY
10
下部アンビル部(本体部1)
LOWER ANVIL SECT.(MAIN BODY SECT.-1)
部 品 名 品 番 個数
備 考
R
1
R
2
1 N610074515AA
UNDER ANVIL UNIT カブ
アンビルユニット
1
A001
N610135836AA
SHAFT シャフト
1
002 X02G52102
COLLAR カラー
1003 X02G52103
BLOCK(STOPPER) ブ
ロック(ストッパ)
1007 X02G52112
PLATE(STOPPER) プレート(
ストッパ)
2
009 N210084456AA
NUT PLATE ナットプレート
1
013 N210157565AA
NUT ナット
1014 X01L52013
ROD ロット
゙
1017 X01L52018
BUSHING ブッシュ
1
019 N210139012AA
PULLEY プーリ
1020 X01L52023
DETECTION PLATE ケンシュツバン
1021 X01L52024
DETECTION PLATE ケンシュツハ
゙ン
1
022 N210131187AA
PUSHER プッシャ
1
023 X01L52026
BUSHING ブッシュ
1024 N210131168AA
PUSHER プッシャ
1026 N210131178AA
PUSHER フ
゚ッシャ
1
033 X01L52058
BRACKET(SENSOR) ブラケット(センサ)
M6X20-10.9 A2J (Triva
6
N007
N510017558AA
HEX. SOCKET BUTTON HEAD BOL ロッカクアナツキボタンボルト
EE-SX672A
3
N008
N310EESX672A
SENSOR センサ
LTR32UUZZCL+170LPN(12
1
N015
N510058201AA
BALL SPLINE ボ
ールスプライン
M3X25-10.9 A2J (Triva
6
N502
N510017321AA
HEX. SOCKET HEAD CAP BOLT ロッカクアナツキボルト
3 10H A2J (Trivalent)
10
N503
N510018494AA
ROUND PLAIN WASHER ミガキマルヒラザガネ
M6X12-10.9 A2J (Triva
4
N504
N510017428AA
HEX. SOCKET HEAD CAP BOLT ロッカクアナツキホ
゙ルト
6 10H A2J (Trivalent)
4
N505
N510018481AA
ROUND PLAIN WASHER コガ
タマルヒラザガネ
M3X5-10.9 A2J (Trival
4
N506
N510017333AA
HEX. SOCKET HEAD CAP BOLT ロッカクアナツキボルト
M6X20-10.9 A2J (Triva
4
N507
N510017435AA
HEX. SOCKET HEAD CAP BOLT ロッカクアナツキボルト
M5X16-10.9 A2J (Triva
2
N508
N510017395AA
HEX. SOCKET HEAD CAP BOLT ロッカクアナツキホ
゙ルト
M3X16-10.9 A2J (Triva
2
N509
N510017313AA
HEX. SOCKET HEAD CAP BOLT ロッカクアナツキボルト
M3X10-10.9 A2J (Triva
6
N510
N510017305AA
HEX. SOCKET HEAD CAP BOLT ロッカクアナツキボルト
M6X16-10.9 A2J (Triva
2
N511
N510017433AA
HEX. SOCKET HEAD CAP BOLT ロッカクアナツキボルト
M5X10-10.9 A2J (Triva
2
N512
N510017386AA
HEX. SOCKET HEAD CAP BOLT ロッカクアナツキホ
゙ルト
5 10H A2J (Trivalent)
2
N513
N510018499AA
ROUND PLAIN WASHER ミガキマルヒラザガネ
No.2 3 S A2J (Trivale
6
N523
N510018327AA
SPRING WASHER バネザガネ
M150
FN610074515AA_10-1

下部アンビル部(本体部2)
LOWER ANVIL SECT.(MAIN BODY SECT.-2)
10
FN610074515AA_10-2
M151