部品手册2N7203A389B03 - 第192页
下部アンビル部 (アンビル 動力部4) LOWER ANVIL SECT.(AN VIL DRIVING SECT.-4) 10 FN610129074AA_02-4 M161

PART No.
イラスト
No.
REF
No.
PART NAME
REMARKS
Q'TY
10
下部アンビル部(アンビル動力部3)
LOWER ANVIL SECT.(ANVIL DRIVING SECT.-3)
部 品 名 品 番 個数
備 考
R
1
R
2
1
A001
X02G53126
JOINT シ
゙ョイント
1
004 N210092134AA
SPRING スプリング
2
005 N210092137AA
SPRING スプリング
1006 N210092138AA
SPRING スフ
゚リング
1007 X02G53103
PLATE ベアリンク
゙オサエ
1
012 N210155813AA
PLATE プレート
1
014 N210092147AA
LEVER レバー
1021 N210155814AA
PIPE ハ
゚イプ
1025 N210092161AA
BRACKET ブラケット
1
026 N210092163AA
COLLAR カラー
2027 N210092164AA
COLLAR カラー
1028 N210092165AA
LEVER レハ
゙ー
1
029 X01L53017
SHAFT ジク
1
030 X01L53018
COLLAR カラー
6039 N210048696AA
WASHER ワッシャ
3040 N210084980AA
COLLAR カラ
-
CFN6R-A
1
N009
N531CFN6RA
CAM FOLLOWER カムフォロア
6905ZZ
2
N011
KXF06P1AA00
BEARING ベアリング
CFN8R-A
1
N012
N531CFN8RA
CAM FOLLOWER カムフォロア
F696ZZIMC3PS2S
6
N018
N510020363AA
BEARING ベ
アリング
M6X50-10.9 A2J (Triva
1
N502
N510017446AA
HEX. SOCKET HEAD CAP BOLT ロッカクアナツキボルト
M6-6H-4T A2J (Trivale
6
N503
N510017867AA
HEXAGON NUT ロッカクナット
M6X20-10.9 A2J (Triva
3
N504
N510017435AA
HEX. SOCKET HEAD CAP BOLT ロッカクアナツキホ
゙ルト
M5X10-10.9 A2J (Triva
6
N505
N510017386AA
HEX. SOCKET HEAD CAP BOLT ロッカクアナツキホ
゙ルト
5 10H A2J (Trivalent)
9
N506
N510018499AA
ROUND PLAIN WASHER ミガキマルヒラザガネ
M6X40-10.9 A2J (Triva
2
N509
N510017442AA
HEX. SOCKET HEAD CAP BOLT ロッカクアナツキボルト
M6X10-10.9 A2J (Triva
3
N510
N510017424AA
HEX. SOCKET HEAD CAP BOLT ロッカクアナツキホ
゙ルト
6 10H A2J (Trivalent)
3
N511
N510018501AA
ROUND PLAIN WASHER ミガキマルヒラザガネ
M5X16-10.9 A2J (Triva
3
N516
N510017395AA
HEX. SOCKET HEAD CAP BOLT ロッカクアナツキボルト
M8-6H-4T A2J (Trivale
1
N523
N510017877AA
HEXAGON NUT ロッカクナット
8 10H A2J (Trivalent)
1
N524
N510018503AA
WASHER ヒラサ
゙ガネ
M160
FN610129074AA_02-3

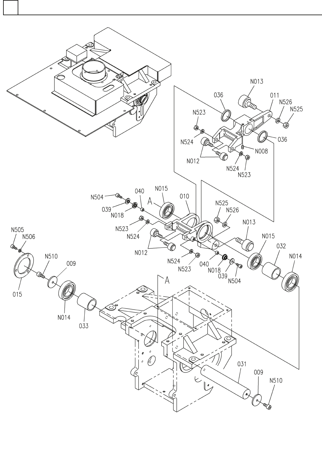
下部アンビル部(アンビル動力部4)
LOWER ANVIL SECT.(ANVIL DRIVING SECT.-4)
10
FN610129074AA_02-4
M161

PART No.
イラスト
No.
REF
No.
PART NAME
REMARKS
Q'TY
10
下部アンビル部(アンビル動力部4)
LOWER ANVIL SECT.(ANVIL DRIVING SECT.-4)
部 品 名 品 番 個数
備 考
R
1
R
2
2009 X02G53105
PLATE ベ
アリングオサエ
1
010 N210108481AA
LEVER レバー
1
011 N210072083AB
LEVER レバー
1015 X02G53112
PLATE ヘ
゙アリングオサエ
1031 X01L53030
SHAFT シ
゙ク
1
032 X01L53032
COLLAR カラー
1
033 X01L53038
COLLAR カラー
2036 X01L53054
SPACER スヘ
゚ーサ
2039 N210048696AA
WASHER ワッシャ
2
040 N210084980AA
COLLAR カラ-
M5X6-45H A2J (Trivale
2
N008
N510018382AA
HEX. SOCKET SET SCREW ロッカクアナツキトメネジ
CFN8R-A
4
N012
N531CFN8RA
CAM FOLLOWER カムフォロア
CFN12R-A
2
N013
N531CFN12RA
CAM FOLLOWER カムフォロア
6006ZZ
2
N014
KXF00K9AA00
BEARING ベアリング
6906ZZ
2
N015
KXF07PCAA00
BEARING ベアリング
F696ZZIMC3PS2S
2
N018
N510020363AA
BEARING ベ
アリング
M6X20-10.9 A2J (Triva
2
N504
N510017435AA
HEX. SOCKET HEAD CAP BOLT ロッカクアナツキボルト
M5X10-10.9 A2J (Triva
3
N505
N510017386AA
HEX. SOCKET HEAD CAP BOLT ロッカクアナツキボルト
5 10H A2J (Trivalent)
3
N506
N510018499AA
ROUND PLAIN WASHER ミガキマルヒラザガネ
M6X10-10.9 A2J (Triva
2
N510
N510017424AA
HEX. SOCKET HEAD CAP BOLT ロッカクアナツキホ
゙ルト
M8-6H-4T A2J (Trivale
4
N523
N510017877AA
HEXAGON NUT ロッカクナット
8 10H A2J (Trivalent)
4
N524
N510018503AA
WASHER ヒラザガネ
M12-6H-4T A2J (Trival
2
N525
N510017895AA
HEXAGON NUT ロッカクナット
12 10H A2J (Trivalent
2
N526
N510018507AA
WASHER ヒラサ
゙ガネ
M162
FN610129074AA_02-4