部品手册2N7203A389B03 - 第219页
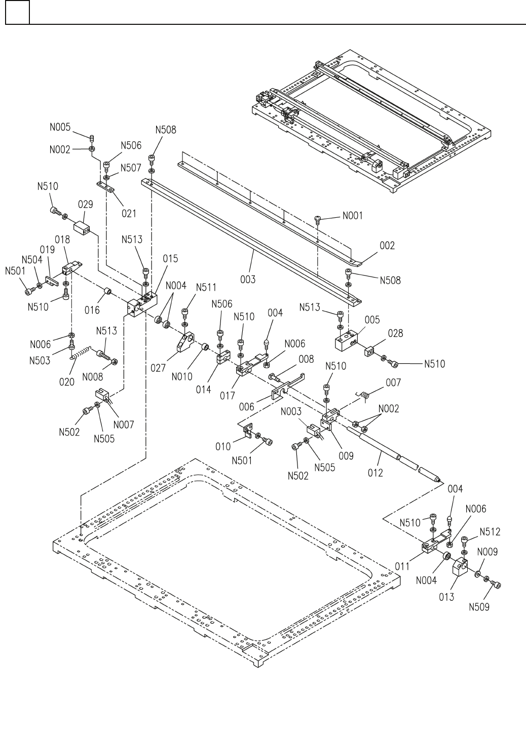
PART No. イラスト No. REF No. PAR T NAME REMARKS Q'TY 15 プリント基板ポ ジショナ部 (1) P.C.B. POSI TIONER SE CT.(1) 部 品 名 品 番 個数 備 考 R 1 R 2 1 N610129964AA POSITIONER UN IT ポシ ゙ショナユニット 1 002 N210066295AA GUIDE ガイド 1 003 N2100…

プリント基板ポジショナ部(1)
P.C.B. POSITIONER SECT.(1)
15
FN610129964AA_02-1
M187

PART No.
イラスト
No.
REF
No.
PART NAME
REMARKS
Q'TY
15
プリント基板ポジショナ部(1)
P.C.B. POSITIONER SECT.(1)
部 品 名 品 番 個数
備 考
R
1
R
2
1 N610129964AA
POSITIONER UNIT ポシ
゙ショナユニット
1
002 N210066295AA
GUIDE ガイド
1
003 N210066184AC
GUIDE ガイド
2004 N210143179AA
PIN ヒ
゚ン
1005 N210152039AA
BLOCK ブロック
1
006 1041314011
LEVER レバー
1
007 102030401203
SPRING バネ
1008 102030401301
PIN ヒ
゚ン
1009 108711400901
BLOCK ブロック
1
010 108711401001
DOG FOR SENSOR ドグ
D=5.0
1011 102030401601
LEVER レバー
1012 108711401202
SHAFT シャフト
1
013 N210132123AA
BLOCK ブロック
C=5.0
1
014 102030402604
BLOCK ブロック
1015 N210152042AB
BLOCK ブロック
1016 108711401601
COLLAR カラー
D=5.0
1
017 102030403402
LEVER レバー
1
018 N210157805AA
LEVER レバー
1019 108711401902
DOG FOR SENSOR ドグ
1020 N210152043AA
SPRING ハ
゙ネ
1
021 108711402102
PLATE プレート
1
027 1087114027
BLOCK ブロック
1028 N210152044AB
GUIDE カ
゙イド
1029 N210152045AA
GUIDE カ
゙イド
M3X4-4.8 A2J (Trivale
6
N001
N510018249AA
TRUSS HEAD SCREW トラスコネジ
M4-6H-4T A2J (Trivale
3
N002
N510017859AA
HEXAGON NUT ロッカクナット
P914SA1
1
N003
N310P914SA1
SENSOR センサ
6800ZZ
3
N004
KXF00M6AA00
BALL BEARING ボールベアリング
M4X10-45H A2J (Trival
1
N005
N510018427AA
HEX. SOCKET SET SCREW ロッカクアナンツキトメネジ
M3-6H-4T A2J (Trivale
3
N006
N510017852AA
HEXAGON NUT ロッカクナット
P914S1
1
N007
N310P914S1
SENSOR センサ
M5-6H-4T A2J (Trivale
1
N008
N510017865AA
HEXAGON NUT ロッカクナット
87FWSSB-D12.0-V5.0-T2
1
N009
N510028918AA
WASHER ワッシャ
K5B1512
1
N010
N510022574AA
BUSHING ブッシュ
M3X5-10.9 A2J (Trival
4
N501
N510017333AA
HEX. SOCKET HEAD CAP BOLT ロッカクアナツキホ
゙ルト
M3X8-10.9 A2J (Trival
4
N502
N510017341AA
HEX. SOCKET HEAD CAP BOLT ロッカクアナツキボルト
M3X16-10.9 A2J (Triva
1
N503
N510017313AA
HEX. SOCKET HEAD CAP BOLT ロッカクアナツキボルト
3 10H A2J (Trivalent)
2
N504
N510018494AA
ROUND PLAIN WASHER ミカ
゙キマルヒラザガネ
No.2 3 S A2J (Trivale
4
N505
N510018327AA
SPRING WASHER バネサ
゙ガネ
M4X10-10.9 A2J (Triva
4
N506
N510017344AA
HEX. SOCKET HEAD CAP BOLT ロッカクアナツキボルト
4 10H A2J (Trivalent)
2
N507
N510018497AA
ROUND PLAIN WASHER ミガキマルヒラザガネ
M5X8-10.9 A2J (Trival
4
N508
N510017419AA
HEX. SOCKET HEAD CAP BOLT ロッカクアナツキホ
゙ルト
M5X10-10.9 A2J (Triva
1
N509
N510017386AA
HEX. SOCKET HEAD CAP BOLT ロッカクアナツキボルト
M5X12-10.9 A2J (Triva
10
N510
N510017390AA
HEX. SOCKET HEAD CAP BOLT ロッカクアナツキボルト
M5X16-10.9 A2J (Triva
2
N511
N510017395AA
HEX. SOCKET HEAD CAP BOLT ロッカクアナツキボルト
M5X20-10.9 A2J (Triva
2
N512
N510017398AA
HEX. SOCKET HEAD CAP BOLT ロッカクアナツキホ
゙ルト
M5X30-10.9 A2J (Triva
5
N513
N510017401AA
HEX. SOCKET HEAD CAP BOLT ロッカクアナツキボルト
M188
FN610129964AA_02-1

プリント基板ポジショナ部(2)
P.C.B. POSITIONER SECT.(2)
15
FN610129964AA_02-2
M189