部品手册2N7203A389B03 - 第249页
PART No. イラスト No. REF No. PAR T NAME REMARKS Q'TY 18 部品ボ ックス部(リールサポ ート部<大 >)(オプショ ン) PARTS BOX SECT.(REEL SUPPORT SECT. <LARGE> )(OPTION) 部 品 名 品 番 個数 備 考 R 1 R 2 1 N610130362AA PARTS BOX U NIT ブヒンホ …

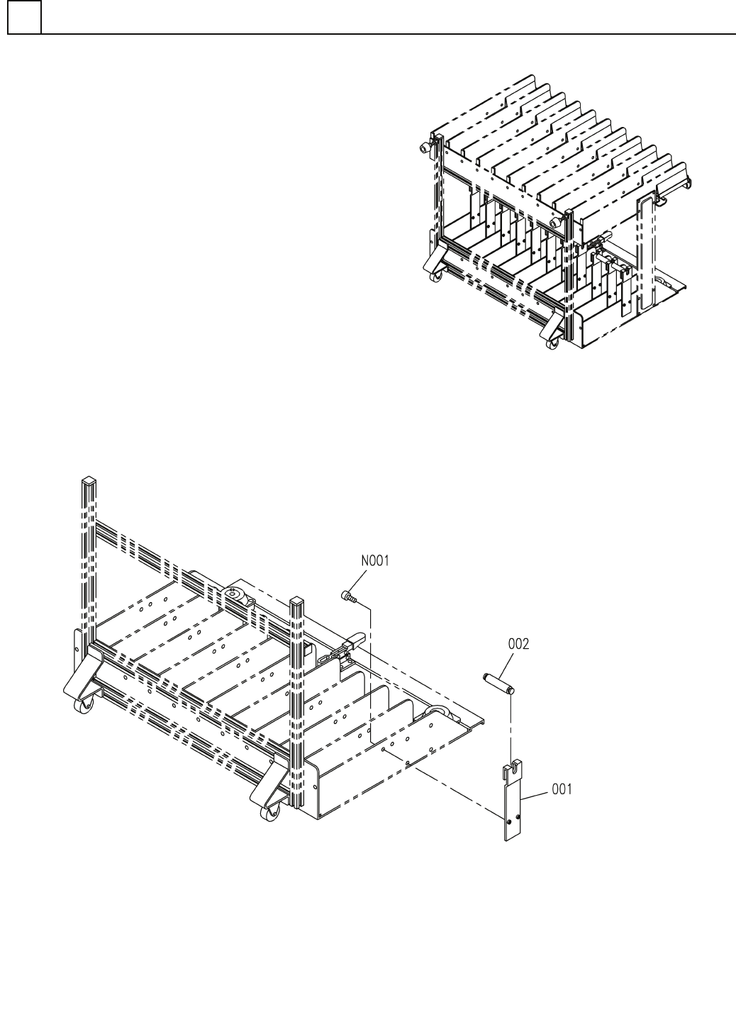
部品ボックス部(リールサポート部<大>)(オプション)
PARTS BOX SECT.(REEL SUPPORT SECT. <LARGE>)(OPTION)
18
FN610130362AA_00
M217

PART No.
イラスト
No.
REF
No.
PART NAME
REMARKS
Q'TY
18
部品ボックス部(リールサポート部<大>)(オプション)
PARTS BOX SECT.(REEL SUPPORT SECT. <LARGE>)(OPTION)
部 品 名 品 番 個数
備 考
R
1
R
2
1 N610130362AA
PARTS BOX UNIT ブヒンホ
゙ックスユニット
2
001 N210142694AA
HOLDER(REEL) ホルダ(リール)
1
002 N210143009AA
SHAFT シャフト
M4X6-10.9 A2J (Trival
4
N001
N510017534AA
HEX. SOCKET BUTTON HEAD BOL ロッカクアナツキホ
゙タンボルト
M218
FN610130362AA_00

部品ボックス部(リールサポート部<小>)(オプション)
PARTS BOX SECT.(REEL SUPPORT SECT. <SMALL>)(OPTION)
18
FN610130363AA_00
M219