部品手册2N7203A389B03 - 第269页
PART No. イラスト No. REF No. PAR T NAME REMARKS Q'TY 19 部品搬送部 (アイドラー プーリー部) PARTS TRANS FER SECT. (IDLER PULLE Y SECT.) 部 品 名 品 番 個数 備 考 R 1 R 2 1 N610074165AA PARTS TRANSFE R UNIT ブヒンハンソウユニット 1 001 X01A35005 PULLEY…

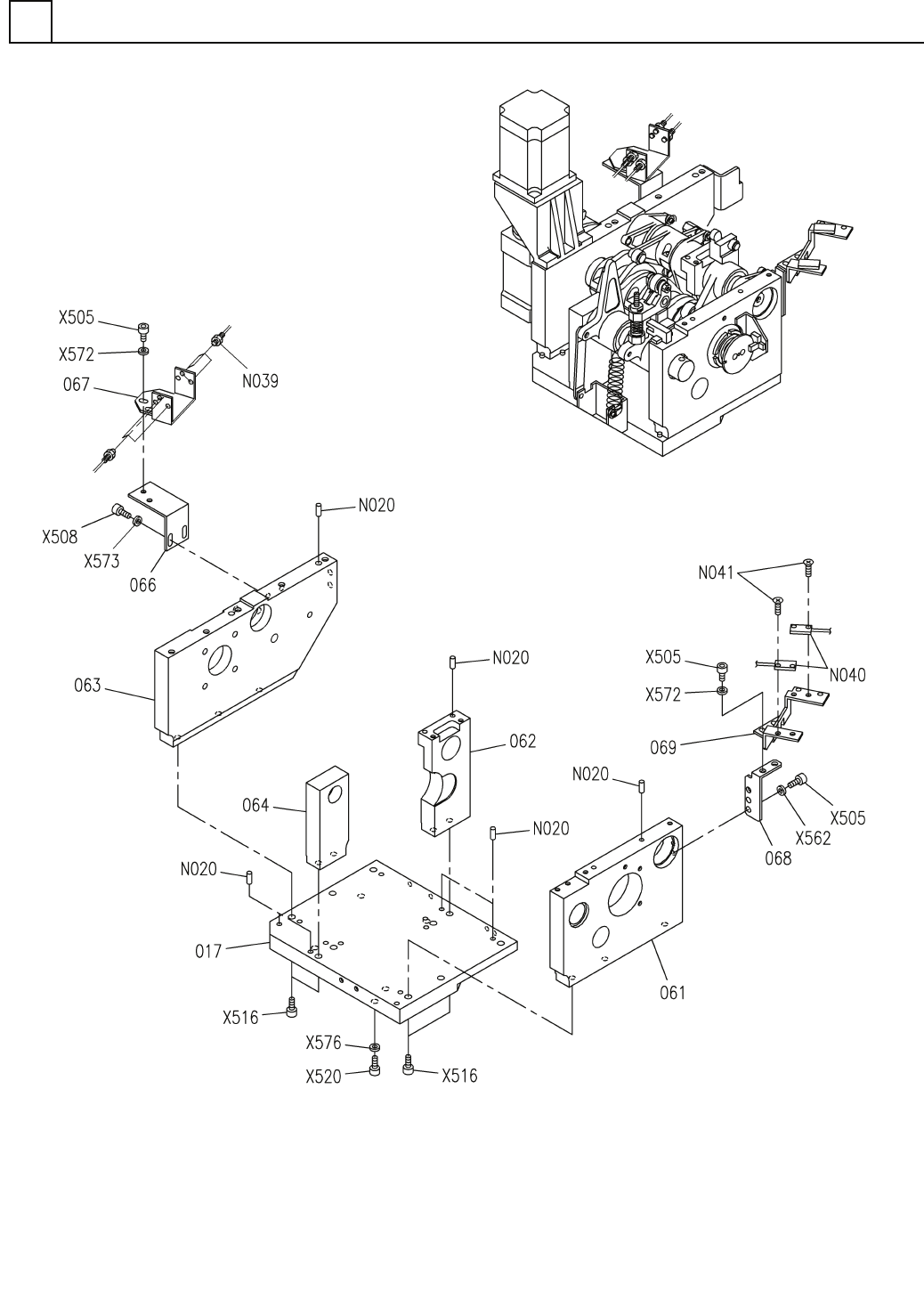
部品搬送部(アイドラープーリー部)
PARTS TRANSFER SECT.(IDLER PULLEY SECT.)
19
FN610074165AA_01
M237

PART No.
イラスト
No.
REF
No.
PART NAME
REMARKS
Q'TY
19
部品搬送部(アイドラープーリー部)
PARTS TRANSFER SECT.(IDLER PULLEY SECT.)
部 品 名 品 番 個数
備 考
R
1
R
2
1 N610074165AA
PARTS TRANSFER UNIT ブヒンハンソウユニット
1
001 X01A35005
PULLEY(TIMING) プーリー(タイミング)
1
002 X01A35006
COLLAR カラー
1003 X01A35008
COLLAR カラー
1004 X02G35101
COLLAR カラー
1
005 X01A35004A
SHAFT シャフト
6008ZZ
2
N001
XLC6008ZZ
BALL BEARING ボールベアリング
4 10H A2J (Trivalent)
4
N501
N510018497AA
ROUND PLAIN WASHER ミカ
゙キマルヒラザガネ
6 10H A2J (Trivalent)
2
N502
N510018501AA
ROUND PLAIN WASHER ミガキマルヒラサ
゙ガネ
M4X10-10.9 A2J (Triva
4
N503
N510017344AA
HEX. SOCKET HEAD CAP BOLT ロッカクアナツキボルト
M6X16-10.9 A2J (Triva
2
N504
N510017433AA
HEX. SOCKET HEAD CAP BOLT ロッカクアナツキボルト
M8X25-10.9 A2S (Triva
4
N505
N510017474AA
HEX. SOCKET HEAD CAP BOLT ロッカクアナツキホ
゙ルト
M238
FN610074165AA_01

部品加工部(動力部1)
PARTS PROCESS SECT.(DRIVING SECT.-1)
20
FN610125387AA_07-1
M239