部品手册2N7203A389B03 - 第279页
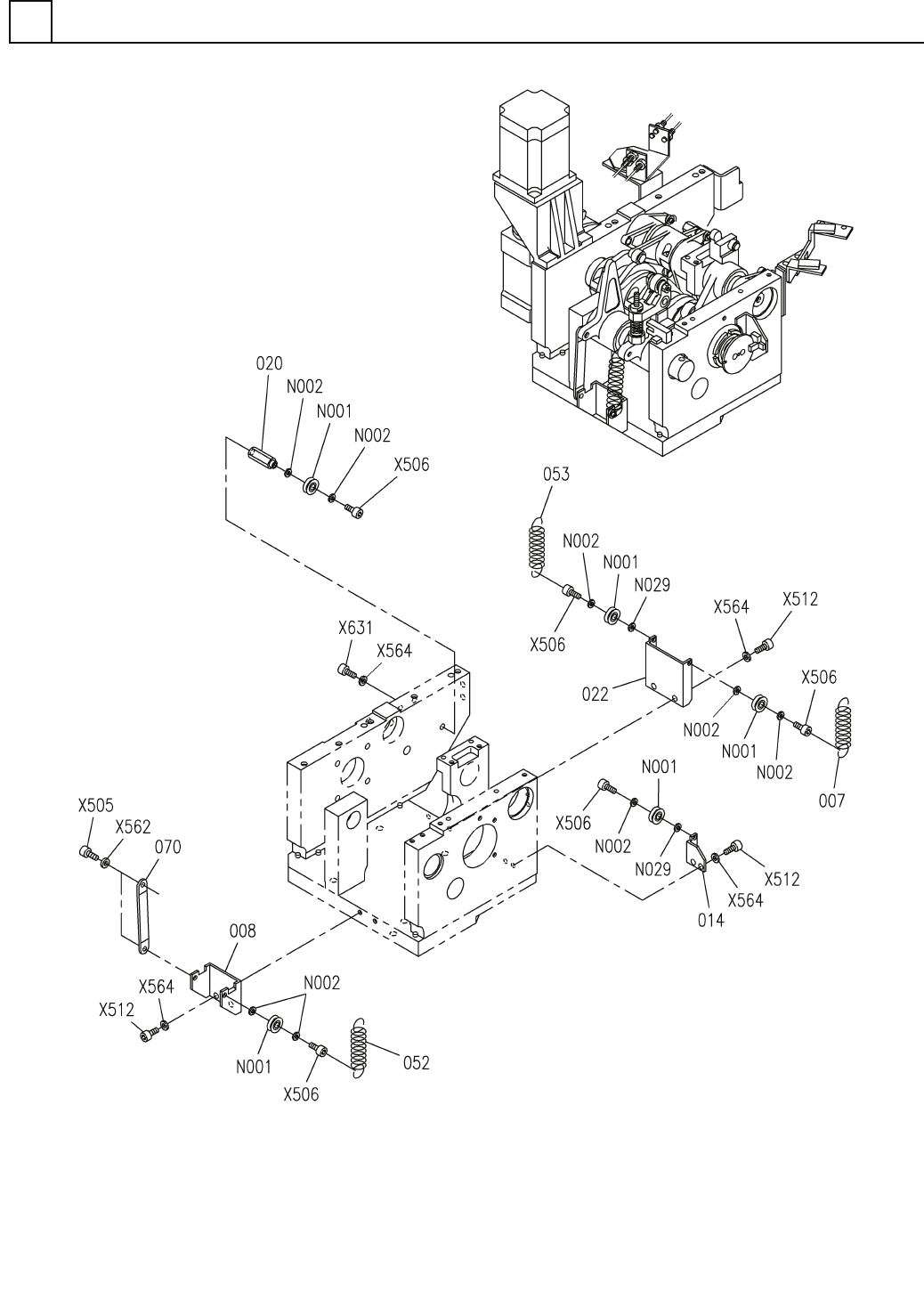
PART No. イラスト No. REF No. PAR T NAME REMARKS Q'TY 20 部品加工部( 動力部5) PARTS PROCE SS SECT.( DRIVING SECT .-5) 部 品 名 品 番 個数 備 考 R 1 R 2 1 007 N210156562AA SPRING ハ ゙ネ 1 008 N210148356AB BRACKET ブラケット 1 014 N210156571AB …

部品加工部(動力部5)
PARTS PROCESS SECT.(DRIVING SECT.-5)
20
FN610125387AA_07-5
M247

PART No.
イラスト
No.
REF
No.
PART NAME
REMARKS
Q'TY
20
部品加工部(動力部5)
PARTS PROCESS SECT.(DRIVING SECT.-5)
部 品 名 品 番 個数
備 考
R
1
R
2
1007 N210156562AA
SPRING ハ
゙ネ
1
008 N210148356AB
BRACKET ブラケット
1
014 N210156571AB
BRACKET ブラケット
1020 N210148360AA
POST ホ
゚スト
1022 N210148361AA
BRACKET ブラケット
1
052 X01A14054
SPRING バネ
1
053 N210137980AA
TENSION SPRING テンションバネ
1070 N210157355AB
BRACKET フ
゙ラケット
4-13VZZ
5
N001
N648413VZZ
BEARING ベアリンク
゙
87FWSSB-D6.0-V4.0-T1.
8
N002
N510031417AA
WASHER ザガネ
87FWSSB-D6.0-V4.0-T2.
2
N029
N510028901AA
WASHER ワッシャ
M4X10-10.9 A2J (Triva
2
X505
N510017344AA
HEX. SOCKET HEAD CAP BOLT ロッカクアナツキホ
゙ルト
M4X16-10.9 A2J (Triva
5
X506
N510017351AA
HEX. SOCKET HEAD CAP BOLT ロッカクアナツキボルト
M6X16-10.9 A2J (Triva
6
X512
N510017433AA
HEX. SOCKET HEAD CAP BOLT ロッカクアナツキボルト
4 10H A2J (Trivalent)
2
X562
N510018497AA
ROUND PLAIN WASHER ミガキマルヒラザガネ
6 10H A2J (Trivalent)
7
X564
N510018501AA
ROUND PLAIN WASHER ミガ
キマルヒラザガネ
M6X35-10.9 A2J (Triva
1
X631
N510017440AA
HEX. SOCKET HEAD CAP BOLT ロッカクアナツキボルト
M248
FN610125387AA_07-5

部品加工部(部品位置決め部(2P/3P)1)
PARTS PROCESS SECT.(PARTS POSITIONING SECT(2P/3P).-1)
20
FN610125684AA_02-1
M249