部品手册2N7203A389B03 - 第282页
部品加工部( 部品位置決 め部(2P /3P)2) PARTS PROCE SS SECT.( PARTS POSITI ONING SECT (2P/3P).-2) 20 FN610125684AA_02-2 M251

PART No.
イラスト
No.
REF
No.
PART NAME
REMARKS
Q'TY
20
部品加工部(部品位置決め部(2P/3P)1)
PARTS PROCESS SECT.(PARTS POSITIONING SECT(2P/3P).-1)
部 品 名 品 番 個数
備 考
R
1
R
2
1 N610125684AA
PARTS PROCESS UNIT ブヒンカコウユニット
1
001 N210085709AB
HOOK フック
1
002 N210085710AB
STOPPER ストッパ
1003 N210085711AB
STOPPER ストッハ
゚
1005 N210098677AA
SHAFT シャフト
1
006 N210154798AA
SLIDE BLOCK スライドブロック
1
007 N210154797AA
SLIDE BLOCK スライドブロック
1009 N210148379AB
PLATE フ
゚レート
1010 N210085719AC
PIN ヒ
゚ン
1
013 N210088894AA
PLATE プレート
2015 N210084372AC
LEVER(GUIDE) レバー(ガイド)
2022 X02P18008
SPRING スフ
゚リング
1
023 X02P18007
HOLDER(SLIDE) ホルダ(スライド)
1
024 X02P18006
GUIDE ガイド
1025 X02P18005
GUIDE ガイド
1026 X02P45002
HOLDER(SLIDE) ホルタ
゙(スライド)
1
027 N210145667AA
PIN ピン
2
028 X02P1800301
PIN ピン
1029 N210088897AA
SPRING スプリング
1031 X01A1102603
SPRING アッシュクハ
゙ネ
LM10UU
1
N001
N513LM10UU
BUSHING ブッシング
4RSH9ZMUU+175LM
1
N002
N510040570AA
LINEAR WAY リニアウェイ
2X10,STEEL
1
N003
XPL2A10WFW
SPRING PIN スフ
゚リングピン
CJPS6-5-B
2
N004
KXF07S0AA00
CYLINDER シリンタ
゙
N0S4T
1
N006
N533N0S4T
ROD END ロッドエンド
NOS4TL
1
N007
N533N0S4TL
ROD END ロッドエンド
M-5H-6
1
N008
KXF02T8AA00
FITTING ツキ
゙テ
M-5HL-6
1
N009
KXF02TAAA00
FITTING ツギテ
KJL06-M5
2
N014
KXF029LAA00
FITTING ツギテ
87LMST10
1
N015
N510036441AA
PLATE プレート
87SFJ8-20.0-LKC
2
N016
N510059451AA
SHAFT シャフト
MMS4-10
2
N019
N986MMS410
PIN ピン
87LBMKN4-60
1
N023
N510041171AA
ROD ロッド
E0240-029-1000-S
2
N024
N510059437AA
SPRING バネ
M3X8-10.9 A2J (Trival
25
X502
N510017341AA
HEX. SOCKET HEAD CAP BOLT ロッカクアナツキホ
゙ルト
M3X12-10.9 A2J (Triva
14
X503
N510017308AA
HEX. SOCKET HEAD CAP BOLT ロッカクアナツキボルト
M4X8-10.9 A2J (Trival
4
X615
N510017381AA
HEX. SOCKET HEAD CAP BOLT ロッカクアナツキボルト
M4X12-10.9 A2J (Triva
2
X616
N510017346AA
HEX. SOCKET HEAD CAP BOLT ロッカクアナツキホ
゙ルト
M4X30-10.9 A2J (Triva
1
X619
N510017361AA
HEX. SOCKET HEAD CAP BOLT ロッカクアナツキホ
゙ルト
M5X20-10.9 A2J (Triva
3
X510
N510017398AA
HEX. SOCKET HEAD CAP BOLT ロッカクアナツキボルト
M6X20-10.9 A2J (Triva
3
X513
N510017435AA
HEX. SOCKET HEAD CAP BOLT ロッカクアナツキボルト
4 10H A2J (Trivalent)
5
X562
N510018497AA
ROUND PLAIN WASHER ミガ
キマルヒラザガネ
5 10H A2J (Trivalent)
3
X563
N510018499AA
ROUND PLAIN WASHER ミガキマルヒラザガネ
6 10H A2J (Trivalent)
3
X564
N510018501AA
ROUND PLAIN WASHER ミガキマルヒラザガネ
10 10H A2J (Trivalent
1
X556
N510018483AA
ROUND PLAIN WASHER コガタマルヒラザガネ
M3-6H-4T A2J (Trivale
6
X591
N510017849AA
HEXAGON NUT ロッカクナット
M4-6H-4T A2J (Trivale
2
X592
N510017855AA
HEXAGON NUT ロッカクナット
M250
FN610125684AA_02-1

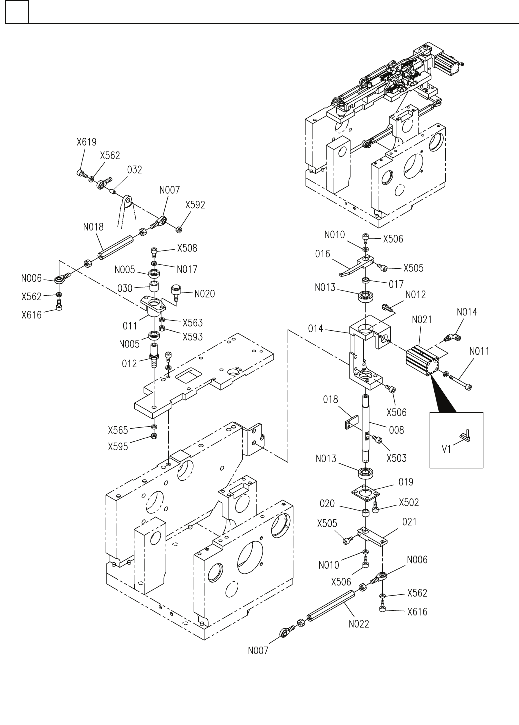
部品加工部(部品位置決め部(2P/3P)2)
PARTS PROCESS SECT.(PARTS POSITIONING SECT(2P/3P).-2)
20
FN610125684AA_02-2
M251

PART No.
イラスト
No.
REF
No.
PART NAME
REMARKS
Q'TY
20
部品加工部(部品位置決め部(2P/3P)2)
PARTS PROCESS SECT.(PARTS POSITIONING SECT(2P/3P).-2)
部 品 名 品 番 個数
備 考
R
1
R
2
1008 N210154460AA
SHAFT シャフト
1
011 N210085720AA
LEVER レバー
1
012 N210085721AA
PIN ピン
1014 N210154643AB
BRACKET フ
゙ラケット
1016 X01L11026
LEVER レハ
゙ー
1
017 X01A11046
COLLAR カラー
1
018 X02G11120
PLATE プレート
1019 X01L11050
PLATE ヘ
゙アリングオサエ
1020 X01L11051
SPACER スヘ
゚ーサ
1
021 X01A11047
LEVER レバー
1030 N210088898AA
COLLAR カラー
1032 N210098686AA
COLLAR カラー
6800ZZ
2
N005
KXF00M6AA00
BALL BEARING ボールベアリング
N0S4T
2
N006
N533N0S4T
ROD END ロッドエンド
NOS4TL
2
N007
N533N0S4TL
ROD END ロッドエンド
87FWSSB-D15.0-V4.0-T3
2
N010
N510028123AA
WASHER ワッシャ
M3X40
2
N011
N401CDQS-D87
BOLT ボルト
USB4-15
1
N012
N986USB415
STOPPER BOLT ストッパボルト
6000ZZ
2
N013
KXF0E3BVA00
BEARING ベアリング
KJL06-M5
2
N014
KXF029LAA00
FITTING ツキ
゙テ
87FWSSB-D12.0-V5.0-T3
1
N017
N510036443AA
WASHER ワッシャ
87LBMFN4-75
1
N018
N510041172AA
ROD ロッド
CFN5R-A
1
N020
N531CFN5RA
CAM FOLLOWER カムフォロア
CDQSB16-15D-F9NVS
1
N021
N401CDQS-D76
CYLINDER シリンタ
゙
87LBMFN4-125
1
N022
N510023242AA
ROD ロッド
M3X8-10.9 A2J (Trival
4
X502
N510017341AA
HEX. SOCKET HEAD CAP BOLT ロッカクアナツキボルト
M3X12-10.9 A2J (Triva
2
X503
N510017308AA
HEX. SOCKET HEAD CAP BOLT ロッカクアナツキホ
゙ルト
M4X10-10.9 A2J (Triva
2
X505
N510017344AA
HEX. SOCKET HEAD CAP BOLT ロッカクアナツキボルト
M4X12-10.9 A2J (Triva
2
X616
N510017346AA
HEX. SOCKET HEAD CAP BOLT ロッカクアナツキボルト
M4X16-10.9 A2J (Triva
5
X506
N510017351AA
HEX. SOCKET HEAD CAP BOLT ロッカクアナツキボルト
M4X30-10.9 A2J (Triva
1
X619
N510017361AA
HEX. SOCKET HEAD CAP BOLT ロッカクアナツキホ
゙ルト
M5X12-10.9 A2J (Triva
1
X508
N510017390AA
HEX. SOCKET HEAD CAP BOLT ロッカクアナツキボルト
4 10H A2J (Trivalent)
3
X562
N510018497AA
ROUND PLAIN WASHER ミガキマルヒラザガネ
5 10H A2J (Trivalent)
1
X563
N510018499AA
ROUND PLAIN WASHER ミガキマルヒラザガネ
8 10H A2J (Trivalent)
1
X565
N510018503AA
WASHER ヒラサ
゙ガネ
M4-6H-4T A2J (Trivale
1
X592
N510017855AA
HEXAGON NUT ロッカクナット
M5-6H-4T A2J (Trivale
1
X593
N510017862AA
HEXAGON NUT ロッカクナット
M8-6H-4T A2J (Trivale
1
X595
N510017881AA
HEXAGON NUT ロッカクナット
D-F9NV
1V 1 N401DF9NV
SENSOR センサ
M252
FN610125684AA_02-2