部品手册2N7203A389B03 - 第287页
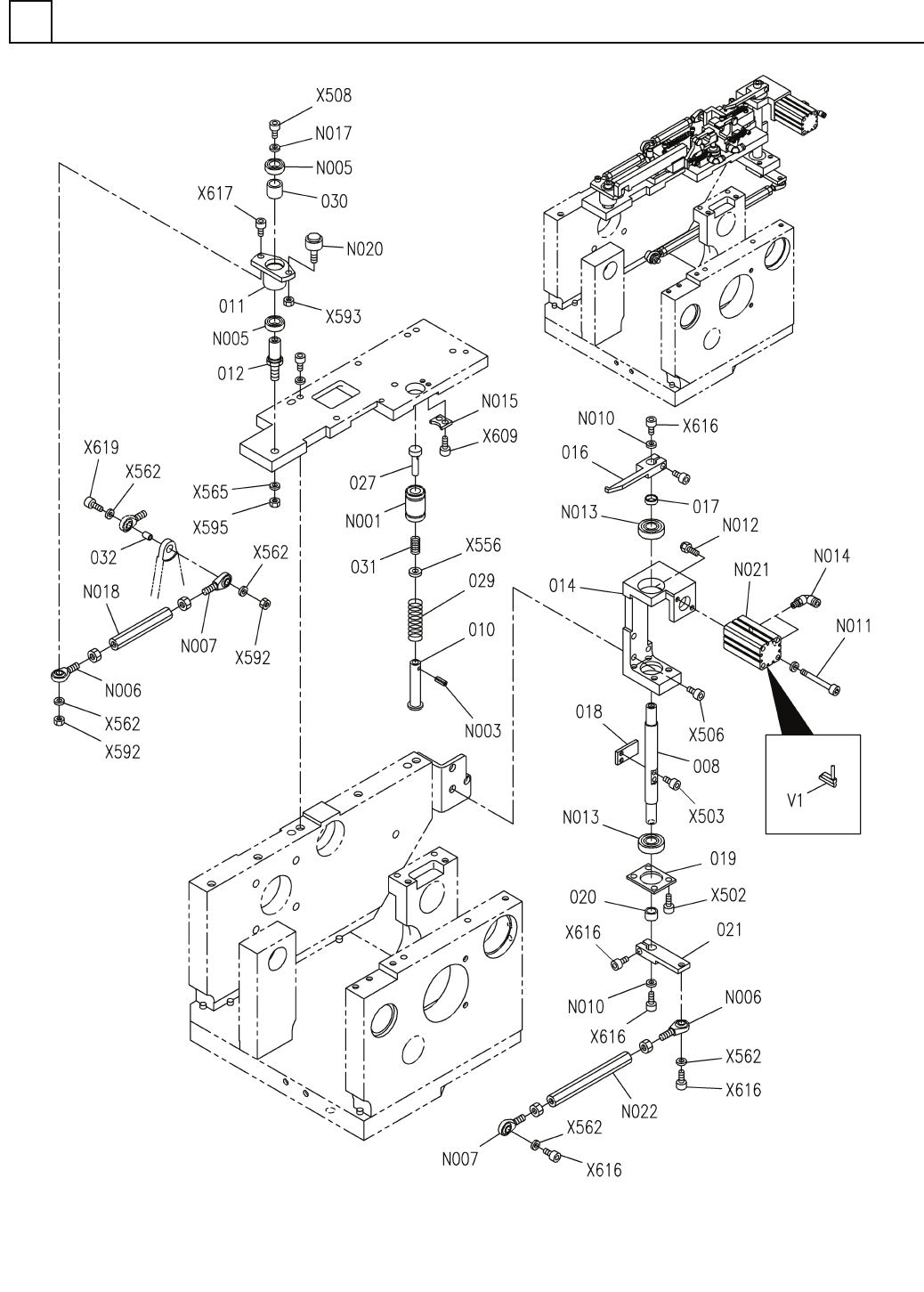
PART No. イラスト No. REF No. PAR T NAME REMARKS Q'TY 20 部品加工部( 部品位置決 め部(4P) 2) PARTS PROCE SS SECT.( PARTS POSITI ONING SECT (4P).-2) 部 品 名 品 番 個数 備 考 R 1 R 2 1 008 N210154460AA SHAFT シャフト 1 010 N210085719AC PIN ピン 1 …

部品加工部(部品位置決め部(4P)2)
PARTS PROCESS SECT.(PARTS POSITIONING SECT(4P).-2)
20
FN610130086AA_05-2
M255

PART No.
イラスト
No.
REF
No.
PART NAME
REMARKS
Q'TY
20
部品加工部(部品位置決め部(4P)2)
PARTS PROCESS SECT.(PARTS POSITIONING SECT(4P).-2)
部 品 名 品 番 個数
備 考
R
1
R
2
1008 N210154460AA
SHAFT シャフト
1
010 N210085719AC
PIN ピン
1
011 N210085720AA
LEVER レバー
1012 N210085721AA
PIN ヒ
゚ン
1014 N210154643AB
BRACKET ブラケット
1
016 X01L11026
LEVER レバー
1
017 X01A11046
COLLAR カラー
1018 X02G11120
PLATE フ
゚レート
1019 X01L11050
PLATE ベアリンク
゙オサエ
1
020 X01L11051
SPACER スペーサ
1021 X01A11047
LEVER レバー
1027 N210103579AB
PIN ヒ
゚ン
1
029 N210088897AA
SPRING スプリング
1
030 N210088898AA
COLLAR カラー
1031 X01A1102603
SPRING アッシュクバネ
1032 N210098686AA
COLLAR カラー
LM10UU
1
N001
N513LM10UU
BUSHING ブッシング
2X10,STEEL
1
N003
XPL2A10WFW
SPRING PIN スプリングピン
6800ZZ
2
N005
KXF00M6AA00
BALL BEARING ボールベアリング
N0S4T
2
N006
N533N0S4T
ROD END ロット
゙エンド
NOS4TL
2
N007
N533N0S4TL
ROD END ロッドエンド
87FWSSB-D15.0-V4.0-T3
2
N010
N510028123AA
WASHER ワッシャ
M3X40
2
N011
N401CDQS-D87
BOLT ホ
゙ルト
USB4-15
1
N012
N986USB415
STOPPER BOLT ストッハ
゚ボルト
6000ZZ
2
N013
KXF0E3BVA00
BEARING ベアリング
KJL06-M5
2
N014
KXF029LAA00
FITTING ツギテ
87LMST10
1
N015
N510036441AA
PLATE フ
゚レート
87FWSSB-D12.0-V5.0-T3
1
N017
N510036443AA
WASHER ワッシャ
87LBMFN4-75
1
N018
N510041172AA
ROD ロッド
CFN5R-A
1
N020
N531CFN5RA
CAM FOLLOWER カムフォロア
CDQSB16-15D-F9NVS
1
N021
N401CDQS-D76
CYLINDER シリンタ
゙
87LBMFN4-125
1
N022
N510023242AA
ROD ロッド
M3X6-10.9 A2J (Trival
2
X609
N510017337AA
HEX. SOCKET HEAD CAP BOLT ロッカクアナツキボルト
M3X8-10.9 A2J (Trival
4
X502
N510017341AA
HEX. SOCKET HEAD CAP BOLT ロッカクアナツキボルト
M3X12-10.9 A2J (Triva
2
X503
N510017308AA
HEX. SOCKET HEAD CAP BOLT ロッカクアナツキホ
゙ルト
M4X12-10.9 A2J (Triva
5
X616
N510017346AA
HEX. SOCKET HEAD CAP BOLT ロッカクアナツキボルト
M4X16-10.9 A2J (Triva
3
X506
N510017351AA
HEX. SOCKET HEAD CAP BOLT ロッカクアナツキボルト
M4X20-10.9 A2J (Triva
1
X617
N510017354AA
HEX. SOCKET HEAD CAP BOLT ロッカクアナツキホ
゙ルト
M4X30-10.9 A2J (Triva
1
X619
N510017361AA
HEX. SOCKET HEAD CAP BOLT ロッカクアナツキホ
゙ルト
M5X12-10.9 A2J (Triva
1
X508
N510017390AA
HEX. SOCKET HEAD CAP BOLT ロッカクアナツキボルト
4 10H A2J (Trivalent)
5
X562
N510018497AA
ROUND PLAIN WASHER ミガキマルヒラザガネ
8 10H A2J (Trivalent)
1
X565
N510018503AA
WASHER ヒラサ
゙ガネ
10 10H A2J (Trivalent
1
X556
N510018483AA
ROUND PLAIN WASHER コガタマルヒラザガネ
M4-6H-4T A2J (Trivale
2
X592
N510017855AA
HEXAGON NUT ロッカクナット
M5-6H-4T A2J (Trivale
1
X593
N510017862AA
HEXAGON NUT ロッカクナット
M8-6H-4T A2J (Trivale
1
X595
N510017877AA
HEXAGON NUT ロッカクナット
D-F9NV
1
V 1 N401DF9NV
SENSOR センサ
M256
FN610130086AA_05-2

部品加工部(Vカット部(2P/3P)1)
PART PROCESS SECT. (V-CUT SECT.(2P/3P)-1)
20
FN610125960AA_02-1
M257