部品手册2N7203A389B03 - 第289页
PART No. イラスト No. REF No. PAR T NAME REMARKS Q'TY 20 部品加工部 (Vカット部 (2P/3P)1) PART PROCES S SECT. ( V-CUT SECT.( 2P/3P)-1) 部 品 名 品 番 個数 備 考 R 1 R 2 1 N610125960AA PARTS PROCESS UNIT ブヒンカコウユニット 1 001 N210149186AA BLOC…

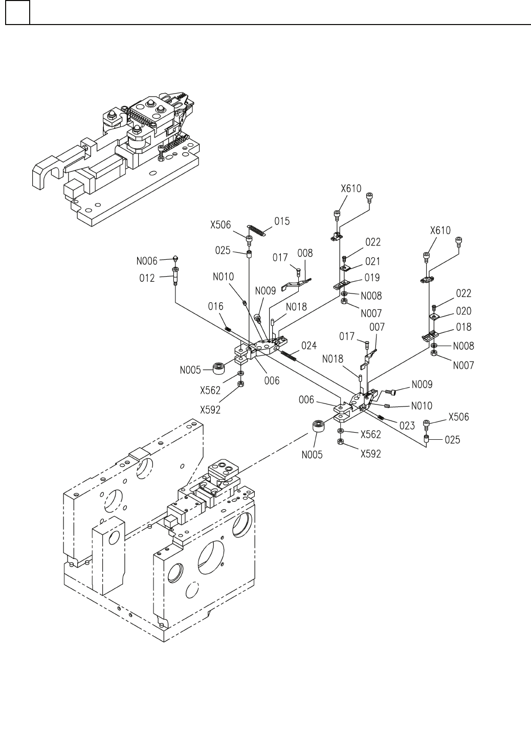
部品加工部(Vカット部(2P/3P)1)
PART PROCESS SECT. (V-CUT SECT.(2P/3P)-1)
20
FN610125960AA_02-1
M257

PART No.
イラスト
No.
REF
No.
PART NAME
REMARKS
Q'TY
20
部品加工部(Vカット部(2P/3P)1)
PART PROCESS SECT. (V-CUT SECT.(2P/3P)-1)
部 品 名 品 番 個数
備 考
R
1
R
2
1 N610125960AA
PARTS PROCESS UNIT ブヒンカコウユニット
1
001 N210149186AA
BLOCK ブロック
1
002 N210131188AA
PUSHER プッシャ
2003 X02G13105
PIN ヒ
゚ン
1004 X02G13111
COLLAR カラー
1
005 X01L1300201
FORK フォーク
1
010 X01A13001
HOOK フック
1011 N210156839AA
GUIDE カ
゙イド
2013 X01A13014
BUSHING ブッシュ
2
014 X01A13016
BUSHING ブッシュ
1026 N210108085AA
PLATE プレート
1027 N210130940AB
LEVER レハ
゙ー
1
030 N210088893AB
PIN ピン
6566
1
N001
N9866566
SPRING バネ
87SBSPO4-30
1
N002
N510023413AA
POST ポスト
MR95ZZ1
2
N003
N510001936AA
BEARING ベ
アリング
SPP4-15
2
N004
KXF052RAA00
PIN ピン
NP3.2X3.5
2
N006
N560NP3.23.5
GREASE NIPPLE グリスニップル
MMS4-10
2
N015
N986MMS410
PIN ピン
M4X20-6g 4T A2J (Triv
1
N017
N510017729AA
HEXAGON HEAD BOLT ロッカクホ
゙ルト
M3X5-10.9 A2J (Trival
1
X501
N510017333AA
HEX. SOCKET HEAD CAP BOLT ロッカクアナツキボルト
M3X12-10.9 A2J (Triva
3
X503
N510017308AA
HEX. SOCKET HEAD CAP BOLT ロッカクアナツキボルト
M4X8-10.9 A2J (Trival
4
X615
N510017381AA
HEX. SOCKET HEAD CAP BOLT ロッカクアナツキホ
゙ルト
M4X12-10.9 A2J (Triva
4
X616
N510017346AA
HEX. SOCKET HEAD CAP BOLT ロッカクアナツキホ
゙ルト
M4X25-10.9 A2J (Triva
1
X618
N510017359AA
HEX. SOCKET HEAD CAP BOLT ロッカクアナツキボルト
M5X12-10.9 A2J (Triva
2
X508
N510017390AA
HEX. SOCKET HEAD CAP BOLT ロッカクアナツキボルト
M5X20-10.9 A2J (Triva
2
X510
N510017398AA
HEX. SOCKET HEAD CAP BOLT ロッカクアナツキホ
゙ルト
M6X20-10.9 A2J (Triva
2
X513
N510017435AA
HEX. SOCKET HEAD CAP BOLT ロッカクアナツキボルト
6 10H A2J (Trivalent)
2
X564
N510018501AA
ROUND PLAIN WASHER ミガキマルヒラザガネ
3 10H A2J (Trivalent)
1
X551
N510018478AA
ROUND PLAIN WASHER コガタマルヒラザガネ
5 10H A2J (Trivalent)
4
X553
N510018480AA
ROUND PLAIN WASHER コガ
タマルヒラザガネ
M4-6H-4T A2J (Trivale
2
X592
N510017855AA
HEXAGON NUT ロッカクナット
M258
FN610125960AA_02-1

部品加工部(Vカット部(2P/3P)2)
PART PROCESS SECT. (V-CUT SECT.(2P/3P)-2)
20
FN610125960AA_02-2
M259