部品手册2N7203A389B03 - 第296页
部品加工部( Vカット部 (4P)2) PART PROCES S SECT. ( V-CUT SECT.( 4P)-2) 20 FN610130477AA_03-2 M265

PART No.
イラスト
No.
REF
No.
PART NAME
REMARKS
Q'TY
20
部品加工部(Vカット部(4P)1)
PART PROCESS SECT. (V-CUT SECT.(4P)-1)
部 品 名 品 番 個数
備 考
R
1
R
2
1 N610130477AA
PARTS PROCESS UNIT ブヒンカコウユニット
1
001 N210149186AA
BLOCK ブロック
1
002 N210131188AA
PUSHER プッシャ
2003 X02G13105
PIN ヒ
゚ン
1004 X02G13111
COLLAR カラー
1
005 X01L1300201
FORK フォーク
1
010 X01A13001
HOOK フック
1011 N210156839AA
GUIDE カ
゙イド
2013 X01A13014
BUSHING ブッシュ
2
014 X01A13016
BUSHING ブッシュ
1026 N210108085AA
PLATE プレート
1027 N210130940AB
LEVER レハ
゙ー
1
030 N210088893AB
PIN ピン
6566
1
N001
N9866566
SPRING バネ
87SBSPO4-30
1
N002
N510023413AA
POST ポスト
MR95ZZ1
2
N003
N510001936AA
BEARING ベ
アリング
SPP4-15
2
N004
KXF052RAA00
PIN ピン
NP3.2X3.5
2
N006
N560NP3.23.5
GREASE NIPPLE グリスニップル
MMS4-10
2
N015
N986MMS410
PIN ピン
M4X20-6g 4T A2J (Triv
1
N017
N510017729AA
HEXAGON HEAD BOLT ロッカクホ
゙ルト
M3X5-10.9 A2J (Trival
1
X501
N510017333AA
HEX. SOCKET HEAD CAP BOLT ロッカクアナツキボルト
M3X12-10.9 A2J (Triva
3
X503
N510017308AA
HEX. SOCKET HEAD CAP BOLT ロッカクアナツキボルト
M4X8-10.9 A2J (Trival
4
X615
N510017381AA
HEX. SOCKET HEAD CAP BOLT ロッカクアナツキホ
゙ルト
M4X12-10.9 A2J (Triva
4
X616
N510017346AA
HEX. SOCKET HEAD CAP BOLT ロッカクアナツキホ
゙ルト
M4X25-10.9 A2J (Triva
1
X618
N510017359AA
HEX. SOCKET HEAD CAP BOLT ロッカクアナツキボルト
M5X12-10.9 A2J (Triva
2
X508
N510017390AA
HEX. SOCKET HEAD CAP BOLT ロッカクアナツキボルト
M5X20-10.9 A2J (Triva
2
X510
N510017398AA
HEX. SOCKET HEAD CAP BOLT ロッカクアナツキホ
゙ルト
M6X20-10.9 A2J (Triva
2
X513
N510017435AA
HEX. SOCKET HEAD CAP BOLT ロッカクアナツキボルト
6 10H A2J (Trivalent)
2
X564
N510018501AA
ROUND PLAIN WASHER ミガキマルヒラザガネ
3 10H A2J (Trivalent)
1
X551
N510018478AA
ROUND PLAIN WASHER コガタマルヒラザガネ
5 10H A2J (Trivalent)
4
X553
N510018480AA
ROUND PLAIN WASHER コガ
タマルヒラザガネ
M4-6H-4T A2J (Trivale
2
X592
N510017855AA
HEXAGON NUT ロッカクナット
M264
FN610130477AA_03-1

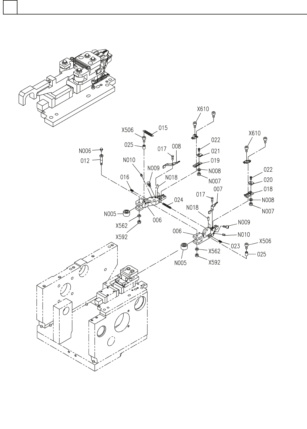
部品加工部(Vカット部(4P)2)
PART PROCESS SECT. (V-CUT SECT.(4P)-2)
20
FN610130477AA_03-2
M265

PART No.
イラスト
No.
REF
No.
PART NAME
REMARKS
Q'TY
20
部品加工部(Vカット部(4P)2)
PART PROCESS SECT. (V-CUT SECT.(4P)-2)
部 品 名 品 番 個数
備 考
R
1
R
2
1006 N210149093AA
LEVER レハ
゙ー
1
007 X01L1301202
LEVER レバー
1
008 X01L1301302
LEVER レバー
2012 X01A13008
PIN ヒ
゚ン
1015 X01A13029
SPRING ハ
゙ネ
1
016 X01A13030
SPRING アッシュクバネ
2
017 X01A13033
PIN ピン
1018 N210133270AB
CUTTER カッター
1019 N210133271AB
CUTTER カッター
1
020 N210124716AA
GUIDE ガイド
1021 N210124717AA
GUIDE ガイド
2022 X01A13038
PIN ヒ
゚ン
1
023 X01A13042
SPRING アッシュクバネ
1
024 X01A13044
SPRING アッシュクバネ
2025 X01A13054
SPRING HOOK バネカケ
NART6UUVR
2
N005
N531NART-060
ROLLER FOLLOWER ローラフォロア
NP3.2X3.5
2
N006
N560NP3.23.5
GREASE NIPPLE グリスニップル
M2.5-6H-4T A2J (Triva
2
N007
N510017841AA
HEXAGON NUT ロッカクナット
2.5 10H A2J (Trivalen
2
N008
N510041286AA
ROUND PLAIN WASHER コガタマルヒラザガネ
M2.5X6-10.9 A2J (Triv
2
N009
N510017246AA
HEX. SOCKET HEAD CAP BOLT ロッカクアナツキホ
゙ルト
M4X16-45H A2J (Trival
2
N010
N510018367AA
HEX. SOCKET SET SCREW ロッカクアナツキトメネジ
MMS2.5-8
4
N018
N510020582AA
PIN ピン
M4X16-10.9 A2J (Triva
2
X506
N510017351AA
HEX. SOCKET HEAD CAP BOLT ロッカクアナツキホ
゙ルト
4 10H A2J (Trivalent)
2
X562
N510018497AA
ROUND PLAIN WASHER ミガ
キマルヒラザガネ
M4-6H-4T A2J (Trivale
2
X592
N510017855AA
HEXAGON NUT ロッカクナット
M3X10-10.9 A2J (Triva
4
X610
N510017305AA
HEX. SOCKET HEAD CAP BOLT ロッカクアナツキボルト
M266
FN610130477AA_03-2