部品手册2N7203A389B03 - 第347页
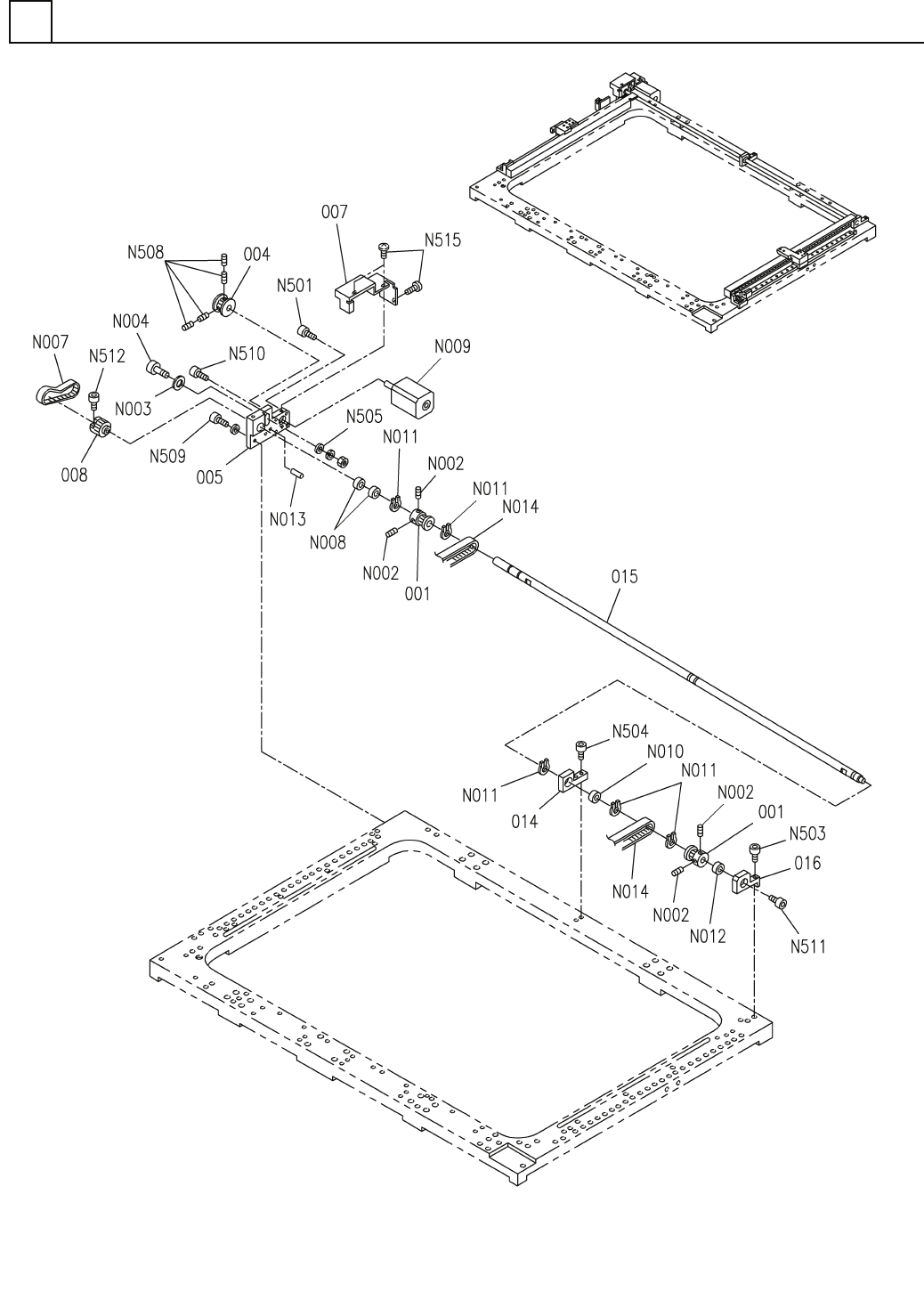
PART No. イラスト No. REF No. PAR T NAME REMARKS Q'TY 24 X-Yテ ーブル部 (自動幅寄せ部 1) X-Y TABLE S ECT.(AUTO WIDTH CONTR OL SECT.-1 ) 部 品 名 品 番 個数 備 考 R 1 R 2 1 N610130241AA AUTO WIDTH CO NTROL UNIT ジト ゙ウハバヨセユニット 2 001 108710…

X-Yテーブル部(自動幅寄せ部1)
X-Y TABLE SECT.(AUTO WIDTH CONTROL SECT.-1)
24
FN610130241AA_01-1
M315

PART No.
イラスト
No.
REF
No.
PART NAME
REMARKS
Q'TY
24
X-Yテーブル部(自動幅寄せ部1)
X-Y TABLE SECT.(AUTO WIDTH CONTROL SECT.-1)
部 品 名 品 番 個数
備 考
R
1
R
2
1 N610130241AA
AUTO WIDTH CONTROL UNIT ジト
゙ウハバヨセユニット
2
001 108710410102
PULLEY プーリー
1
004 108710410403
PULLEY プーリー
1005 108710410502
BRACKET(MOTOR) ブ
ラケット(モータ)
1007 108710410703
COVER(MOTOR) カバー
(モータ)
1
008 108710410802
PULLEY プーリー
1
014 1087104114
BRACKET ブラケット
1015 N210068290AA
SHAFT シャフト
1016 N210068283AA
BRACKET ブラケット
M3X5,STEEL,P.C
4
N002
XXE3C5FP
HEX. SOCKET SET SCREW ロッカクアナツキトメネジ
87FWSSB-D10.0-V6.0-T3
1
N003
N510028564AA
WASHER ザガネ
CF6A
1
N004
N531CF6A
CAM FOLLOWER カムフォロア
196-2GT-9
1
N007
N6411962GT9
BELT ベルト
F688AZZ1
2
N008
KXF0DYPHA00
BEARING ベアリング
103H5331-03GXF4 S
1
N009
N510028188AA
MOTOR モータ
688AZZ1
1
N010
KXF0E2FJA00
BEARING ベ
アリング
STW-8
5
N011
KXF04D1AA00
RETAINING RING C-TYPE,SHAFT C ガタジクヨウトメワ
606ZZ
1
N012
KXF00KFAA00
BALL BEARING ボールベアリング
3X8,m6A,STEEL
1
N013
XPJ3A8FW
PARALLEL PIN ヘイコウピン
994-2GT-9
2
N014
N6419942GT9
BELT(TIMING) ベルト
(タイミング)
M3X8-10.9 A2J (Trival
2
N501
N510017341AA
HEX. SOCKET HEAD CAP BOLT ロッカクアナツキボルト
M4X12-10.9 A2J (Triva
2
N503
N510017346AA
HEX. SOCKET HEAD CAP BOLT ロッカクアナツキボルト
M4X20-10.9 A2J (Triva
2
N504
N510017354AA
HEX. SOCKET HEAD CAP BOLT ロッカクアナツキホ
゙ルト
6 10H A2J (Trivalent)
1
N505
N510018501AA
ROUND PLAIN WASHER ミガ
キマルヒラザガネ
M3X4-45H A2S (Trivale
4
N508
N510018421AA
HEX. SOCKET SET SCREW ロッカクアナツキトメネジ
M5X16-10.9 A2J (Triva
2
N509
N510017395AA
HEX. SOCKET HEAD CAP BOLT ロッカクアナツキボルト
M3X12-10.9 A2J (Triva
2
N510
N510017308AA
HEX. SOCKET HEAD CAP BOLT ロッカクアナツキホ
゙ルト
M4X8-10.9 A2J (Trival
1
N511
N510017381AA
HEX. SOCKET HEAD CAP BOLT ロッカクアナツキボルト
M3X10-10.9 A2J (Triva
2
N512
N510017305AA
HEX. SOCKET HEAD CAP BOLT ロッカクアナツキボルト
M3X6-4.8 A2J (Trivale
3
N515
N510018253AA
TRUSS HEAD SCREW トラスコネジ
M316
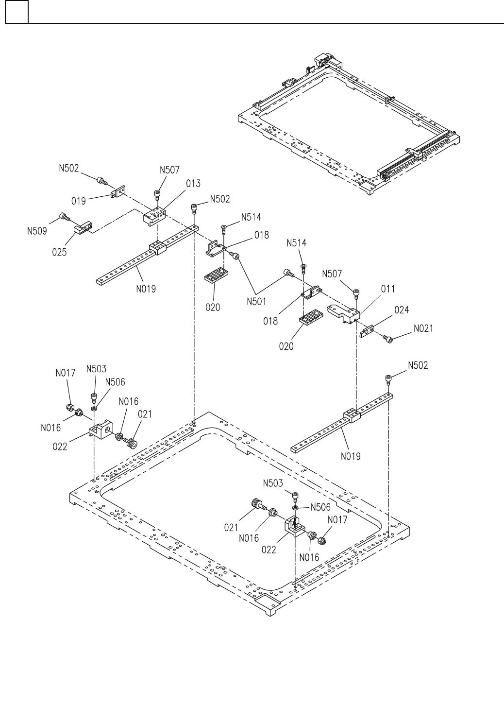
FN610130241AA_01-1

X-Yテーブル部(自動幅寄せ部2)
X-Y TABLE SECT.(AUTO WIDTH CONTROL SECT.-2)
24
FN610130241AA_01-2
M317