部品手册2N7203A389B03 - 第360页
ローダ・アン ローダ部(P-P USH部) LOADER & UNLOADER SEC T.(P-PUSH SECT.) 25 FN610128927AA _03 M329

PART No.
イラスト
No.
REF
No.
PART NAME
REMARKS
Q'TY
25
ローダ・アンローダ部(アンローダ自動幅寄せ部2)
LOADER & UNLOADER SECT.(UNLOADER AUTO WIDTH CONTROL SECT.-2)
部 品 名 品 番 個数
備 考
R
1
R
2
1001 N210152374AD
PLATE フ
゚レート
1
002 N210152523AE
PLATE プレート
2
003 1099705118
PULLEY プーリー
4004 N210149411AA
PLATE フ
゚レート
2011 X02P05031
SPACER スヘ
゚ーサ
1
012 N210149414AA
RACK ラック
1
013 N210151259AA
PULLEY プーリー
1014 N210149417AC
BRACKET(MOTOR) ブ
ラケット(モータ)
1015 N210151258AA
PULLEY プーリー
1
016 N210149416AA
PIN ピン
1017 N210149420AA
COLLAR カラー
1018 N210152755AB
BLOCK フ
゙ロック
1
019 N210156079AA
DOG FOR SENSOR ドグ
1
020 N210156064AA
BRACKET ブラケット
1021 N210156324AA
PLATE プレート
1022 N210154679AA
BRACKET フ
゙ラケット
1
023 N210066364AA
BRACKET ブラケット
M6
1
N002
N510020101AA
WASHER ザガネ
M4
1
N004
N510020099AA
WASHER ワッシャ
103H5331-03GXF4 S
1
N005
N510028188AA
MOTOR モータ
MB019200
4
N006
N510058700AA
PULLEY プーリ
0IK1GN-CW2J
2
N008
N510031297AA
MOTOR モータ
0GN9K
2
N009
N510058907AA
GEAR HEAD ギ
ヤーヘッド
F688ZZ
2
N013
KXF020PAA00
BALL BEARING ボールヘ
゙アリング
P914S1
1
N015
N310P914S1
SENSOR センサ
P919T
2
N016
N310P919T
SWITCH スイッチ
BN1206 M4X8
1
N019
N510015166AA
BOLT ホ
゙ルト
1080-EV5GT-9
1
N020
N510059529AA
BELT ベルト
M5X6-10.9 A2J (Trival
16
N501
N510017414AA
HEX. SOCKET HEAD CAP BOLT ロッカクアナツキボルト
M5X12-10.9 A2J (Triva
3
X508
N510017390AA
HEX. SOCKET HEAD CAP BOLT ロッカクアナツキボルト
M3X6-10.9 A2J (Trival
9
X609
N510017337AA
HEX. SOCKET HEAD CAP BOLT ロッカクアナツキホ
゙ルト
M3X12-10.9 A2J (Triva
4
X503
N510017308AA
HEX. SOCKET HEAD CAP BOLT ロッカクアナツキボルト
M5X16-10.9 A2J (Triva
2
X509
N510017395AA
HEX. SOCKET HEAD CAP BOLT ロッカクアナツキボルト
M4X25-10.9 A2J (Triva
1
X618
N510017360AA
HEX. SOCKET HEAD CAP BOLT ロッカクアナツキボルト
M4X8-10.9 A2J (Trival
6
X615
N510017381AA
HEX. SOCKET HEAD CAP BOLT ロッカクアナツキホ
゙ルト
M3X50-10.9 A2J (Triva
8
N502
N510017332AA
HEX. SOCKET HEAD CAP BOLT ロッカクアナツキボルト
M4X8-45H A2J (Trivale
2
N503
N510018440AA
HEX. SOCKET SET SCREW ロッカクアナツキトメネジ
M5X35-6g 4T A2J (Triv
1
N504
N510017749AA
HEXAGON HEAD BOLT ロッカクホ
゙ルト
M4-6H-4T A2J (Trivale
8
X592
N510017855AA
HEXAGON NUT ロッカクナット
M5-6H-4T A2J (Trivale
2
X593
N510017862AA
HEXAGON NUT ロッカクナット
M3X5-4.8 A2J (Trivale
2
N505
N510018251AA
TRUSS HEAD SCREW トラスコネジ
M6-6H-4T A2J (Trivale
1
X594
N510017867AA
HEXAGON NUT ロッカクナット
M3X8-45H A2J (Trivale
1
N506
N510018426AA
HEX. SOCKET SET SCREW ロッカクアナツキトメネジ
4 10H A2J (Trivalent)
2
X552
N510018479AA
ROUND PLAIN WASHER コガカマルヒラザガネ
M3X8-10.9 A2J (Trival
4
X502
N510017341AA
HEX. SOCKET HEAD CAP BOLT ロッカクアナツキボルト
M5X15-10.9 A2J (Triva
2
N507
N510017394AA
HEX. SOCKET HEAD CAP BOLT ロッカクアナツキホ
゙ルト
M5X12-6g 4T A2J (Triv
1
N509
N510017741AA
HEXAGON HEAD BOLT ロッカクボルト
M4X6-10.9 A2J (Trival
2
X504
N510017376AA
HEX. SOCKET HEAD CAP BOLT ロッカクアナツキボルト
M328
FN610128954AA_04-2

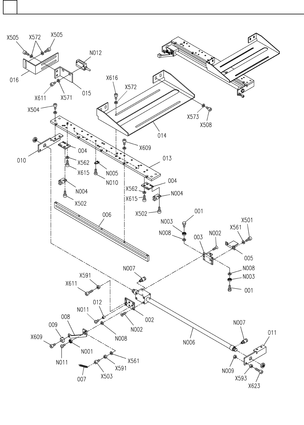
ローダ・アンローダ部(P-PUSH部)
LOADER & UNLOADER SECT.(P-PUSH SECT.)
25
FN610128927AA_03
M329

PART No.
イラスト
No.
REF
No.
PART NAME
REMARKS
Q'TY
25
ローダ・アンローダ部(P-PUSH部)
LOADER & UNLOADER SECT.(P-PUSH SECT.)
部 品 名 品 番 個数
備 考
R
1
R
2
1 N610128927AA
P-PUSH UNIT P-PUSH
ユニット
2
001 1011682502
BOLT ボルト
1
002 101168250301
PLATE プレート
1003 1011682504
BRACKET フ
゙ラケット
2004 1011682505
PLATE プレート
1
005 1011682506
PLATE プレート
1
006 101168250701
PLATE プレート
1007 1011682004
SPRING ハ
゙ネ
1008 1011682513
LEVER レハ
゙ー
1
009 1011682514
BLOCK ブロック
1010 101168251501
BRACKET ブラケット
1011 1011682516
BRACKET フ
゙ラケット
1
012 1011682524
COLLAR カラー
1
013 N210162939AA
PLATE プレート
1014 N210151403AA
BRACKET ブラケット
1015 N210151185AA
BRACKET フ
゙ラケット
1
016 N210151186AA
BRACKET ブラケット
MF104ZZ
1
N001
KXF05XFAA00
BALL BEARING ボールベアリング
M3X6-4.8 A2J (Trivale
8
N002
N510018158AA
FLUSH HEAD SCREW サラコネジ
MR104ZZ
2
N003
KXF05XUAA00
BALL BEARING ボールヘ
゙アリング
P914SB1
2
N004
N310P914SB1
SENSOR センサ
CTAM1
4
N005
KXFP6F86A00
CLAMP クランプ
CY3B10-350-DCJ605CJ
1
N006
N510023175AA
CYLINDER シリンタ
゙
POC6-M5M
2
N007
N431P0C6M5M
FITTING ツキ
゙テ
87FWSSB-D6.0-V4.0-T1.
3
N008
N510031417AA
WASHER ザガネ
BN 150 M5
1
N009
N510061918AA
NUT ナット
M4X6-4.8 A2J (Trivale
4
N010
N510018279AA
TRUSS HEAD SCREW トラスコネシ
゙
M4X8
2
N011
N986YYYY-F96
BOLT ボルト(テイトウロッカクアナツキ)
P919T
1
N012
N310P919T
SWITCH スイッチ
M3X5-10.9 A2J (Trival
2
X501
N510017333AA
HEX. SOCKET HEAD CAP BOLT ロッカクアナツキボルト
M3X8-10.9 A2J (Trival
2
X502
N510017341AA
HEX. SOCKET HEAD CAP BOLT ロッカクアナツキホ
゙ルト
M3X12-10.9 A2J (Triva
1
X503
N510017308AA
HEX. SOCKET HEAD CAP BOLT ロッカクアナツキボルト
M4X6-10.9 A2J (Trival
4
X504
N510017376AA
HEX. SOCKET HEAD CAP BOLT ロッカクアナツキボルト
M5X12-10.9 A2J (Triva
4
X508
N510017390AA
HEX. SOCKET HEAD CAP BOLT ロッカクアナツキボルト
3 10H A2J (Trivalent)
5
X561
N510018494AA
ROUND PLAIN WASHER ミガキマルヒラサ
゙ガネ
4 10H A2J (Trivalent)
4
X562
N510018497AA
ROUND PLAIN WASHER ミガキマルヒラザガネ
M3
2
X571
N510020098AA
WASHER ザガネ
M4
8
X572
N510020099AA
WASHER ワッシャ
M5
4
X573
N510020100AA
WASHER ザ
ガネ
M3-6H-4T A2J (Trivale
2
X591
N510017849AA
HEXAGON NUT ロッカクナット
M5-6H-4T A2J (Trivale
1
X593
N510017862AA
HEXAGON NUT ロッカクナット
M3X6-10.9 A2J (Trival
6
X609
N510017337AA
HEX. SOCKET HEAD CAP BOLT ロッカクアナツキホ
゙ルト
M3X16-10.9 A2J (Triva
3
X611
N510017313AA
HEX. SOCKET HEAD CAP BOLT ロッカクアナツキボルト
M4X8-10.9 A2J (Trival
4
X615
N510017381AA
HEX. SOCKET HEAD CAP BOLT ロッカクアナツキボルト
M4X10-10.9 A2J (Triva
4
X505
N510017344AA
HEX. SOCKET HEAD CAP BOLT ロッカクアナツキボルト
M4X12-10.9 A2J (Triva
4
X616
N510017346AA
HEX. SOCKET HEAD CAP BOLT ロッカクアナツキホ
゙ルト
M5X25-10.9 A2J (Triva
1
X623
N510017399AA
HEX. SOCKET HEAD CAP BOLT ロッカクアナツキボルト
M330
FN610128927AA_03