部品手册2N7203A389B03 - 第42页
Z軸フレーム部 (40ステ ーション1) Z-AXIS FRAM E SECT.(4 0 STATION-1) 2 FN610123554AB_01-1 M11

PART No.
イラスト
No.
REF
No.
PART NAME
REMARKS
Q'TY
1
本体部(アッパフレーム部)(80ステーション)
MAIN BODY SECT.(UPPER FRAME SECT.)(80 STATION)
部 品 名 品 番 個数
備 考
R
1
R
2
1 N610130671AA
MAIN BODY UNIT ホンタイユニット
1
001 N210150063AA
ARM(RIGHT) アーム(RIGHT)
1
002 N210154604AA
UPPER BASE ベース(アッパー)
1003 N210088041AA
PLATE フ
゚レート
1004 N210088042AA
PLATE プレート
1
005 N210088043AB
PLATE プレート
1
006 N210154605AA
PLATE プレート
1007 N210150064AA
ARM(LEFT) アーム
(LEFT)
MMS10-40
3
N001
N510020647AA
PIN ヒ
゚ン
MMS8-15
3
N002
N510020629AA
PIN ピン
M12X35-10.9 A2J (Triv
7
N501
N510017190AA
HEX. SOCKET HEAD CAP BOLT ロッカクアナツキボルト
12 10H A2J (Trivalent
7
N502
N510018507AA
WASHER ヒラサ
゙ガネ
M10X25-10.9 A2J (Triv
25
X648
N510017166AA
HEX. SOCKET HEAD CAP BOLT ロッカクアナツキボルト
M12X25-10.9 A2J (Triv
9
N504
N510017188AA
HEX. SOCKET HEAD CAP BOLT ロッカクアナツキボルト
M10
FN610130671AA_02

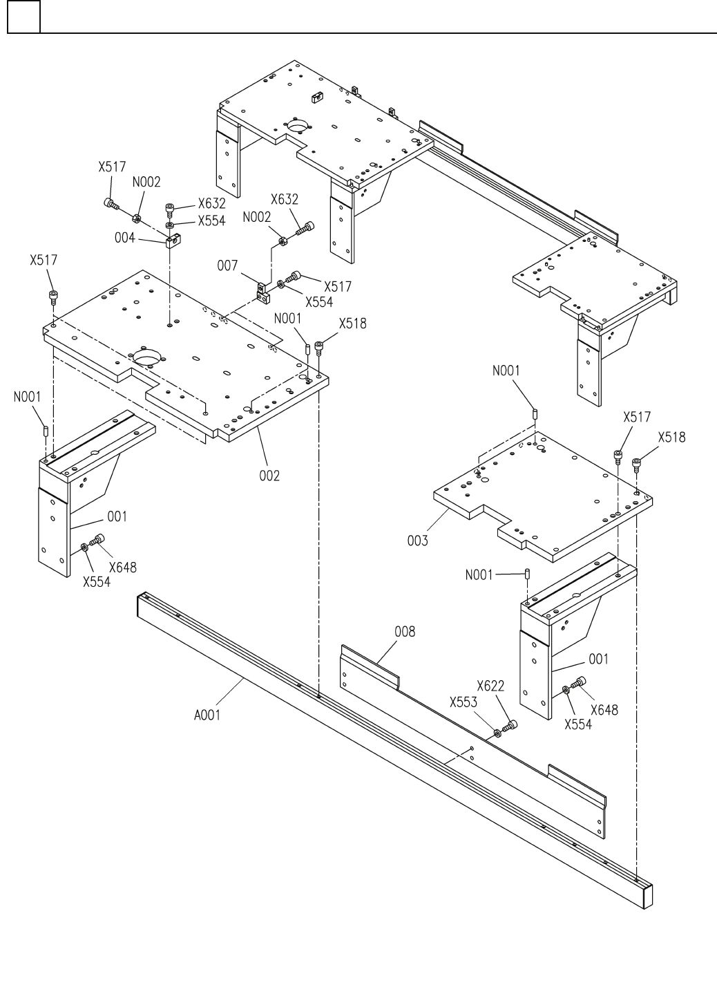
Z軸フレーム部(40ステーション1)
Z-AXIS FRAME SECT.(40 STATION-1)
2
FN610123554AB_01-1
M11

PART No.
イラスト
No.
REF
No.
PART NAME
REMARKS
Q'TY
2
Z軸フレーム部(40ステーション1)
Z-AXIS FRAME SECT.(40 STATION-1)
部 品 名 品 番 個数
備 考
R
1
R
2
1 N610123554AB
Z-AXIS FRAME UNIT Z シ
゙ク フレームユニット
1
A001
N610123862AB
FRAME(SUPPORT) フレーム(サポート)
3
001 N210146334AC
BASE ベース
1002 N210153646AC
PLATE フ
゚レート
1003 N210153647AC
PLATE プレート
1
004 N210155359AA
BLOCK ブロック
2
007 N210155523AA
BRACKET ブラケット
1008 N210156009AA
COVER カハ
゙ー
M8X25-10.9 A2J (Triva
15
X517
N510017473AA
HEX. SOCKET HEAD CAP BOLT ロッカクアナツキホ
゙ルト
M8X30-10.9 A2J (Triva
8
X518
N510017475AA
HEX. SOCKET HEAD CAP BOLT ロッカクアナツキボルト
5 10H A2J (Trivalent)
6
X553
N510018480AA
ROUND PLAIN WASHER コガタマルヒラザガネ
6 10H A2J (Trivalent)
18
X554
N510018481AA
ROUND PLAIN WASHER コガ
タマルヒラザガネ
M5X10-10.9 A2J (Triva
6
X622
N510017386AA
HEX. SOCKET HEAD CAP BOLT ロッカクアナツキボルト
M6X40-10.9 A2J (Triva
6
X632
N510017442AA
HEX. SOCKET HEAD CAP BOLT ロッカクアナツキボルト
M10X25-10.9 A2J (Triv
12
X648
N510017166AA
HEX. SOCKET HEAD CAP BOLT ロッカクアナツキボルト
6X12,h8B,STEEL
8
N001
XPJ6E12FW
PARALLEL PIN ヘイコウヒ
゚ン
M8-6H-4T A2J (Trivale
3
N002
N510017879AA
HEXAGON NUT ロッカクナット
M12
FN610123554AB_01-1