部品手册2N7203A389B03 - 第553页
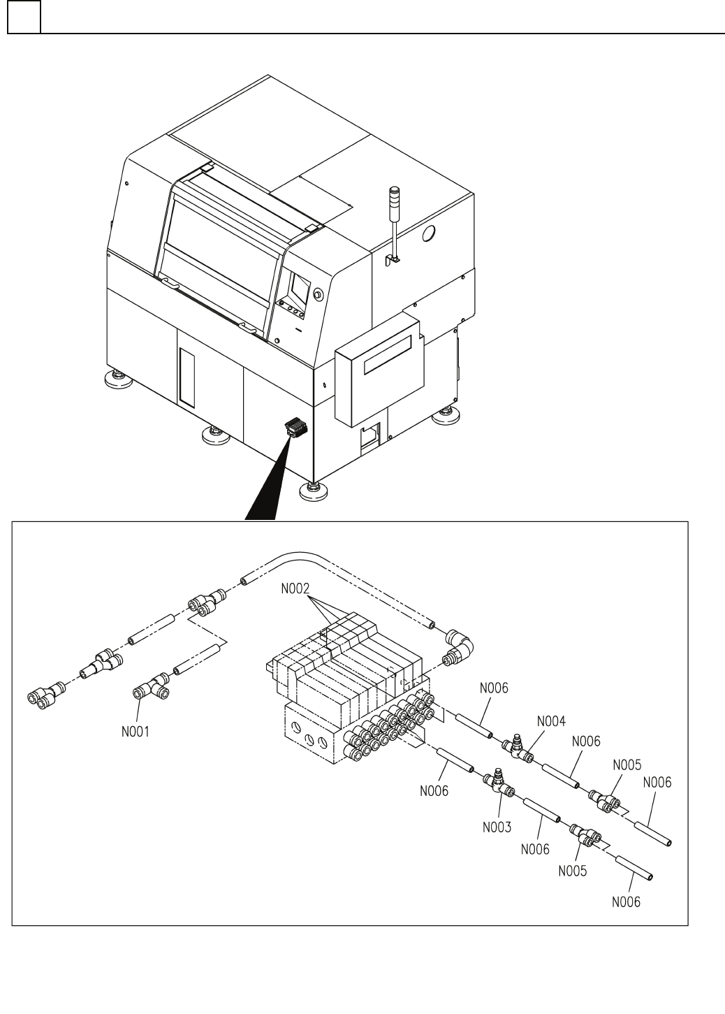
PART No. イラスト No. REF No. PAR T NAME REMARKS Q'TY 1 空圧制御部 (40ステーシ ョン専用部) PNEUMATIC S YSTEM SEC T.(40 STATIO N EXCLUSIV E SECT.) 部 品 名 品 番 個数 備 考 R 1 R 2 1 N610094617AA PNEUMATIC UNI T クウアツユニット KQ2P-10 1 N001 KXF0DZK…

空圧制御部(40ステーション専用部)
PNEUMATIC SYSTEM SECT.(40 STATION EXCLUSIVE SECT.)
1
FN610094617AA_00_A
P11

PART No.
イラスト
No.
REF
No.
PART NAME
REMARKS
Q'TY
1
空圧制御部(40ステーション専用部)
PNEUMATIC SYSTEM SECT.(40 STATION EXCLUSIVE SECT.)
部 品 名 品 番 個数
備 考
R
1
R
2
1 N610094617AA
PNEUMATIC UNIT クウアツユニット
KQ2P-10
1
N001
KXF0DZKSA00
PLUG プラグ
P12
FN610094617AA_00_A

空圧制御部(80ステーション専用部)
PNEUMATIC SYSTEM SECT.(80 STATION EXCLUSIVE SECT.)
1
FN610131884AA_00
P13