部品手册2N7203A389B03 - 第557页
PART No. イラスト No. REF No. PAR T NAME REMARKS Q'TY 1 空圧制御部( リード屑 ケースユニット) PNEUMATIC S YSTEM SEC T.(DUST BOX UNIT) 部 品 名 品 番 個数 備 考 R 1 R 2 1 N610114835AA DUST BOX UNIT リート ゙クズケースユニット 1 A001 N610070306AA DUST BOX UN…

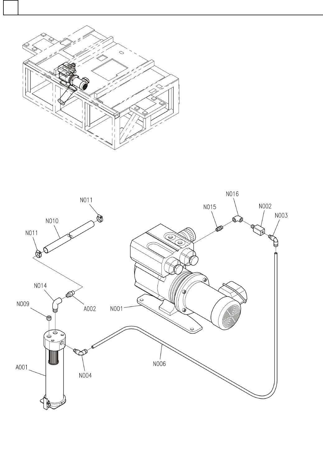
空圧制御部(リード屑ケースユニット)
PNEUMATIC SYSTEM SECT.(DUST BOX UNIT)
1
FN610114835AA_01_A
P15

PART No.
イラスト
No.
REF
No.
PART NAME
REMARKS
Q'TY
1
空圧制御部(リード屑ケースユニット)
PNEUMATIC SYSTEM SECT.(DUST BOX UNIT)
部 品 名 品 番 個数
備 考
R
1
R
2
1 N610114835AA
DUST BOX UNIT リート
゙クズケースユニット
1
A001
N610070306AA
DUST BOX UNIT リードクズケースユニット
1
A002
N610089213AA
HOSE UNION ホースユニオン
KRF15A-V-01
1
N001
N510055614AA
VACUUM PUMP シンクウホ
゚ンプ
AKH12B-03S
1
N002
N510035100AA
VALVE バ
ルブ
KQ2L12-99
1
N003
KXF0DZJ4A00
FITTING ツギテ
KQ2L12-03S
1
N004
KXF0DZJAA00
FITTING ツギテ
TU1208W-20
1
N006
KXF0DXNQA00
TUBE チューフ
゙
87MSWT3
1
N009
N510040734AA
PLUG プ
ラグ
TS-15
1
N010
N434TS15
HOSE ホース
FS-25
2
N011
N462FS25
BAND ホースバンド
VSL-03
1
N014
N510044940AA
JOINT シ
゙ョイント
STNR3/4BX3/8B
1
N015
N510054245AA
JOINT ジョイント
LL3/8B
1
N016
N431LL03
JOINT ジョイント
P16
FN610114835AA_01_A

空圧制御部(RL 4P オプション部)
PNEUMATIC SYSTEM SECT.(FOR RL 4P OPTION SECT.)
1
FN610116535AA_02
P17