部品手册2N7203A389B03 - 第560页
空圧制御部( ボディ修 正)(オプション) PNEUMATIC S YSTEM SEC T.(BODY AMEN D)(OPTION) 1 FN610131860AA_00 P19

PART No.
イラスト
No.
REF
No.
PART NAME
REMARKS
Q'TY
1
空圧制御部(RL 4P オプション部)
PNEUMATIC SYSTEM SECT.(FOR RL 4P OPTION SECT.)
部 品 名 品 番 個数
備 考
R
1
R
2
1 N610116535AA
PNEUMATIC SYSTEM クウアツセイキ
゙ョユニット
1
001 N210137845AA
PLATE プレート
KQ2U10-00
1
N001
KXF0E495A00
FITTING ツギテ
KQ2P-06
2
N005
KXF09ZBAA00
PLUG フ
゚ラグ
TU0604B-20
1
N008
KXF03U6AA00
TUBE チューフ
゙
TU1065B-20
1
N009
KXF03V4AA00
TUBE チューブ
NK-SI-11001
1
N010
N510060051AA
MANIFOLD マニホールド
M4X30-10.9 A2J (Triva
2
X619
N510017361AA
HEX. SOCKET HEAD CAP BOLT ロッカクアナツキホ
゙ルト
M4X35-10.9 A2J (Triva
2
X620
N510017364AA
HEX. SOCKET HEAD CAP BOLT ロッカクアナツキホ
゙ルト
KQ2L10-01S
1
V 1 KXF0E0YFA00
FITTING ツギテ
VV5QZ15-02C6C
1V 2 N510033370AA
MANIFOLD マニホールド
VQZ1151B-5LO1-X555
2V 3 N510055093AA
SOLENOID VALVE ソレノイト
゙バルブ
AN103-01
2
V 4 KXF00W9AA00
SILENCER サイレンサ
87MSWT1
3
V 5 N510023436AA
PLUG プラグ
P18
FN610116535AA_02

空圧制御部(ボディ修正)(オプション)
PNEUMATIC SYSTEM SECT.(BODY AMEND)(OPTION)
1
FN610131860AA_00
P19

PART No.
イラスト
No.
REF
No.
PART NAME
REMARKS
Q'TY
1
空圧制御部(ボディ修正)(オプション)
PNEUMATIC SYSTEM SECT.(BODY AMEND)(OPTION)
部 品 名 品 番 個数
備 考
R
1
R
2
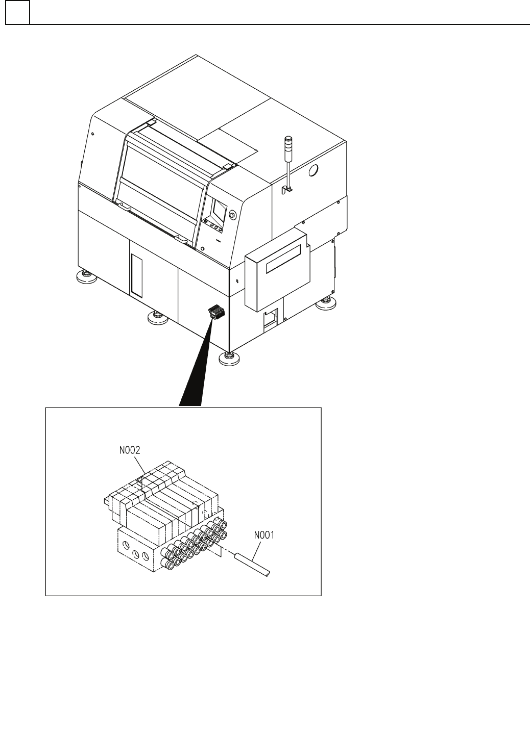
1 N610131860AA
PNEUMATIC UNIT クウアツユニット
TU0604B-20
1
N001
KXF03U6AA00
TUBE チューブ
VQZ1151B-5LO1-X555
1
N002
N510055093AA
SOLENOID VALVE ソレノイドバルブ
P20
FN610131860AA_00