部品手册2N7203A389B03 - 第58页
X-Yテーブル 部(テーブ ル部1) X-Y TABLE S ECT.(TABL E SECT.-1) 4 FN610055746AA_08-3 M27

PART No.
イラスト
No.
REF
No.
PART NAME
REMARKS
Q'TY
4
X-Yテーブル部(Y軸駆動部)
X-Y TABLE SECT.(Y-AXIS DRIVING SECT.)
部 品 名 品 番 個数
備 考
R
1
R
2
(MSMD082PJA) S
1
A003
N610052028AA
MOTOR モータ
1
002 N210084043AB
BRACKET(MOTOR) ブラケット(モータ)
1
004 X01L21011
HOUSING ハウジング
1006 N210068163AB
HOLDER ホルタ
゙
1007 N210027736AA
BEARING ベアリンク
゙
4
008 X00K02068
STOPPER ストッパー
4
009 X00K02069
COLLAR カラー
3012 1087104015
PLATE(Y) フ
゚レート(Y)
1019 N210159522AA
COVER カハ
゙ー
1
028 N210159523AA
BRACKET ブラケット
P921S1
1
N011
N310P921S1
SENSOR センサ
PANADAC921SA1
2
N012
N310P921SA1
SENSOR センサ
SFC-040SA2-13B-19B(SW
1
N014
N510048358AA
COUPLING カップリング
FU02SC
1
N015
KXF0234AA00
LOCK-NUT ロックナット
87FWSSB-D20.0-V15.0-T
1
N016
N510034922AA
WASHER ザガネ
7202ADBP5
1
N017
N510003493AA
BEARING ベ
アリング
6202ZZ
1
N018
XLC6202ZZ
BALL BEARING ボールベアリング
87FWSSB-D20.0-V5.0-T3
1
N019
N510033408AA
WASHER ザガネ
LS-11S/RL S
1
N020
N510030839AA
SWITCH スイッチ
V-M20
1
N021
KXF0DG3AA00
CABLE ケーフ
゙ル
GZ2010ES-ZAPR-0588X05
1
N023
N510048953AA
BALL SCREW ボールネジ
6X10,m6A,STEEL
5
N030
XPJ6A10FW
PARALLEL PIN ヘイコウピン
M3X5-10.9 A2J (Trival
2
N503
N510017333AA
HEX. SOCKET HEAD CAP BOLT ロッカクアナツキホ
゙ルト
M3X10-10.9 A2J (Triva
6
N505
N510017305AA
HEX. SOCKET HEAD CAP BOLT ロッカクアナツキホ
゙ルト
3 10H A2J (Trivalent)
2
N506
N510018494AA
ROUND PLAIN WASHER ミガキマルヒラザガネ
No.2 3 S A2J (Trivale
6
N507
N510018327AA
SPRING WASHER バネザガネ
M4X8-10.9 A2J (Trival
2
N508
N510017381AA
HEX. SOCKET HEAD CAP BOLT ロッカクアナツキホ
゙ルト
M4X10-10.9 A2J (Triva
12
N509
N510017344AA
HEX. SOCKET HEAD CAP BOLT ロッカクアナツキボルト
M4X30-10.9 A2J (Triva
2
N512
N510017361AA
HEX. SOCKET HEAD CAP BOLT ロッカクアナツキボルト
4 10H A2J (Trivalent)
10
N513
N510018497AA
ROUND PLAIN WASHER ミガキマルヒラザガネ
No.2 4 S A2J (Trivale
2
N514
N510018330AA
SPRING WASHER バ
ネザガネ
M5X12-10.9 A2J (Triva
5
N515
N510017390AA
HEX. SOCKET HEAD CAP BOLT ロッカクアナツキボルト
5 10H A2J (Trivalent)
1
N519
N510018499AA
ROUND PLAIN WASHER ミガキマルヒラザガネ
M6X16-10.9 A2J (Triva
4
N520
N510017433AA
HEX. SOCKET HEAD CAP BOLT ロッカクアナツキボルト
M8X30-10.9 A2J (Triva
4
N524
N510017475AA
HEX. SOCKET HEAD CAP BOLT ロッカクアナツキホ
゙ルト
M8X50-10.9 A2J (Triva
2
N525
N510017482AA
HEX. SOCKET HEAD CAP BOLT ロッカクアナツキボルト
8 10H A2J (Trivalent)
2
N526
N510018503AA
WASHER ヒラザガネ
M26
FN610055746AA_08-2

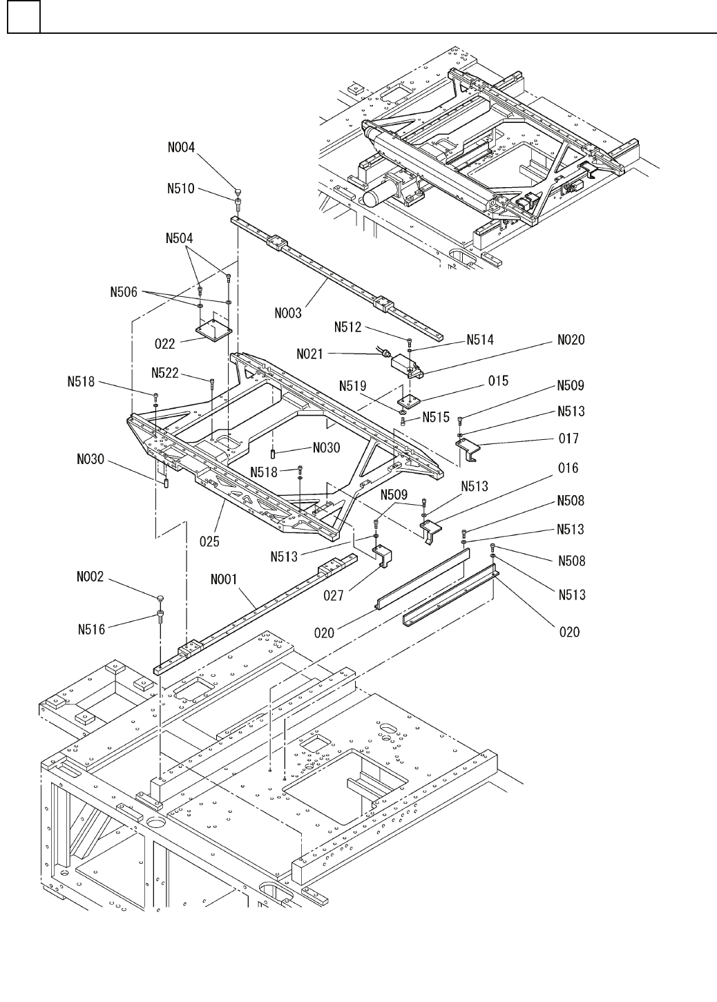
X-Yテーブル部(テーブル部1)
X-Y TABLE SECT.(TABLE SECT.-1)
4
FN610055746AA_08-3
M27

PART No.
イラスト
No.
REF
No.
PART NAME
REMARKS
Q'TY
4
X-Yテーブル部(テーブル部1)
X-Y TABLE SECT.(TABLE SECT.-1)
部 品 名 品 番 個数
備 考
R
1
R
2
1015 X01L21081
PLATE フ
゚レート
1
016 1087104020
BRACKET ブラケット
1
017 1087104021
BRACKET ブラケット
2020 N210084054AA
COVER カハ
゙ー
1022 X01L21106
COVER カハ
゙ー
1
025 N210081970AA
Y-TABLE Y テーブル
1
027 1087104016
DOG FOR SENSOR センサドグ
SSR20XW2UUC1+1130LH-2
2
N001
N513SSR2-A44
LINEAR MOTION UNIT(Y) リニアモーションユニット
(Y)
C5
38
N002
N513C5
CAP キャッフ
゚
SSR15XW2UUC1+1180LHY-
2
N003
N513SSR1-810
LINEAR MOTION UNIT(X) リニアモーションユニット(X)
C4
40
N004
N513C4
CAP キャップ
LS-11S/RL S
1
N020
N510030839AA
SWITCH スイッチ
V-M20
1
N021
KXF0DG3AA00
CABLE ケーブル
6X10,m6A,STEEL
4
N030
XPJ6A10FW
PARALLEL PIN ヘイコウピン
M3X8-10.9 A2J (Trival
4
N504
N510017341AA
HEX. SOCKET HEAD CAP BOLT ロッカクアナツキボルト
3 10H A2J (Trivalent)
4
N506
N510018494AA
ROUND PLAIN WASHER ミガ
キマルヒラザガネ
M4X8-10.9 A2J (Trival
8
N508
N510017381AA
HEX. SOCKET HEAD CAP BOLT ロッカクアナツキボルト
M4X10-10.9 A2J (Triva
6
N509
N510017344AA
HEX. SOCKET HEAD CAP BOLT ロッカクアナツキボルト
M4X16-10.9 A2J (Triva
40
N510
N510017351AA
HEX. SOCKET HEAD CAP BOLT ロッカクアナツキボルト
M4X30-10.9 A2J (Triva
2
N512
N510017361AA
HEX. SOCKET HEAD CAP BOLT ロッカクアナツキホ
゙ルト
4 10H A2J (Trivalent)
14
N513
N510018497AA
ROUND PLAIN WASHER ミガキマルヒラザガネ
No.2 4 S A2J (Trivale
2
N514
N510018330AA
SPRING WASHER バネザガネ
M5X12-10.9 A2J (Triva
2
N515
N510017390AA
HEX. SOCKET HEAD CAP BOLT ロッカクアナツキホ
゙ルト
M5X16-10.9 A2J (Triva
38
N516
N510017395AA
HEX. SOCKET HEAD CAP BOLT ロッカクアナツキホ
゙ルト
M5X30-10.9 A2J (Triva
16
N518
N510017401AA
HEX. SOCKET HEAD CAP BOLT ロッカクアナツキボルト
5 10H A2J (Trivalent)
2
N519
N510018499AA
ROUND PLAIN WASHER ミガキマルヒラザガネ
M6X25-10.9 A2J (Triva
4
N522
N510017437AA
HEX. SOCKET HEAD CAP BOLT ロッカクアナツキホ
゙ルト
M28
FN610055746AA_08-3