部品手册2N7203A389B03 - 第69页
PART No. イラスト No. REF No. PAR T NAME REMARKS Q'TY 5 ローダ・アンロータ ゙部(ロー ダ部2) LOADER & UN LOADER SE CT.(LOADER S ECT.-2) 部 品 名 品 番 個数 備 考 R 1 R 2 1 001 N210152372AE PLATE フ ゚レート 1 002 N210152371AE PLATE プレート 2 003…

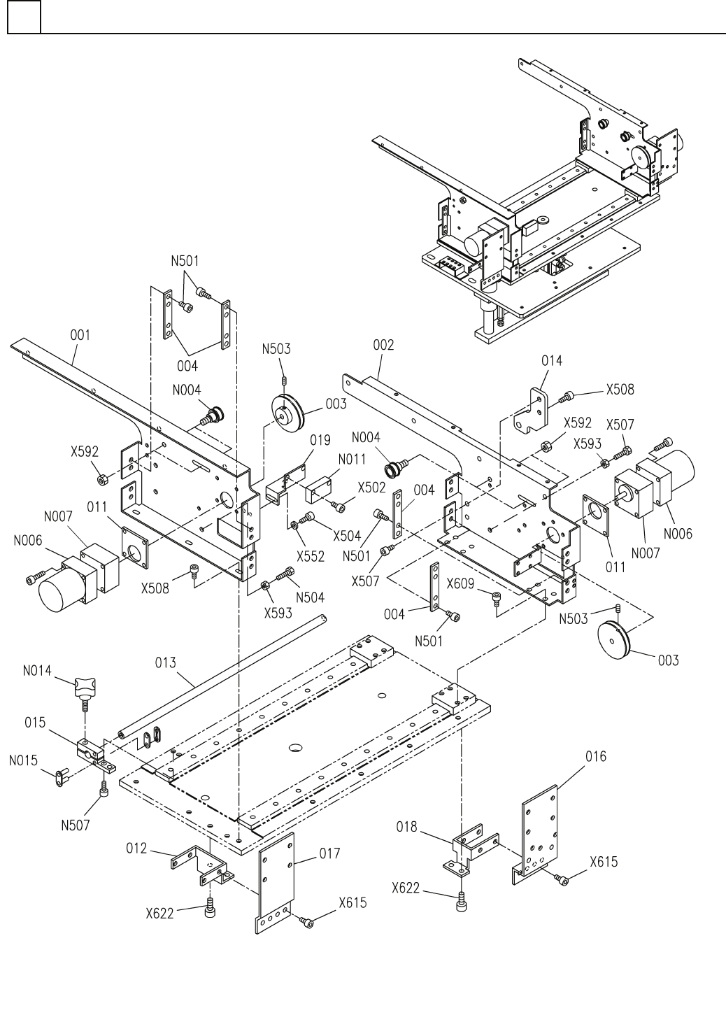
ローダ・アンローダ部(ローダ部2)
LOADER & UNLOADER SECT.(LOADER SECT.-2)
5
FN610128952AA_05-2
M37

PART No.
イラスト
No.
REF
No.
PART NAME
REMARKS
Q'TY
5
ローダ・アンローダ部(ローダ部2)
LOADER & UNLOADER SECT.(LOADER SECT.-2)
部 品 名 品 番 個数
備 考
R
1
R
2
1001 N210152372AE
PLATE フ
゚レート
1
002 N210152371AE
PLATE プレート
2
003 1099705118
PULLEY プーリー
4004 N210149411AA
PLATE フ
゚レート
2011 X02P05031
SPACER スヘ
゚ーサ
1
012 N210150918AA
BRACKET ブラケット
1
013 N210149405AA
SHAFT シャフト
1014 N210149418AB
BRACKET フ
゙ラケット
1015 N210160468AA
STOPPER ストッハ
゚
1
016 N210156064AA
BRACKET ブラケット
1017 N210156324AA
PLATE プレート
1018 N210152757AA
BRACKET フ
゙ラケット
1
019 N210154678AB
BRACKET ブラケット
MB019200
4
N004
N510058700AA
PULLEY プーリ
0IK1GN-CW2J
2
N006
N510031297AA
MOTOR モータ
0GN9K
2
N007
N510058907AA
GEAR HEAD ギ
ヤーヘッド
P919T
1
N011
N310P919T
SWITCH スイッチ
KJMS-32-M6X20
1
N014
N510059093AA
KNOB ノブ
KCM40SUS
1
N015
N510059378AA
CHAIN チェーン
M5X6-10.9 A2J (Trival
16
N501
N510017414AA
HEX. SOCKET HEAD CAP BOLT ロッカクアナツキホ
゙ルト
M5X12-10.9 A2J (Triva
4
X508
N510017390AA
HEX. SOCKET HEAD CAP BOLT ロッカクアナツキボルト
M3X6-10.9 A2J (Trival
8
X609
N510017337AA
HEX. SOCKET HEAD CAP BOLT ロッカクアナツキボルト
M5X10-10.9 A2J (Triva
4
X622
N510017386AA
HEX. SOCKET HEAD CAP BOLT ロッカクアナツキホ
゙ルト
M4X8-10.9 A2J (Trival
4
X615
N510017381AA
HEX. SOCKET HEAD CAP BOLT ロッカクアナツキホ
゙ルト
M5X35-6g 4T A2J (Triv
1
N504
N510017749AA
HEXAGON HEAD BOLT ロッカクボルト
M4-6H-4T A2J (Trivale
4
X592
N510017855AA
HEXAGON NUT ロッカクナット
M5-6H-4T A2J (Trivale
2
X593
N510017862AA
HEXAGON NUT ロッカクナット
M4X8-45H A2J (Trivale
2
N503
N510018440AA
HEX. SOCKET SET SCREW ロッカクアナツキトメネジ
4 10H A2J (Trivalent)
2
X552
N510018479AA
ROUND PLAIN WASHER コガカマルヒラザガネ
M5X8-10.9 A2J (Trival
2
X507
N510017419AA
HEX. SOCKET HEAD CAP BOLT ロッカクアナツキボルト
M5X12-6g 4T A2J (Triv
3
N507
N510017741AA
HEXAGON HEAD BOLT ロッカクホ
゙ルト
M4X6-10.9 A2J (Trival
2
X504
N510017376AA
HEX. SOCKET HEAD CAP BOLT ロッカクアナツキボルト
M3X8-10.9 A2J (Trival
2
X502
N510017341AA
HEX. SOCKET HEAD CAP BOLT ロッカクアナツキボルト
M38
FN610128952AA_05-2

ローダ・アンローダ部(アンローダ部1)
LOADER & UNLOADER SECT.(UNLOADER SECT.-1)
5
FN610128953AA_05-1
M39