部品手册2N7203A389B03 - 第88页
カバー部 (フロントカバ ー部4) COVER SECT. (FRONT CO VER SECT.-4) 6 FN610125946AA_05-4 M57

PART No.
イラスト
No.
REF
No.
PART NAME
REMARKS
Q'TY
6
カバー部(フロントカバー部3)
COVER SECT.(FRONT COVER SECT.-3)
部 品 名 品 番 個数
備 考
R
1
R
2
1009 N210070010AB
BRACKET フ
゙ラケット
1
010 N210071790AA
PLATE プレート
2
011 N210071791AA
BRACKET ブラケット
1013 N210157149AA
BRACKET フ
゙ラケット
1014 N210157150AA
BRACKET ブラケット
1
015 N210093677AB
COVER カバー
EL-10
1
N004
N348EL10
BUSHING FOR WIRING ブッシュ
M5X8-10.9 A2J (Trival
18
X507
N510017419AA
HEX. SOCKET HEAD CAP BOLT ロッカクアナツキホ
゙ルト
5 10H A2J (Trivalent)
18
X563
N510018499AA
ROUND PLAIN WASHER ミガキマルヒラサ
゙ガネ
M56
FN610125946AA_05-3

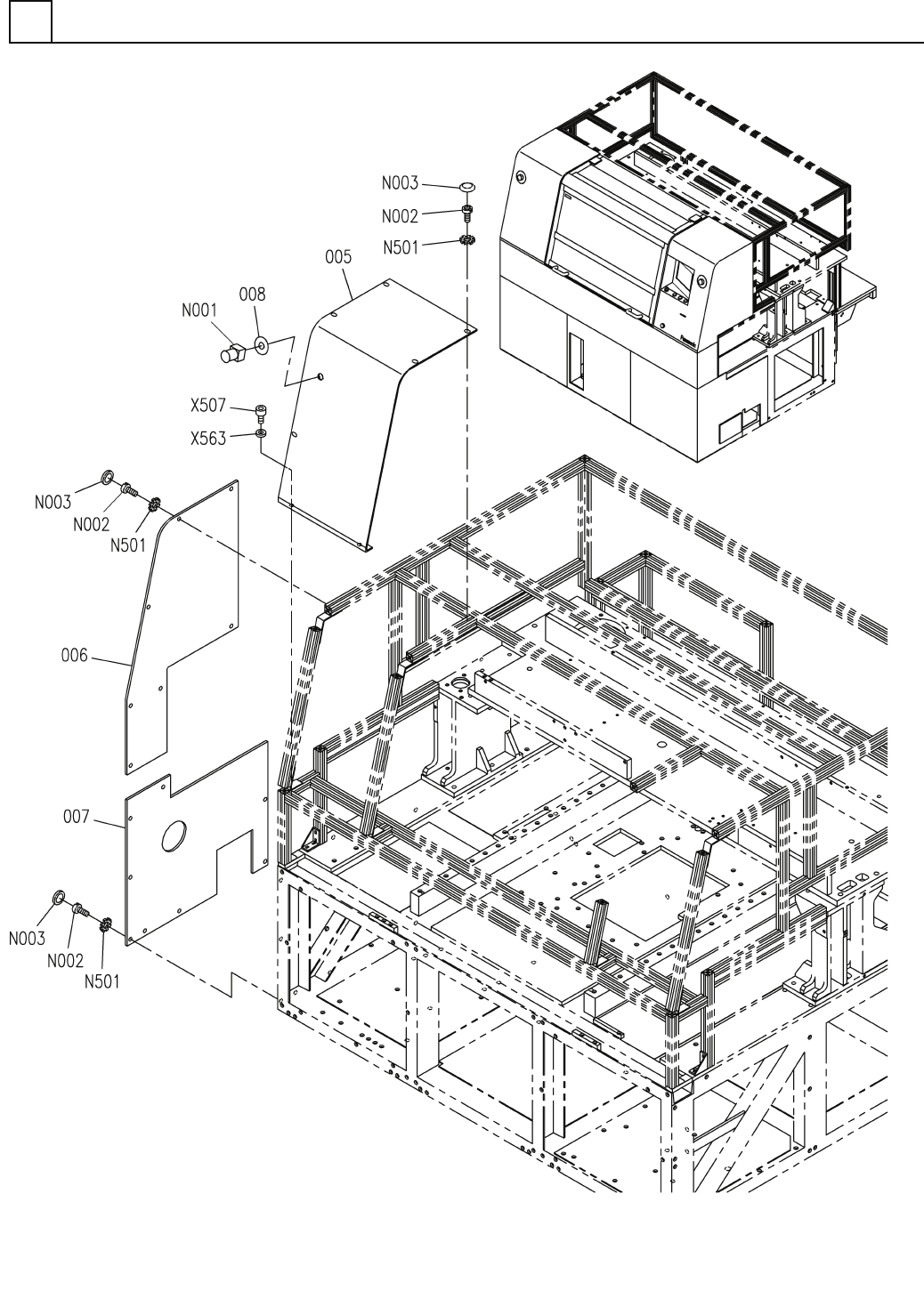
カバー部(フロントカバー部4)
COVER SECT.(FRONT COVER SECT.-4)
6
FN610125946AA_05-4
M57

PART No.
イラスト
No.
REF
No.
PART NAME
REMARKS
Q'TY
6
カバー部(フロントカバー部4)
COVER SECT.(FRONT COVER SECT.-4)
部 品 名 品 番 個数
備 考
R
1
R
2
1005 N210149332AC
COVER カハ
゙ー
1
006 N210149710AB
COVER カバー
1
007 N210154674AC
COVER カバー
1008 3086239031
LABEL ラヘ
゙ル
XW1E-BV402MFR-TK2377 S
1
N001
N510011524AA
SWITCH スイッチ
JB-A M5X8 +
19
N002
N510038044AA
BOLT ボルト
M5X12
19
N003
N986YYYY-814
CAP キャップ
5 External toothed St
19
N501
N510018765AA
TOOTHED LOCK WASHER ハツキサ
゙ガネ
M5X8-10.9 A2J (Trival
2
X507
N510017419AA
HEX. SOCKET HEAD CAP BOLT ロッカクアナツキホ
゙ルト
5 10H A2J (Trivalent)
2
X563
N510018499AA
ROUND PLAIN WASHER ミガキマルヒラザガネ
M58
FN610125946AA_05-4