RS-1-Rev01 - 第59页
- - REF.NO NOTE PA RT NO D E S C R I P T I O N Qty 1 401-46 961 LEFT_ SENS_UNIT 1 2 401-46 990 SENSOR_ BR_A ( 1) 3 HX-0044 000-00 C ABLE BAND (1) 4 401-46 991 SENSOR_ BR_B ( 1) 5 400-01 079 SENSOR BR AKET C (1) 6 400-0…

- -
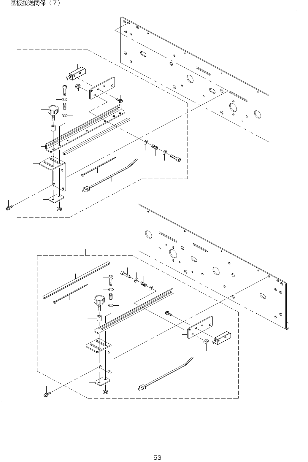
27. PWB CONVEYOR COMPONENTS (7)
3 2
3
1 7
1
3 3
3 3
3 1
1 6
1 5
3 0
2 5
2 6
1 1
1 1
7
1 9
2 6
2 6
2 5
2 4
2 3
2 2
2 0
2 1
2 6
1 1
1 1
1 0
1 0
2 2
9
7
8
4
2
2 7
1 2
6
2 8
2 7
1 8
1 3
1 2
2 9
1 4
5

- -
REF.NO NOTE PART NO D E S C R I P T I O N Qty
1 401-46961 LEFT_SENS_UNIT 1
2 401-46990 SENSOR_BR_A (1)
3 HX-0044000-00 CABLE BAND (1)
4 401-46991 SENSOR_BR_B (1)
5 400-01079 SENSOR BRAKET C (1)
6 400-01076 SENSOR SLIDE PLATE (1)
7 400-00912 SENSOR ADJUST SPRING (3)
8 G6518-880-000 SET PICK-UP (1)
9 400-58815 SPACER (1)
10 SM-6041602-TN SCREW M4X16 (3)
11 WP-0430801-SC WASHER M4 (6)
12 NM-6040002-SE NUT M4X0.7 (3)
13 401-29046 SIDE SENSOR CABLE ASM (1)
14 SL-4031091-SC SCREW M3 L=10 (2)
15 HX-0036700-0A BUSH (0.16)
16 EA-9500B00-00 CABLE BAND (5)
17 401-46962 RIGHT_SENS_UNIT 1
18 400-01079 SENSOR BRAKET C (1)
19 401-46991 SENSOR_BR_B (1)
20 401-46990 SENSOR_BR_A (1)
21 400-01076 SENSOR SLIDE PLATE (1)
22 400-00912 SENSOR ADJUST SPRING (3)
23 G6518-880-000 SET PICK-UP (1)
24 400-58815 SPACER (1)
25 SM-6041602-TN SCREW M4X16 (3)
26 WP-0430801-SC WASHER M4 (6)
27 NM-6040002-SE NUT M4X0.7 (3)
28 401-29046 SIDE SENSOR CABLE ASM (1)
29 SL-4031091-SC SCREW M3 L=10 (1)
30 HX-0036700-0A BUSH (0.16)
31 EA-9500B00-00 CABLE BAND (5)
32 HX-0044000-00 CABLE BAND (1)
33 SL-6031092-TN SCREW M3 L=10 4

- -
28. PWB CONVEYOR COMPONENTS (8)
1 9
2 1
2 4
2 3
2 2
3
1
2
4
8
9
7
9
9
6
5
1 2
1 3
1 6
1 2
1 4
1 7
1 8
1 7
1 8
1 4
1 2
1 7
1 8
1 4
1 2
1 2
1 7
1 4
1 8
1 3
1 6
1 2
1 3
1 6
1 1
1 2
1 2
1 6
1 3
1 5
A
A
1 0
2 0
1 1
1 1
1 1