文档中心
/
Base gantry_20211118_083749
Base gantry_20211118_083749 - 第6页
Base gantry Page 6 / 11 18.11.2021
目录
100%
显示:宽度
宽度
1 / 11
回到旧版
旧版
?
Base gantry
Page 5 / 11
18.11.2021
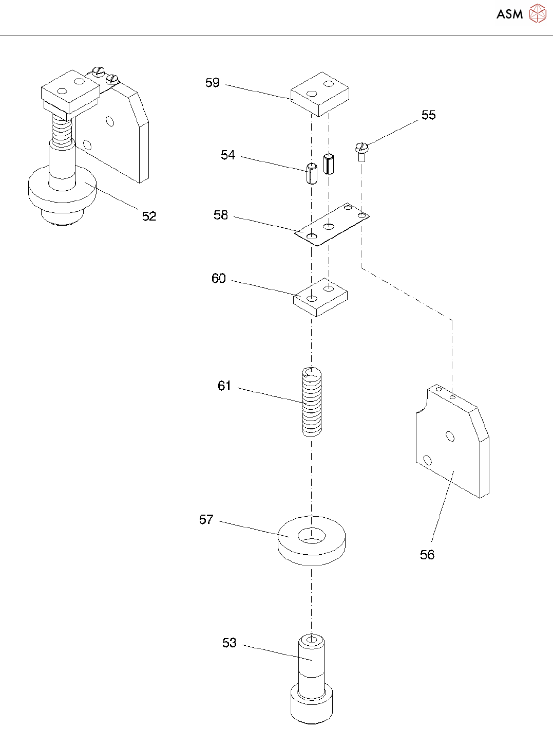
Base gantry
Page 6 / 11
18.11.2021
Base gantry
Page 7 / 11
18.11.2021
该页面需要启用 JavaScript 才能进行交互式预览。