JM-20-Rev08PDF - 第49页
- - REF.NO NOTE PARTNO DESCRIPTION Qty 1 401-37653 H EAD_TOP_ASM 1 2 401-08801 H EAD_TOP_BASE_V2 (1) 3 401-36793 H EAD_TOP_POLE_R (2) 4 400-71576 H EAD_TOP_POLE_L (2) 5 PJ-3030600-01 STRAIGHTUNION (2)…

- -
22.HEADRELATEDCOMPONENTS
2
3
3
4
7
8
9
1 0
1 1
1 2
1 3
1 2
1 3
1 4
1 5
1 6
1 7
1 8
5 1
5 2
5 3
5 65 4 5 5
1 9
3 3
2 1
2 2
2 3
2 4
2 5
2 0
A
2 5
2 6
2 9
2 9
2 8
3 0
3 1
3 2
3 5
3 6
3 7
3 8
3 4
2 7
3 9
4 9
4 8
5 0
6 2
6 4
6 4
6 5
6 6
6 7
6 8
6 9
7 6
7 1
7 3
7 4
7 2
7 5
7 0
6 3
6 4
6 3
6 4
6 0
5 9
5 8
7 8
6 1
7 7
8 0
8 2
8 3
8 3
8 4
8 1
4 7
8 5
4 0
4 2
4 2
4 1
4 2
4
A
C
C
7
8
4 4
4 6
4 6
4 4
4 2
B
B
4 5
4 6
5 7
6
D
D
4 3
4 6
4 3
4 6
4 3
4 6
1
7 9
8
8
7
7
8
7
8
7
5

- -
REF.NO NOTE PARTNO DESCRIPTION Qty
1 401-37653 HEAD_TOP_ASM 1
2 401-08801 HEAD_TOP_BASE_V2 (1)
3 401-36793 HEAD_TOP_POLE_R (2)
4 400-71576 HEAD_TOP_POLE_L (2)
5 PJ-3030600-01 STRAIGHTUNION (2)
6 401-36806 HEAD_TOP_PLATE (1)
7 SM-3051052-TN SCREWM5L=10 (6)
8 WP-0550836-SC WASHER5.5X12X0.8 (6)
9 SL-6041292-TN SCREWM4L=12 (2)
10 WP-0431005-SP PLAINWASHER (2)
11 401-36796 CABLE_BEAR_BR (1)
12 SL-6041292-TN SCREWM4L=12 (6)
13 WP-0431005-SP PLAINWASHER (6)
14 401-37024 FC_SUPPORT_X (1)
15 L153E-321-000 FCRUBBER (3)
16 SL-6051492-TN SCREWM5L=14 (2)
17 WP-0531001-SC WASHERM5 (2)
18 NM-6050001-SC NUTM5X0.8TYPE1 (2)
19 PJ-3040800-02 ELBOW (2)
20 401-37654 4AXIS_SERVO_AMP_ASM (2)
21 401-36794 HEAD_TOP_PCB_PLATE (1)
22 401-29650 4AXISINTEGRALTYPETAXISDRIVER (1)
23 SL-4030891-SC SCREWM3L=8 (9)
24 HX-0009600-0A GROMMET (0.08)
25 SL-6032092-TN SCREWM3L=20 (16)
26 SL-4030891-SC SCREWM3L=8 (18)
27 401-37655 HEAD_TOP_FAN_ASM (1)
28 401-36808 FAN_BR (1)
29 SL-6040892-TN SCREWM4L=8 (3)
30 HX-0029400-00 FIXEDBASE (1)
31 SM-6040802-TN SCREWM4X0.7L=8 (1)
32 401-13708 HEADFANCABLEASM (1)
33 401-36497 HEADFANRELAYCABLEASM (1)
34 WS-0410002-KN SPRINGWASHERM4 (4)
35 SL-4043091-SC SCREWM4L=30 (4)
36 NM-6060001-SC NUTM6X1TYPE1 (4)
37 NM-6040001-SC NUTM4X0.7TYPE1 (4)
38 WP-0430801-SC WASHERM4 (4)
39 401-30384 HEADMAINPCBASM (1)
40 401-36807 HEAD_TOP_COVER (1)
41 401-36795 HEAD_COVER_SHEET (1)
42 SL-6030892-TN SCREWM3L=8 (9)
43 HX-0029400-00 FIXEDBASE (20)
44 HX-0045400-00 TIEMOUNT (7)
45 HX-0034400-00 FIXEDBASE (1)
46 SM-4040601-SC SCREWM4X0.7L=6 (28)
47 SM-4852501-SC SCREW 2
48 WP-0651646-SC WASHER 6
49 SM-3061252-TN SCREWM6L=12 6
50 EA-9002B11-00 GROMMET 0.07
51 EA-9500B01-00 CABLEBAND 20
52 EA-9500B02-00 CABLEBAND 30
53 HX-0006500-0B CABLEBAND 5
54 HX-0009600-00 GROMMET 1
55 HX-0009600-0A GROMMET 1
56 E5348-033-100 GROMMET 0.5
57 401-37647 HEAD_VACUUM_UNIT_ASM 1
58 400-94360 HEAD_COVER (1)
59 SM-6030602-TN SCREWM3X6 (4)
60 E3858-715-000 SEAL (1)
61 E5348-033-100 GROMMET (0.1)
62 401-32730 VACUUMUNIT (1)
63 401-04678 SV_STAND (2)
64 SL-6030692-TN SCREWM3L=6 (8)
65 401-36802 EJECTOR_BR (1)
66 SL-6040892-TN SCREWM4L=8 (4)
67 400-62187 FILTERBOXL70 (1)
68 400-46058 ORINGF1 (6)
69 400-46059 ORINGF2 (6)
70 SL-6031042-TN SCREWM3L=10 (2)
71 400-46646 FILTER (6)
72 400-64231 FILTERBOXU70ASM (1)
73 400-77276 FILTERBOXU (1)
74 400-60551 FILTERSETPIN (6)
75 PJ-3010405-05 HALFUNION (6)
76 SM-6034002-TN SCREWM3L=40 (2)
77 BT-0600400-EC URETHANETUBEBLUE6X4 (2)
78 PJ-3080600-03 UNIONY (3)
79 401-37652 HEAD_UP_SV_ASM 1
80 401-13704 NOZZLEUPSVASM (1)
81 401-36495 NOZZLEUPSVRELAYCABLEASM (1)
82 PJ-3040405-04 UNION (2)
83 PX-0505010-00 SILENCER (2)
84 400-46535 CHECKVALVE (1)
85 WP-0320501-SC WASHERM3 2

- -
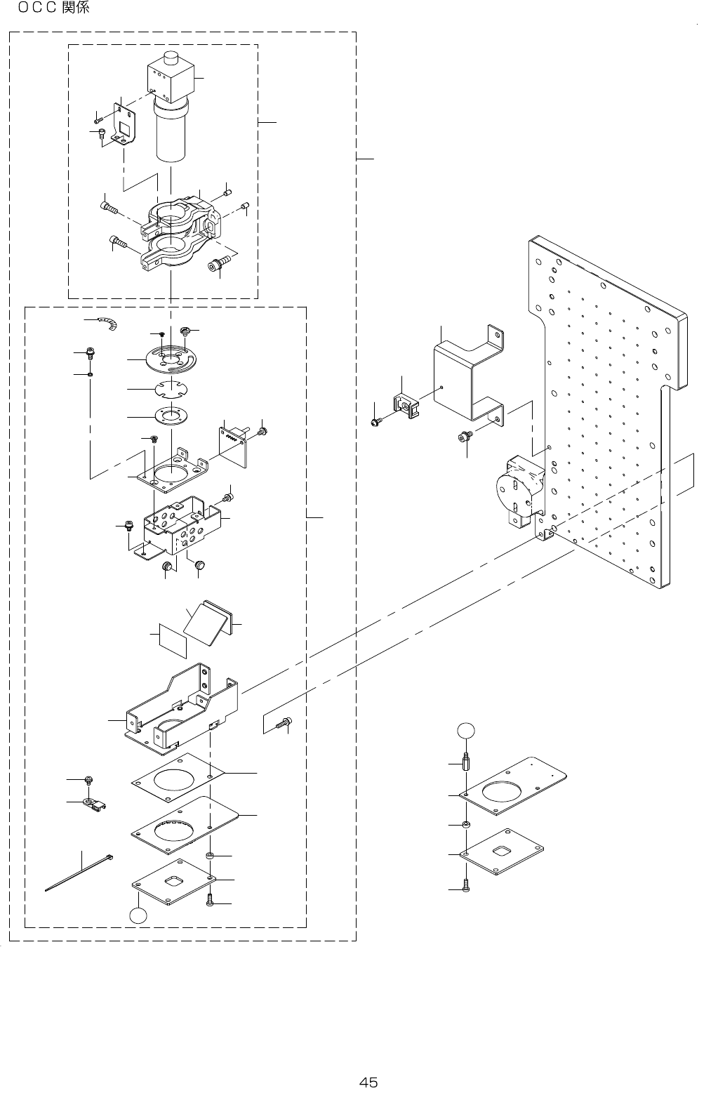
23.OCCCOMPONENTS
4 3
4 2
4 1
4 0
4
4
5
3
7
8
9
1 0
6
6
1 3
1 4
1 5
1 5
1 6
1 7
1 8
1 9
2 0
2 1
2 2
2 3
2 4
2 5
2 6
2 7
2 8
2 9
3 0
3 0
3 1
3 2
3 3
3 4
3 5
3 6
3 7
3 8
1 1
1
A
4 8
4 5
4 4
4 6
4 7
1 2
2
A
3 9