松下NPM-D3配件手册partlist_0FB38 - 第263页
Re f No. Re m arks R 1 Q'ty 13 交換台車支持部(前側):NPM Feeder ca rt support(front s ide):NPM イラスト No. Part No. 品名 品番 数量 R 2 パーツリスト Kit N o. キット品番 Kit N am e キット名称 N610073130AA Part Name 備考 セクションNo. PARTS LIS T Sectio…

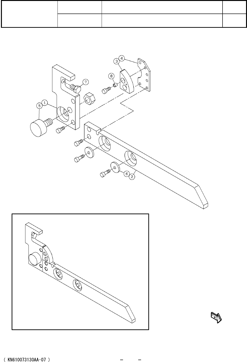
13
交換台車支持部(前側):NPM
Feeder cart support(front side):NPM
パーツレイアウト
Kit No.
キット品番
Kit Name
キット名称
N610073130AA
セクションNo.
PARTS LAYOUT
Section No.
O67

Ref
No.
Remarks R
1
Q'ty
13
交換台車支持部(前側):NPM
Feeder cart support(front side):NPM
イラスト
No.
Part No.
品名品番 数量
R
2
パーツリスト
Kit No.
キット品番
Kit Name
キット名称
N610073130AA
Part Name
備考
セクションNo.
PARTS LIST
Section No.
R
3
PLATE
1
1 N210109720AA
PLATE
1
2 N210091010AB
GUIDE
1
3 N210091012AC
PLATE
1
4 N210091013AA
CAM-FOLLOWER
1
5 N510032929AA CF12VBUUR
WASHER
3
6 N210117333AA
PIN
1
7 N510025091AA 87STEHN13
SPACER
2
8 N510020062AA 3382330-50050
O68

14-A
交換台車(17連):NPM
Feeder Cart(17 Rows):NPM
パーツレイアウト
Kit No.
キット品番
Kit Name
キット名称
N610060938AA
セクションNo.
PARTS LAYOUT
Section No.
O69