松下NPM-D3配件手册partlist_0FB38 - 第439页
Ref No. Re m arks R 1 Q'ty 66 軽量16ノズルヘッド制御:NPM Light W eight 16 Nozzle He ad (H):NPM イラスト No. Part No. 品名 品番 数量 R 2 パーツリスト Kit No. キット品番 Kit Name キット名称 N610159868AA Part Name 備考 セクションNo. PARTS LIS T Sect ion …

66
軽量16ノズルヘッド制御:NPM
Light Weight 16 Nozzle Head (H):NPM
パーツレイアウト
Kit No.
キット品番
Kit Name
キット名称
N610159868AA
セクションNo.
PARTS LAYOUT
Section No.
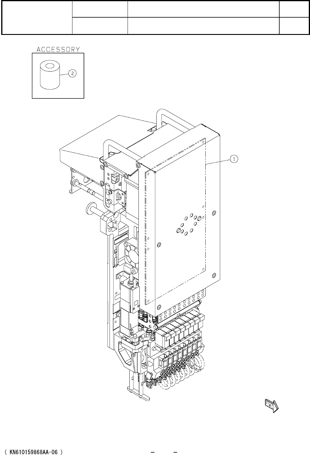
O243

Ref
No.
Remarks R
1
Q'ty
66
軽量16ノズルヘッド制御:NPM
Light Weight 16 Nozzle Head (H):NPM
イラスト
No.
Part No.
品名品番 数量
R
2
パーツリスト
Kit No.
キット品番
Kit Name
キット名称
N610159868AA
Part Name
備考
セクションNo.
PARTS LIST
Section No.
R
3
PCB
1
1 N610164162AA
S
Lighte wight 16 nozzle head Z-axis THETA-axis control board
NOISE-FILTER
1
2 N510041900AA
S
ZCAT2436-1330A
O244

67
付属品(軽量16ノズルヘッド):NPM
Attachment(Light Weight16 NOZZLE HEAD):NPM
パーツレイアウト
Kit No.
キット品番
Kit Name
キット名称
N610160412AA
セクションNo.
PARTS LAYOUT
Section No.
O245