松下NPM-D3配件手册partlist_0FB38 - 第669页
Ref No. Re m arks R 1 Q'ty 147-G 軽量16ノズルヘッドV2メカ Light W eight 16 Nozzle He ad V2(M) イラスト No. Part No. 品名 品番 数量 R 2 パーツリスト Kit No. キット品番 Kit Name キット名称 MTKA006094AA Part Name 備考 セクションNo. PARTS LIS T Sect ion N…

147-G
軽量16ノズルヘッドV2メカ
Light Weight 16 Nozzle Head V2(M)
パーツレイアウト
Kit No.
キット品番
Kit Name
キット名称
MTKA006094AA
セクションNo.
PARTS LAYOUT
Section No.
O473

Ref
No.
Remarks R
1
Q'ty
147-G
軽量16ノズルヘッドV2メカ
Light Weight 16 Nozzle Head V2(M)
イラスト
No.
Part No.
品名品番 数量
R
2
パーツリスト
Kit No.
キット品番
Kit Name
キット名称
MTKA006094AA
Part Name
備考
セクションNo.
PARTS LIST
Section No.
R
3
POST
4
1 MTPA012379AA
POST
2
2 MTPA012380AA
BRACKET
1
3 N210188969AC
COVER
1
4 N210188278AB
PLATE
1
5 N210189259AB
PLATE
1
6 N210125011AC
FAN
1
7 N510044728AA 109P0424H738
SCREW
2
8 XXE3D25FT
Hexagon socket set screw Cup point M3X25-45H SOB
SPACER
4
9 N510029472AA ASF-305E
SPACER
2
10 N510068378AA CL-306E
BOLT
2
11 N510018811AA
Hexagon socket head cap screw M3X18-10.9 A2J (Trivalent)
O474

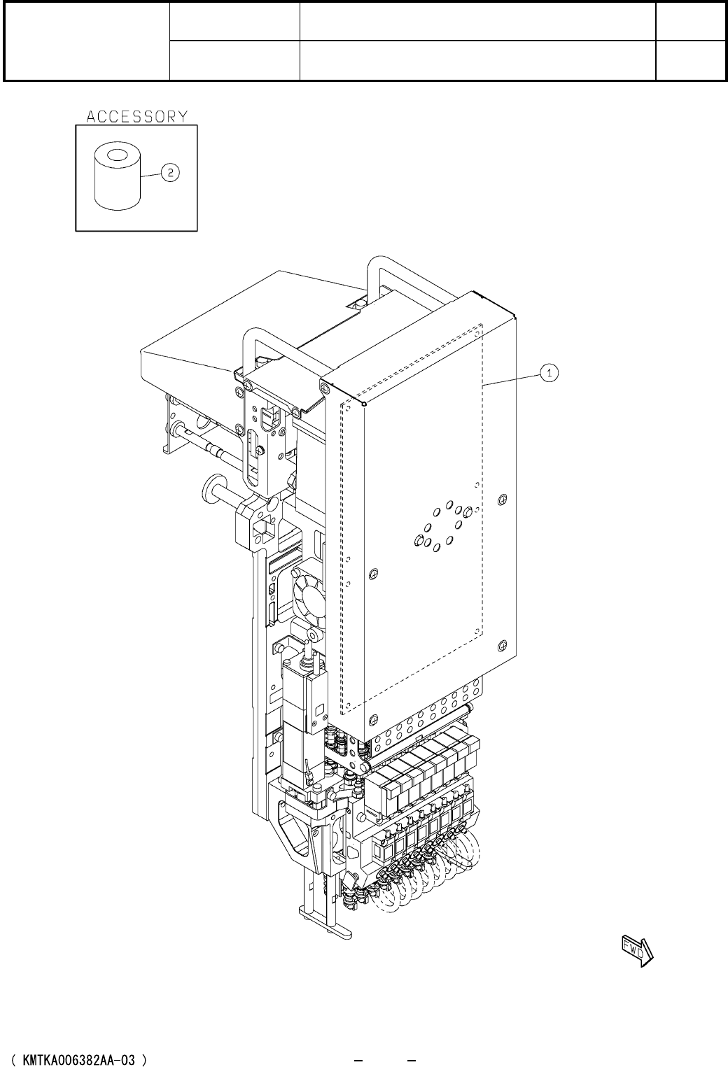
148
軽量16ノズルヘッドV2制御
Light Weight 16 Nozzle Head V2(H)
パーツレイアウト
Kit No.
キット品番
Kit Name
キット名称
MTKA006382AA
セクションNo.
PARTS LAYOUT
Section No.
O475