松下NPM-D3配件手册partlist_0FB38 - 第76页
16 ヘッドカメラ:NPM Head Camera: NPM パーツレイアウト Kit No. キット品番 Kit Name キット名称 N610041187AA セクションNo. PARTS LA YOUT Sectio n No. S55

Ref
No.
Remarks R
1
Q'ty
15
XY軸制御:NPM-D3
XY-Axis (H):NPM-D3
イラスト
No.
Part No.
品名品番 数量
R
2
パーツリスト
Kit No.
キット品番
Kit Name
キット名称
N610157814AA
Part Name
備考
セクションNo.
PARTS LIST
Section No.
R
3
PCB
2
1 N610112763AB
S
NPM highly accurate beem LED control PCB
NOISE-FILTER
8
2 J0KG00000014
S
ZCAT3035-1330
SHIELD
2
3 KXFP6GNSA00 FGC-8-M4
NOISE-FILTER
2
4 N510044950AA
S
E04SR150718
NOISE-FILTER
2
5 N510044951AA
S
E04SR200932
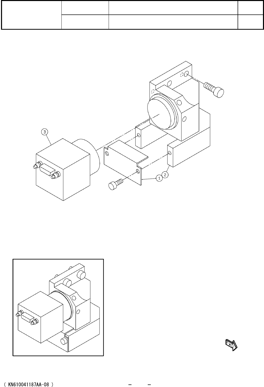
S54

16
ヘッドカメラ:NPM
Head Camera:NPM
パーツレイアウト
Kit No.
キット品番
Kit Name
キット名称
N610041187AA
セクションNo.
PARTS LAYOUT
Section No.
S55

Ref
No.
Remarks R
1
Q'ty
16
ヘッドカメラ:NPM
Head Camera:NPM
イラスト
No.
Part No.
品名品番 数量
R
2
パーツリスト
Kit No.
キット品番
Kit Name
キット名称
N610041187AA
Part Name
備考
セクションNo.
PARTS LIST
Section No.
R
3
BRACKET
1
1 N210067363AA
LENS
1
2 N510027781AA OKP-46X
CAMERA
1
3 N510029003AA
S
CSCX30BC3-10
S56